Оригинальные запчасти на лодочный подвесной мотор Suzuki DF4S/L модель 2011 года - Карбюратор
вконтакте

Контактный телефон: +7 (981) 121-46-93, +7 (800) 200-90-76 , Email: parts-katalog@yandex.ru, где купить

 
 

  Логин:

Пароль:

Регистрация

www.partskatalog.ru Все каталоги Запчасти Mercury Запчасти Suzuki Запчасти Tohatsu Запчасти Honda Контакты



УВАЖАЕМЫЕ КЛИЕНТЫ!
C 19 ДЕКАБРЯ 2025 ПО 02 МАРТА 2026 ГОДА ОТДЕЛ ЗАПЧАСТЕЙ И СЕРВИС РАБОТАТЬ НЕ БУДУТ
ПРОДАЖА ЛОДОЧНЫХ МОТОРОВ В ШТАТНОМ РЕЖИМЕ
ОБ ИЗМЕНЕНИЯХ В ГРАФИКЕ РАБОТЫ ЧИТАЙТЕ НА САЙТА



назад Раздел:   вперёд

Вернуться к выбору узлов мотора


ДЕТАЛИРОВКА ДЛЯ МОДЕЛИ: SUZUKI DF4L(P01) PRD

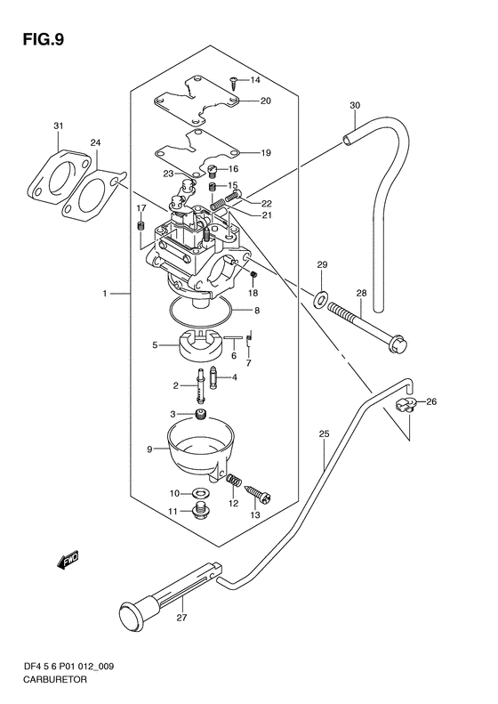
Карбюратор


Код модели двигателя: DF4S/L

Год выпуска двигателя: 2011

Регион: General Export No.1 ,Код региона: P01

Цвет: Shadow Black Metallic

Номер на
рисунке
АртикулНаименованиеQTYКол-во
на складе
Цена
113200-91JQ0-000

Карбюратор в сборе - Carburetor Assy (Карбюратор)

под заказ23330 руб.
113200-91JQ1-000

   (актуальный код замены) Карбюратор в сборе - Carburetor Assy

под заказ23330 руб.
213236-91J50-000

Главная форсунка - Nozzle, Main (Nozzle, main)

под заказ2790 руб.
309491-50L01-000

Главная форсунка (50) - Jet, Main (50) (Jet, main (50); # ) (Jet, main (50))

под заказ1460 руб.
309491-52L01-000

Главная форсунка (52) - Jet, Main (52) (Jet, main (52); # ) (Jet, main (52))

под заказ1220 руб.
309491-54L01-000

Главная форсунка (54) - Jet, Main (54) (Jet, main (54); # ) (Jet, main (54))

1 шт1800 руб.
413371-91J20-000

Игольчатый клапан - Valve, Needle (Valve, needle)

8 шт2600 руб.
513250-97J00-000

Поплавок - Float (Поплавок)

2 шт1850 руб.
613254-97J00-000

Стопор поплавка - Pin, Float (Штифт плавающий)

10 шт300 руб.
713268-97J30-000

Пружина - Spring (Пружина)

20 шт1000 руб.
813251-97J00-000

Прокладка - Gasket (Прокладка)

37 шт420 руб.
913245-97J00-000

Поплавковая камера - Chamber, Float (Камера плавающая)

под заказ1730 руб.
1013249-97J00-000

Прокладка - Gasket (Прокладка)

19 шт240 руб.
1113247-97J00-000

Винт - Screw (Болт)

2 шт920 руб.
1213268-97J10-000

Пружина - Spring (Пружина)

под заказ260 руб.
1313616-97J00-000

Винт - Screw (Болт)

под заказ1730 руб.
1413267-97J00-000

Винт - Screw (Болт)

под заказ170 руб.
1509492-32011-000

Контрольная форсунка (32) - Jet, Pilot (32) (Jet, pilot (32); # ) (Жиклер пропускной (32))

под заказ1110 руб.
1509492-34004-000

Контрольная форсунка (34) - Jet, Pilot (34) (Jet, pilot (34); # ) (Жиклер пропускной (34))

1 шт1110 руб.
1509492-36L01-000

Контрольная форсунка (36) - Jet, Pilot (36) (Jet, pilot (36); # ) (Jet, pilot (36))

под заказ1110 руб.
1613267-97J10-000

Винт - Screw (Болт)

под заказ280 руб.
1709493-22L01-000

Главная воздушная форсунка (110) - Jet, Air Main (110) (Jet, main air (110); # ) (Jet, air main (110))

под заказ1040 руб.
1809493-95L01-000

Форсунка, медленная Air (95) - Jet, Slow Air (95) (Jet, slow air (95); # ) (Jet, air slow (95))

2 шт1380 руб.
1913249-97J10-000

Прокладка - Gasket (Прокладка)

2 шт1090 руб.
1913249-97J11-000

   (актуальный код замены) Прокладка - Gasket

5 шт1090 руб.
2013248-97J00-000

Пластина - Plate (Plate)

под заказ1440 руб.
2113268-97J20-000

Пружина - Spring (Пружина)

7 шт230 руб.
2213534-97J10-000

Винт - Screw (Болт)

2 шт360 руб.
2313267-97J20-000

Винт - Screw (Болт)

под заказ170 руб.
2413125-91J10-000

Прокладка карбюратора - Gasket, Carburetor (Прокладка карбюратора)

20 шт200 руб.
24SM-13125-91J10-000

   (не оригинальный аналог) Прокладка SM-13125-91J10-000 карбюратора

под заказ90 руб.
24SM-13125-91J10-000

  (аналог) Прокладка SM-13125-91J10-000 карбюратора - код 13125-91J10-000

 под заказ шт90 руб.
2513413-91JL0-000

Тяга дросселя - Rod, Choke (Rod, choke)

2 шт820 руб.
2613436-91J00-000

Соединитель тяги дросселя - Connector, Choke Rod (Соединение отбойника)

10 шт360 руб.
2713631-91J00-000

Регулятор дросселя - Knob, Choke (Knob, choke)

21 шт350 руб.
2801547-06857-000

Болт - Bolt (Bolt # ) (Bolt (6x85))

под заказ210 руб.
2908322-01067-000

Шайба - Washer (Шайба)

10 шт160 руб.
3009355-50105-600

Шланг (5x10x600) - Hose (5x10x600) (Hose, fuel (filter to pump) # Hose (5x10x600); L:600->230 # ) (Шланг топливный)

под заказ900 руб.
3009355-50002-600

   (актуальный код замены) Шланг (5x10x600) - Hose (5x10x600)

под заказ900 руб.
3113124-91JL0-000

Изолятор карбюратора - Insulator, Carburetor (Insulator, carburetor)

7 шт820 руб.


Время выполнения запроса 1.1273670196533 сек.

 
 

данный сайт носит информационный характер и не является публичной офертой

склад запчастей для водомоторной техники