Оригинальные запчасти на лодочный мотор Suzuki DF4S/L - Drive shaft housing
вконтакте

Контактный телефон: +7 (981) 121-46-93, +7 (800) 200-90-76 , Email: parts-katalog@yandex.ru, где купить

 
 

  Логин:

Пароль:

Регистрация

www.partskatalog.ru Все каталоги Запчасти Mercury Запчасти Suzuki Запчасти Tohatsu Запчасти Honda Контакты



УВАЖАЕМЫЕ КЛИЕНТЫ!
C 19 ДЕКАБРЯ 2025 ПО 02 МАРТА 2026 ГОДА ОТДЕЛ ЗАПЧАСТЕЙ И СЕРВИС РАБОТАТЬ НЕ БУДУТ
ПРОДАЖА ЛОДОЧНЫХ МОТОРОВ В ШТАТНОМ РЕЖИМЕ
ОБ ИЗМЕНЕНИЯХ В ГРАФИКЕ РАБОТЫ ЧИТАЙТЕ НА САЙТА



назад Раздел:   вперёд

Вернуться к выбору узлов мотора


ДЕТАЛИРОВКА ДЛЯ МОДЕЛИ: SUZUKI DF4L FROM 00402F-210001~ (P03)

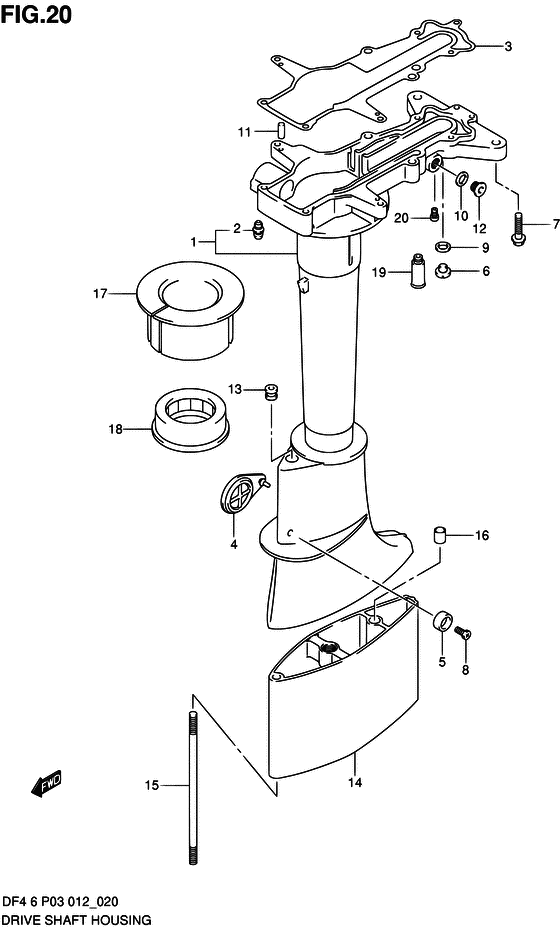
Корпус вала передачи


Код модели двигателя: DF4S/L

Год выпуска двигателя: 2012

Регион: General Export No.1/General South East Asia ,Код региона: P01/P013

Цвет: Shadow Black Metallic

Номер на
рисунке
АртикулНаименованиеQTYКол-во
на складе
Цена
152110-91J00-0EP

Корпус вала передачи (черный цвет) - Housing, Drive Shaft (black) (Housing, drive shaft (black))

под заказ30960 руб.
222511-99011-000

Ниппель смазки - Nipple, Grease (Ниппель)

9 шт400 руб.
352113-91J01-000

Прокладка корпуса вала передачи - Gasket, Drive Shaft Housing (Прокладка вала)

127 шт1890 руб.
3SM-GS-DF5-OLD

   (не оригинальный аналог) Комплект прокладок двигателя Suzuki DF4 / DF5 / DF6 до 2011 года выпуска (кроме гбц)

под заказ1500 руб.
452115-98600-000

Крышка, Сцепление Adj Hole - Cover, Clutch Adj Hole (Крышка муфты)

5 шт820 руб.
555321-87J00-000

Защитный анод - Anode, Protection (Протекторная защита)

1 шт750 руб.
555321-87J01-000

   (актуальный код замены) Защитный анод - Anode, Protection

под заказ850 руб.
5SMO-55321-87J01-000

   (не оригинальный аналог) Защитный анод SMO-55321-87J01-000 (оригинал)

под заказ590 руб.
5SMO-55321-87J01-000

  (аналог) Защитный анод SMO-55321-87J01-000 (оригинал) - код 55321-87J01-000

 под заказ шт585 руб.
609248-10008-000

Заглушка (10x7.5) - Plug (10x75) (Заглушка дренажная 10X7)

120 шт500 руб.
709116-06189-000

Болт (6x38) - Bolt (6x38) (Bolt (6x38))

под заказ360 руб.
709116-06238-000

   (актуальный код замены) Болт (6x38) - Bolt (6x38)

под заказ360 руб.
809103-06281-000

Болт (6x14) - Bolt (6x14) (Bolt, protection anode # ) (Bolt)

6 шт270 руб.
909168-10022-000

Прокладка (10x17x1.5) - Gasket (10x17x15) (Прокладка)

2205 шт150 руб.
1009168-12017-000

Прокладка (12x17x1) - Gasket (12x17x1) (Gasket, drain plug # ) (Gasket (12x17x1))

162 шт270 руб.
1109202-06015-000

Штифт (6x20) - Pin (6x20) (Knock pin # ) (Pin)

12 шт220 руб.
1209248-12007-000

Заглушка (12x9) - Plug (12x9) (Plug # ) (Заглушка)

4 шт720 руб.
1309320-04010-000

Втулка - Bush (Bush # ) (Втулка переключателя)

6 шт190 руб.
1452131-91J20-0EP

Удлинитель копуса (l) - Case, Extension (l) (W/TRANSOM (L) # ) (Case, extension (l))

под заказ18100 руб.
1509108-08092-000

Болт под шпильку - Bolt, Stud (W/TRANSOM (L) # ) (Болт заклепка)

под заказ1420 руб.
1509108-08309-000

   (актуальный код замены) Болт под шпильку - Bolt, Stud

под заказ1420 руб.
1609206-11006-000

Штифт (8.4x11x8) - Pin (84x11x8) (Pin, knock # W/TRANSOM (L) # ) (Pin)

под заказ290 руб.
1754132-91J10-000

Rubber, Крепление вышеr - Rubber, Mount Upr (Резинка верхней опоры)

6 шт2790 руб.
1854162-91J00-000

Rubber, Крепление Lwr - Rubber, Mount Lwr (Резинка нижней опоры)

1 шт2020 руб.
1955181-95200-000

Соединение шланга для промывки - Attachment, Flush Hose (Attachment, flush hose # OPT # ) (Переходник)

2 шт810 руб.
2052117-92D00-000

Трубка контрольной струи - Tube, Water Inspection (Tube, water inspection # ) (Трубка водная)

20 шт550 руб.


Время выполнения запроса 1.289657831192 сек.

 
 

данный сайт носит информационный характер и не является публичной офертой

склад запчастей для водомоторной техники