Купить оригинальные запчасти на лодочный мотор Suzuki DF5S/L - Переключающая тяга
вконтакте

Контактный телефон: +7 (981) 121-46-93, +7 (800) 200-90-76 , Email: parts-katalog@yandex.ru, где купить

 
 

  Логин:

Пароль:

Регистрация

www.partskatalog.ru Все каталоги Запчасти Mercury Запчасти Suzuki Запчасти Tohatsu Запчасти Honda Контакты



УВАЖАЕМЫЕ КЛИЕНТЫ!
C 19 ДЕКАБРЯ 2025 ПО 02 МАРТА 2026 ГОДА ОТДЕЛ ЗАПЧАСТЕЙ И СЕРВИС РАБОТАТЬ НЕ БУДУТ
ПРОДАЖА ЛОДОЧНЫХ МОТОРОВ В ШТАТНОМ РЕЖИМЕ
ОБ ИЗМЕНЕНИЯХ В ГРАФИКЕ РАБОТЫ ЧИТАЙТЕ НА САЙТА



назад Раздел:   вперёд

Вернуться к выбору узлов мотора


ДЕТАЛИРОВКА ДЛЯ МОДЕЛИ: SUZUKI DF5L K8

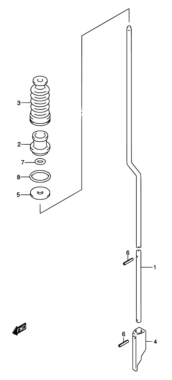
Переключающая тяга


Код модели двигателя: DF5S/L

Год выпуска двигателя: 2008

Цвет: Shadow Black Metallic

Номер на
рисунке
АртикулНаименованиеQTYКол-во
на складе
Цена
125111-91J00-000

Переключающая тяга Set (s) - Shift Rod Set (s) (<-25111-91J20 ->25100-91810 SHIFT ROD SET # )

под заказ2100 руб.
125100-91810-000

   (актуальный код замены) Переключающая тяга Set (s) - Shift Rod Set (s)

3 шт2100 руб.
125100-91810-000

Переключающая тяга Set (s) - Shift Rod Set (s) (Shift rod set (s))

3 шт2100 руб.
125111-91J10-000

Переключающая тяга Set (l) - Shift Rod Set (l) (<-25111-91J30 ->25100-91820 SHIFT ROD SET # )

под заказ2100 руб.
125100-91820-000

   (актуальный код замены) Переключающая тяга Set (l) - Shift Rod Set (l)

под заказ2100 руб.
125100-91820-000

Переключающая тяга Set (l) - Shift Rod Set (l) (Shift rod set (l))

под заказ2100 руб.
125111-91J21-000

Переключающая тяга (s) - Rod, Shift (s) (DF4:680541~ DF5:680661~ DF6:681143~ # ) (Гильза (S))

2 шт820 руб.
125111-91J31-000

Переключающая тяга (l) - Rod, Shift (l) (DF4:680541~ DF5:680661~ DF6:681143~ # ) (Вал передачи (L))

под заказ910 руб.
225211-98601-000

Направляющая переключающей тяги - Guide, Shift Rod (Направляющая переключетеля)

3 шт390 руб.
325222-93901-000

Башмак переключающей тяги - Boot, Shift Rod (Boot, shift rod # ) (Boot shift rod)

1 шт930 руб.
325222-93902-000

   (актуальный код замены) Башмак переключающей тяги - Boot, Shift Rod

23 шт930 руб.
3SK25222-93901

   (не оригинальный аналог) Гофра тяги переключения передач Skipper для Suzuki DT4-5/9.9-15/DF4-15

0 шт176 руб.
425311-91J00-000

Запчасть снята с производства - The Spare Part Is Laid Off (->SHIFT ROD SET 25100-91810 FOR TYPE:S 25100-91820 FOR TYPE:L # )

под заказ0 руб.
425311-91J01-000

Кулачок переключателя - Cam, Shift (DF4:680541~ DF5:680661~ DF6:681143~ # ) (Кулачок переключателя)

под заказ2320 руб.
509160-05501-000

Шайба (5.5x20x1.2) - Washer (55x20x12) (Washer (5.5x20x1.2) # ) (Шайба (5.5X20X1.2))

7 шт140 руб.
609205-02004-000

Стопор пружины (2.5x12) - Pin, Spring (25x12) (Spring pin # DF4:680541~ DF5:680661~ DF6:681143~ # ) (Pin)

13 шт100 руб.
609205-02006-000

Стопор пружины (2x12) - Pin, Spring (2x12) (Pin, spring # ) (Pin)

10 шт140 руб.
709280-05008-000

Уплотнительное кольцо (d: 2.9, Id: 4.8) - O Ring (d:29, Id:48) (O ring (d:2.9 id:4.8) # ) (O ring)

32 шт210 руб.
759291-91J00-000

Уплотнительное кольцо (d: 2.9, Id: 4.8) - O Ring (d:29, Id:48) (MODEL:04~ ->09280-05008 # )

под заказ190 руб.
709280-05008-000

   (актуальный код замены) Уплотнительное кольцо (d: 2.9, Id: 4.8) - O Ring (d:2.9, Id:4.8)

32 шт210 руб.
709280-05008-000

Уплотнительное кольцо (d: 2.9, Id: 4.8) - O Ring (d:29, Id:48) (O ring (d:2.9 id:4.8) # ) (O ring)

32 шт210 руб.
809280-15007-000

Уплотнительное кольцо (d: 2.4, Id: 15.8) - O Ring (d:24, Id:158) (O ring (d:2.4, id:15.8))

27 шт160 руб.
859291-91J20-000

Уплотнительное кольцо (d: 2.4, Id: 15.8) - O Ring (d:24, Id:158) (MODEL:04~ ->09280-15007 # )

под заказ130 руб.
809280-15007-000

   (актуальный код замены) Уплотнительное кольцо (d: 2.4, Id: 15.8) - O Ring (d:2.4, Id:15.8)

27 шт160 руб.
809280-15007-000

Уплотнительное кольцо (d: 2.4, Id: 15.8) - O Ring (d:24, Id:158) (O ring (d:2.4, id:15.8))

27 шт160 руб.


Время выполнения запроса 1.0483219623566 сек.

 
 

данный сайт носит информационный характер и не является публичной офертой

склад запчастей для водомоторной техники