Комплектующие на лодочный мотор Suzuki - Carburetor
вконтакте

Контактный телефон: +7 (981) 121-46-93, +7 (800) 200-90-76 , Email: parts-katalog@yandex.ru, где купить

 
 

  Логин:

Пароль:

Регистрация

www.partskatalog.ru Все каталоги Запчасти Mercury Запчасти Suzuki Запчасти Tohatsu Запчасти Honda Контакты



УВАЖАЕМЫЕ КЛИЕНТЫ!
C 31 ОКТЯБРЯ 2025 ПО 10 НОЯБРЯ 2025 ГОДА РАБОТАТЬ НЕ БУДЕМ



назад Раздел:   вперёд

Вернуться к выбору узлов мотора


ДЕТАЛИРОВКА ДЛЯ МОДЕЛИ: SUZUKI DF5LK10(P1) K10

Карбюратор


Год выпуска двигателя: 2010

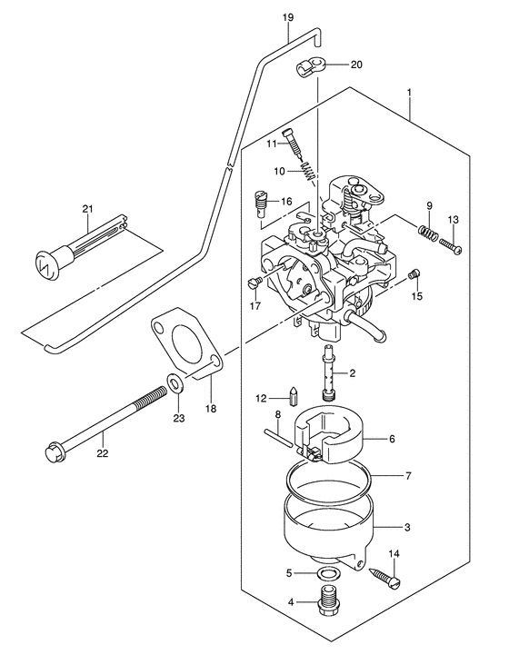
Номер на
рисунке
АртикулНаименованиеQTYКол-во
на складе
Цена
113200-91J00-000

Карбюратор в сборе - Carburetor Assy (Df4 # )

под заказ21270 руб.
113200-91J01-000

   (актуальный код замены) Карбюратор в сборе - Carburetor Assy

под заказ21270 руб.
113200-91J01-000

Карбюратор в сборе - Carburetor Assy (Карбюратор)

под заказ21270 руб.
113200-91J01-000

Карбюратор в сборе - Carburetor Assy (Df4:252804~ # ) (Карбюратор)

под заказ21270 руб.
113200-91J10-000

Карбюратор в сборе - Carburetor Assy (Df5 # ) (Карбюратор)

1 шт24270 руб.
213236-91J00-000

Главная форсунка - Nozzle, Main (Распылитель главный)

под заказ2790 руб.
313245-986A0-000

Поплавковая камера - Chamber, Float (Камера плавающая)

под заказ6630 руб.
413247-986A0-000

Дренажная заглушка - Plug, Drain (Plug, drain # Plug, drain; # ) (Bolt, drain)

под заказ830 руб.
513249-90100-000

Прокладка, Drain, Заглушка - Gasket, Drain, Plug (Gasket, drain plug # Gasket, drain plug; # ) (Прокладка)

4 шт160 руб.
613250-87420-000

Поплавок - Float (Поплавок)

1 шт3650 руб.
713251-87400-000

Прокладка поплавковой камеры - Gasket, Float Chamber (Gasket, float chamber # Gasket, float chamber; # ) (Прокладка)

1 шт620 руб.
813254-98300-000

Стопор поплавка - Pin, Float (Pin, float # Pin, float; # ) (Штифт карбюратора)

под заказ240 руб.
913268-92910-000

Пружина - Spring (Spring # ) (Пружина)

под заказ310 руб.
1013268-96111-000

Пружина, Дроссель Винт - Spring, Throttle Screw (Spring, throttle screw # ) (Пружина)

под заказ350 руб.
1113662-91J00-000

Регулятор - Adjuster (Регулятор)

под заказ810 руб.
1213371-91J00-000

Игольчатый клапан - Valve, Needle (Клапан)

1 шт3110 руб.
1313534-98900-000

Винт дросселя Stop - Screw, Throttle Stop (Screw, throttle stop; # ) (Болт)

под заказ470 руб.
1413279-90000-000

Регулятор - Adjuster (Регулятор)

под заказ600 руб.
1509491-77008-000

Главная форсунка (77.5) - Jet, Main (775) (Jet, main (77.5); # ) (Жиклер главный (77.5))

под заказ970 руб.
1609492-35026-000

Контрольная форсунка (35) - Jet, Pilot (35) (Jet, pilot (35); # ) (Жиклер пропускной (35))

под заказ1460 руб.
1709493-18001-000

Главная форсунка Air (0.9) - Jet, Main Air (09) (Jet, air (0.9) # Jet, air (0.9); # ) (Жиклерпроводник воздуха)

под заказ1380 руб.
1813125-91J00-000

Прокладка карбюратора - Gasket, Carburetor (Прокладка карбюратора)

15 шт260 руб.
1913413-91J00-000

Тяга дросселя - Rod, Choke (Штанга)

3 шт810 руб.
2013436-91J00-000

Соединитель тяги дросселя - Connector, Choke Rod (Соединение отбойника)

12 шт360 руб.
2113631-91J00-000

Регулятор дросселя - Knob, Choke (Knob, choke)

30 шт350 руб.
2201547-06807-000

Болт - Bolt (Bolt)

под заказ190 руб.
2308322-01067-000

Шайба - Washer (Шайба)

10 шт160 руб.


Время выполнения запроса 0.70177102088928 сек.

 
 

данный сайт носит информационный характер и не является публичной офертой

склад запчастей для водомоторной техники