Купить оригинальные запчасти на лодочный мотор Suzuki DF5S/L - Clutch lever - Рычаг сцепления
вконтакте

Контактный телефон: +7 (981) 121-46-93, +7 (800) 200-90-76 , Email: parts-katalog@yandex.ru, где купить

 
 

  Логин:

Пароль:

Регистрация

www.partskatalog.ru Все каталоги Запчасти Mercury Запчасти Suzuki Запчасти Tohatsu Запчасти Honda Контакты



УВАЖАЕМЫЕ КЛИЕНТЫ!
C 19 ДЕКАБРЯ 2025 ПО 02 МАРТА 2026 ГОДА ОТДЕЛ ЗАПЧАСТЕЙ И СЕРВИС РАБОТАТЬ НЕ БУДУТ
ПРОДАЖА ЛОДОЧНЫХ МОТОРОВ В ШТАТНОМ РЕЖИМЕ
ОБ ИЗМЕНЕНИЯХ В ГРАФИКЕ РАБОТЫ ЧИТАЙТЕ НА САЙТА



назад Раздел:   вперёд

Вернуться к выбору узлов мотора


ДЕТАЛИРОВКА ДЛЯ МОДЕЛИ: SUZUKI DF5L FROM 00502F-210001~

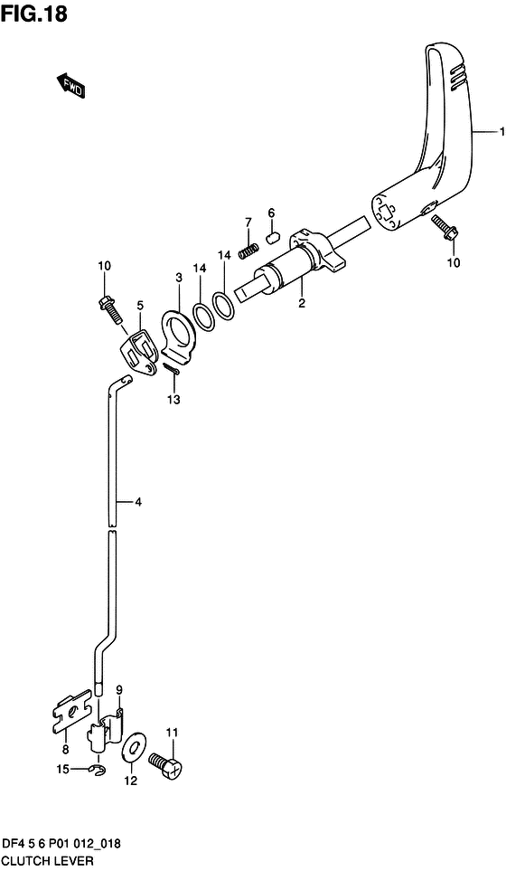
Рычаг сцепления


Код модели двигателя: DF5S/L

Год выпуска двигателя: 2012

Цвет: Shadow Black Metallic

Номер на
рисунке
АртикулНаименованиеQTYКол-во
на складе
Цена
121110-91JL0-000

Рычаг сцепления - Lever, Clutch (Lever, clutch)

2 шт2170 руб.
221120-91J02-000

Пластина в паз сцепления - Plate, Clutch Notch (Плата муфты)

под заказ3510 руб.
321216-91J00-000

Проставка вала сцепления - Spacer, Clutch Shaft (Прокладка вала муфты)

3 шт250 руб.
423111-91J01-000

Тяга сцепления - Rod, Clutch (Штанга муфты)

4 шт2060 руб.
523211-91J00-000

Рукоятка тяги сцепления - Arm, Clutch Rod

под заказ660 руб.
523210-91J00-000

   (актуальный код замены) Рукоятка тяги сцепления - Arm, Clutch Rod

2 шт660 руб.
523210-91J00-000

Рукоятка тяги сцепления - Arm, Clutch Rod (Arm, clutch rod)

2 шт660 руб.
623212-91J00-000

Штифт сцепления Notch - Pin, Clutch Notch (Штифт ручки)

7 шт200 руб.
723213-91J00-000

Пружина в паз сцепления - Spring, Clutch Notch (Пружина муфты)

3 шт270 руб.
823310-91J00-000

Коннектор в сборе, Тяга сцепления №1 - Connector Assy, Clutch Rod No1 (Соединение штифта муфты №1)

5 шт510 руб.
923321-91J00-000

Коннектор тяги сцепления №2 - Connector, Clutch Rod No2 (Соединение штифта муфты №2)

2 шт290 руб.
1029116-93J00-000

Болт - Bolt (Bolt (6x20))

10 шт250 руб.
1109128-06014-000

Болт (6x20) - Bolt (6x20) (Bolt (6x20))

под заказ170 руб.
1109100-06181-000

   (актуальный код замены) Болт - Bolt

под заказ170 руб.
1209160-06145-000

Шайба (6.2x19x3) - Washer (62x19x3) (Washer (6.2x19x3.0) # ) (Шайба)

под заказ190 руб.
1309204-01002-000

Штифт - Pin (Cotter pin # ) (Стопор)

24 шт140 руб.
1409280-16005-000

Уплотнительное кольцо (d: 2.4, Id: 15.8) - O Ring (d:24, Id:158) (O ring, exhaust pipe # ) (O ring)

14 шт180 руб.
1509383-04002-000

Уплотнительное кольцо - E Ring (E ring)

18 шт80 руб.


Время выполнения запроса 1.6505858898163 сек.

 
 

данный сайт носит информационный характер и не является публичной офертой

склад запчастей для водомоторной техники