Оригинальные запчасти на подвесной двигатель SUZUKI DF6S/L модель 2004 года - Румпель
вконтакте

Контактный телефон: +7 (981) 121-46-93, +7 (800) 200-90-76 , Email: parts-katalog@yandex.ru, где купить

 
 

  Логин:

Пароль:

Регистрация

www.partskatalog.ru Все каталоги Запчасти Mercury Запчасти Suzuki Запчасти Tohatsu Запчасти Honda Контакты



УВАЖАЕМЫЕ КЛИЕНТЫ!
C 19 ДЕКАБРЯ 2025 ПО 02 МАРТА 2026 ГОДА ОТДЕЛ ЗАПЧАСТЕЙ И СЕРВИС РАБОТАТЬ НЕ БУДУТ
ПРОДАЖА ЛОДОЧНЫХ МОТОРОВ В ШТАТНОМ РЕЖИМЕ
ОБ ИЗМЕНЕНИЯХ В ГРАФИКЕ РАБОТЫ ЧИТАЙТЕ НА САЙТА



назад Раздел:   вперёд

Вернуться к выбору узлов мотора


ДЕТАЛИРОВКА ДЛЯ МОДЕЛИ: SUZUKI DF6L K4

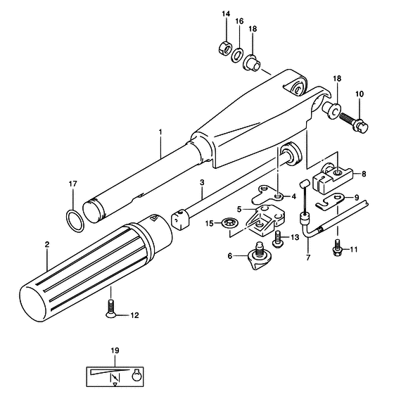
Румпель


Код модели двигателя: DF6S/L

Год выпуска двигателя: 2004

Цвет: Shadow Black Metallic

Номер на
рисунке
АртикулНаименованиеQTYКол-во
на складе
Цена
163111-91J00-0EP

Ручка румпеля - Handle, Tiller

под заказ9120 руб.
163111-91J30-0EP

   (актуальный код замены) Ручка румпеля - Handle, Tiller

1 шт11120 руб.
163111-91J21-0EP

Ручка румпеля - Handle, Tiller (Handle, tiller (black))

2 шт9120 руб.
163111-91J30-0EP

   (актуальный код замены) Ручка румпеля - Handle, Tiller

1 шт11120 руб.
163111-91J20-0EP

Ручка румпеля - Handle, Tiller (MODEL:10 # )

под заказ9120 руб.
163111-91J30-0EP

   (актуальный код замены) Ручка румпеля - Handle, Tiller

1 шт11120 руб.
263210-93E30-000

Рукоятка румпеля - Grip, Handle (Grip, handle # ) (Рукоятка)

1 шт3390 руб.
363221-91J00-000

Тяга румпеля - Rod, Handle (Штанга ручки)

3 шт1740 руб.
463225-98601-000

Пластина регулировки дросселя - Plate, Throttle Adj (Plate, handle # <-63225-91J00 # ) (Плата ручки)

2 шт540 руб.
563241-98601-000

Опора тяги румпеля - Support, Handle Rod (<-63241-986A0 # )

под заказ330 руб.
563241-986B0-000

   (актуальный код замены) Опора тяги румпеля - Support, Handle Rod

1 шт410 руб.
563241-986B0-000

Опора тяги румпеля - Support, Handle Rod (Support, handle rod)

1 шт410 руб.
663244-986A0-000

Ручка регулировки дросселя - Knob, Throttle Adj (Knob, throttle adjust # ) (Рукоятка дросселя)

4 шт480 руб.
763610-91J00-000

(->63610-91J01 W/33833-91J00 # )

под заказнет сведений
733833-91J00-000

Трубка провода переключателя (l: 250) - Tube, Switch Lead (l:250) (Tube # ) (Труба)

под заказ610 руб.
763610-91J04-000

Тросик дросселя, в сборе - Cable Assy, Throttle (Cable assy, throttle)

5 шт2750 руб.
763610-91J01-000

Тросик дросселя, в сборе - Cable Assy, Throttle (DF4:252324~ DF5:253045~ DF6:~511203 # )

под заказ2210 руб.
763610-91J04-000

   (актуальный код замены) Тросик дросселя, в сборе - Cable Assy, Throttle

5 шт2750 руб.
763610-91J04-000

Тросик дросселя, в сборе - Cable Assy, Throttle (Cable assy, throttle)

5 шт2750 руб.
763610-91J02-000

Тросик дросселя, в сборе - Cable Assy, Throttle (DF4/5 MODEL:05 DF6:511204~ # )

под заказ2210 руб.
763610-91J04-000

   (актуальный код замены) Тросик дросселя, в сборе - Cable Assy, Throttle

5 шт2750 руб.
763610-91J04-000

Тросик дросселя, в сборе - Cable Assy, Throttle (Cable assy, throttle)

5 шт2750 руб.
763610-91J03-000

Тросик дросселя, в сборе - Cable Assy, Throttle (MODEL:06~ # )

под заказ2210 руб.
763610-91J04-000

   (актуальный код замены) Тросик дросселя, в сборе - Cable Assy, Throttle

5 шт2750 руб.
7SK63610-91J03

   (не оригинальный аналог) Трос румпеля Skipper для Suzuki DF4-DF6

0 шт622 руб.
763610-91J04-000

Тросик дросселя, в сборе - Cable Assy, Throttle (Cable assy, throttle)

5 шт2750 руб.
863620-91J00-000

Стопор тросика дросселя - Stopper, Throttle Cable (Стопор кабеля)

под заказ1270 руб.
963628-91J00-000

Пластина, Тросик дросселя Стопор - Plate, Throttle Cable Stopper (Плата стопорного кабеля)

1 шт270 руб.
1009116-08097-000

Болт (8x50) - Bolt (8x50)

под заказ420 руб.
1009116-08156-000

   (актуальный код замены) Болт (8x50) - Bolt (8x50)

под заказ420 руб.
1009116-08156-000

Болт (8x50) - Bolt (8x50) (Bolt, gear case (l50))

под заказ420 руб.
1109118-06098-000

Болт (6x25) - Bolt (6x25)

под заказ270 руб.
1109118-06123-000

   (актуальный код замены) Болт (6x25) - Bolt (6x25)

под заказ270 руб.
1109118-06123-000

Болт (6x25) - Bolt (6x25) (Bolt, throttle cable plate (l25))

под заказ270 руб.
1209126-06015-000

Винт (6x23) - Screw (6x23) (Screw # ) (Винт M6X23)

6 шт190 руб.
1309136-05041-000

Винт (5x20) - Screw (5x20) (Screw, rod adjuster # ) (Болт)

4 шт150 руб.
1409140-08023-XC0

Гайка - Nut (Гайка)

14 шт190 руб.
1509148-06008-000

Гайка - Nut (Nut, adjuster knob # <-63246-91J00 # ) (Гайка)

4 шт110 руб.
1609160-08082-000

Шайба (8.5x16x1.2) - Washer (85x16x12) (Шайба)

13 шт120 руб.
1655118-91J00-000

Шайба (8.5x16x1.2) - Washer (85x16x12) (MODEL:03~ ->09160-08082 # )

под заказ120 руб.
1609160-08082-000

   (актуальный код замены) Шайба (8.5x16x1.2) - Washer (8.5x16x1.2)

13 шт120 руб.
1609160-08082-000

Шайба (8.5x16x1.2) - Washer (85x16x12) (Шайба)

13 шт120 руб.
1709280-20004-000

Уплотнительное кольцо (d: 2.4, Id: 19.8) - O Ring (d:24, Id:198) (O ring (d:2.4 id:19.8) # ) (Кольцо крыльчатки)

под заказ130 руб.
1809306-08003-000

Втулка - Bush

под заказ190 руб.
1809306-08016-000

   (актуальный код замены) Втулка - Bush

10 шт190 руб.
1809306-08016-000

Втулка - Bush (Втулка)

10 шт190 руб.
1809306-08016-000

Втулка - Bush (MODEL:03~ # ) (Втулка)

10 шт190 руб.
1969714-91J20-000

Маркировка - запуск двигателя - Mark, Engine Start (<-69714-91J10 # ) (Маркировка стартера)

под заказ210 руб.


Время выполнения запроса 1.5880579948425 сек.

 
 

данный сайт носит информационный характер и не является публичной офертой

склад запчастей для водомоторной техники