| |
 |
|
 |
Вернуться к выбору узлов мотора
ДЕТАЛИРОВКА ДЛЯ МОДЕЛИ: SUZUKI DF6LK6(P1) K6
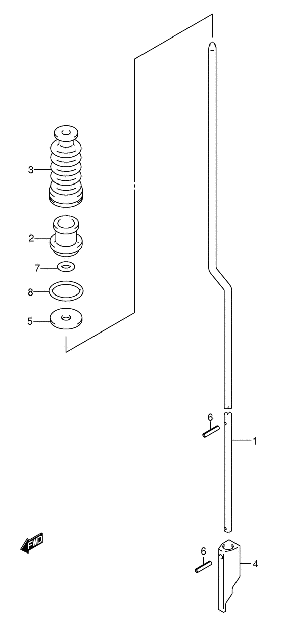
Переключающая тяга
Код модели двигателя: DF6S/L
Год выпуска двигателя: 2006
Регион: General Export No.1 ,Код региона: P01
Цвет: Shadow Black Metallic
Номер на рисунке | Артикул | Наименование | QTY | Кол-во на складе | Цена |
| 1 | 25111-91J00-000 | Переключающая тяга Set (s) - Shift Rod Set (s) (Rod, shift (s); shift rod set # ) | | под заказ | 2100 руб. |
| 1 | 25100-91810-000 | (актуальный код замены) Переключающая тяга Set (s) - Shift Rod Set (s) | | 3 шт | 2100 руб. |
| 1 | 25100-91810-000 | Переключающая тяга Set (s) - Shift Rod Set (s) (Shift rod set (s)) | | 3 шт | 2100 руб. |
| 1 | 25111-91J10-000 | Переключающая тяга Set (l) - Shift Rod Set (l) (Rod, shift (l); shift rod set # ) | | под заказ | 2100 руб. |
| 1 | 25100-91820-000 | (актуальный код замены) Переключающая тяга Set (l) - Shift Rod Set (l) | | под заказ | 2100 руб. |
| 1 | 25100-91820-000 | Переключающая тяга Set (l) - Shift Rod Set (l) (Shift rod set (l)) | | под заказ | 2100 руб. |
| 1 | 25111-91J21-000 | Переключающая тяга (s) - Rod, Shift (s) (Rod, shift (s); Df4:680541~, df5:680661~, df6:681143~ # ) (Гильза (S)) | | 2 шт | 820 руб. |
| 1 | 25111-91J31-000 | Переключающая тяга (l) - Rod, Shift (l) (Rod, shift (l); Df4:680541~, df5:680661~, df6:681143~ # ) (Вал передачи (L)) | | под заказ | 910 руб. |
| 2 | 25211-98601-000 | Направляющая переключающей тяги - Guide, Shift Rod (Направляющая переключетеля) | | 3 шт | 390 руб. |
| 3 | 25222-93901-000 | Башмак переключающей тяги - Boot, Shift Rod (Boot, shift rod # ) (Boot shift rod) | | 1 шт | 930 руб. |
| 3 | 25222-93902-000 | (актуальный код замены) Башмак переключающей тяги - Boot, Shift Rod | | 23 шт | 930 руб. |
| 3 | SK25222-93901 | (не оригинальный аналог) Гофра тяги переключения передач Skipper для Suzuki DT4-5/9.9-15/DF4-15 | | 0 шт | 176 руб. |
| 4 | 25311-91J00-000 | Запчасть снята с производства - The Spare Part Is Laid Off (25100-91810 for type:s, 25100-91820 for type:l # ) | | под заказ | 0 руб. |
| 4 | 25311-91J01-000 | Кулачок переключателя - Cam, Shift (Df4:680541~, df5:680661~, df6:681143~ # ) (Кулачок переключателя) | | под заказ | 2320 руб. |
| 5 | 09160-05501-000 | Шайба (5.5x20x1.2) - Washer (55x20x12) (Washer (5.5x20x1.2) # Washer (5.5x20x1.2); # ) (Шайба (5.5X20X1.2)) | | 7 шт | 140 руб. |
| 6 | 09205-02006-000 | Стопор пружины (2x12) - Pin, Spring (2x12) (Pin, spring # Pin, spring; # ) (Pin) | | 10 шт | 140 руб. |
| 6 | 09205-02004-000 | Стопор пружины (2.5x12) - Pin, Spring (25x12) (Spring pin # Pin, spring; Df4:680541~, df5:680661~, df6:681143~ # ) (Pin) | | 13 шт | 100 руб. |
| 7 | 09280-05008-000 | Уплотнительное кольцо (d: 2.9, Id: 4.8) - O Ring (d:29, Id:48) (O ring (d:2.9 id:4.8) # O ring (d:2.9 id:4.8); # ) (O ring) | | 32 шт | 210 руб. |
| 7 | 59291-91J00-000 | Уплотнительное кольцо (d: 2.9, Id: 4.8) - O Ring (d:29, Id:48) (O ring (d:2.9, id:4.8); Model:04~, # ) | | под заказ | 190 руб. |
| 7 | 09280-05008-000 | (актуальный код замены) Уплотнительное кольцо (d: 2.9, Id: 4.8) - O Ring (d:2.9, Id:4.8) | | 32 шт | 210 руб. |
| 7 | 09280-05008-000 | Уплотнительное кольцо (d: 2.9, Id: 4.8) - O Ring (d:29, Id:48) (O ring (d:2.9 id:4.8) # ) (O ring) | | 32 шт | 210 руб. |
| 8 | 09280-15007-000 | Уплотнительное кольцо (d: 2.4, Id: 15.8) - O Ring (d:24, Id:158) (O ring (d:2.4 id:15.8); # ) (O ring (d:2.4, id:15.8)) | | 27 шт | 160 руб. |
| 8 | 59291-91J20-000 | Уплотнительное кольцо (d: 2.4, Id: 15.8) - O Ring (d:24, Id:158) (O ring (d:2.4 id:15.8); Model:04~, # ) | | под заказ | 130 руб. |
| 8 | 09280-15007-000 | (актуальный код замены) Уплотнительное кольцо (d: 2.4, Id: 15.8) - O Ring (d:2.4, Id:15.8) | | 27 шт | 160 руб. |
| 8 | 09280-15007-000 | Уплотнительное кольцо (d: 2.4, Id: 15.8) - O Ring (d:24, Id:158) (O ring (d:2.4, id:15.8)) | | 27 шт | 160 руб. |
Время выполнения запроса 1.2355020046234 сек. |
|