Найти запчасти на подвесной двигатель Suzuki DF6S/L - Drive shaft housing / Корпус вала передачи
вконтакте

Контактный телефон: +7 (981) 121-46-93, +7 (800) 200-90-76 , Email: parts-katalog@yandex.ru, где купить

 
 

  Логин:

Пароль:

Регистрация

www.partskatalog.ru Все каталоги Запчасти Mercury Запчасти Suzuki Запчасти Tohatsu Запчасти Honda Контакты



УВАЖАЕМЫЕ КЛИЕНТЫ!
C 19 ДЕКАБРЯ 2025 ПО 02 МАРТА 2026 ГОДА ОТДЕЛ ЗАПЧАСТЕЙ И СЕРВИС РАБОТАТЬ НЕ БУДУТ
ПРОДАЖА ЛОДОЧНЫХ МОТОРОВ В ШТАТНОМ РЕЖИМЕ
ОБ ИЗМЕНЕНИЯХ В ГРАФИКЕ РАБОТЫ ЧИТАЙТЕ НА САЙТА



назад Раздел:   вперёд

Вернуться к выбору узлов мотора


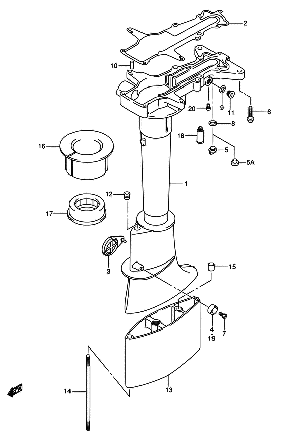
ДЕТАЛИРОВКА ДЛЯ МОДЕЛИ: SUZUKI DF6L K9

Корпус вала передачи


Код модели двигателя: DF6S/L

Год выпуска двигателя: 2009

Цвет: Shadow Black Metallic

Номер на
рисунке
АртикулНаименованиеQTYКол-во
на складе
Цена
152111-91J00-0EP

(->52111-91J20-0EP USED WITH 52117-92D00 09168-10002 09248-10008 # )

под заказнет сведений
109168-10022-000

Прокладка (10x17x1.5) - Gasket (10x17x15) (Прокладка)

2205 шт150 руб.
109248-10008-000

Заглушка (10x7.5) - Plug (10x75) (Заглушка дренажная 10X7)

120 шт500 руб.
152111-91J40-0EP

Корпус вала передачи - Housing, Drive Shaft (Housing, drive shaft)

под заказ46080 руб.
152117-92D00-000

Трубка контрольной струи - Tube, Water Inspection (Tube, water inspection # ) (Трубка водная)

20 шт550 руб.
152111-91J10-0EP

Корпус вала передачи - Housing, Drive Shaft (DF4/5 MODEL:05 DF6:511204~ # )

под заказ46080 руб.
152111-91J40-0EP

   (актуальный код замены) Корпус вала передачи - Housing, Drive Shaft

под заказ46080 руб.
152111-91J40-0EP

Корпус вала передачи - Housing, Drive Shaft (Housing, drive shaft)

под заказ46080 руб.
152111-91J11-0EP

Корпус вала передачи - Housing, Drive Shaft (MODEL:06, 07 # )

под заказ46080 руб.
152111-91J40-0EP

   (актуальный код замены) Корпус вала передачи - Housing, Drive Shaft

под заказ46080 руб.
152111-91J40-0EP

Корпус вала передачи - Housing, Drive Shaft (Housing, drive shaft)

под заказ46080 руб.
152111-91J20-0EP

Корпус вала передачи - Housing, Drive Shaft (MODEL:08, 09 # )

под заказ46080 руб.
152111-91J40-0EP

   (актуальный код замены) Корпус вала передачи - Housing, Drive Shaft

под заказ46080 руб.
152111-91J40-0EP

Корпус вала передачи - Housing, Drive Shaft (Housing, drive shaft)

под заказ46080 руб.
152111-91J40-0EP

Корпус вала передачи - Housing, Drive Shaft (MODEL:10~ # ) (Housing, drive shaft)

под заказ46080 руб.
252113-91J01-000

Прокладка корпуса вала передачи - Gasket, Drive Shaft Housing (Прокладка вала)

127 шт1890 руб.
2SM-GS-DF5-OLD

   (не оригинальный аналог) Комплект прокладок двигателя Suzuki DF4 / DF5 / DF6 до 2011 года выпуска (кроме гбц)

под заказ1500 руб.
352115-98600-000

Крышка, Сцепление Adj Hole - Cover, Clutch Adj Hole (Крышка муфты)

5 шт820 руб.
455321-87J00-000

Защитный анод - Anode, Protection (Протекторная защита)

1 шт750 руб.
455321-87J01-000

   (актуальный код замены) Защитный анод - Anode, Protection

под заказ850 руб.
4SMO-55321-87J01-000

   (не оригинальный аналог) Защитный анод SMO-55321-87J01-000 (оригинал)

под заказ590 руб.
4SMO-55321-87J01-000

  (аналог) Защитный анод SMO-55321-87J01-000 (оригинал) - код 55321-87J01-000

 под заказ шт585 руб.
561155-91J00-000

Трубка контрольной струи - Tube, Water Inspection (DF4/5 MODEL:02~04 DF6:~511203 # ) (Трубка водная)

1 шт320 руб.
509248-10008-000

Заглушка (10x7.5) - Plug (10x75) (DF4/5 MODEL:05~ DF6:511204~ # ) (Заглушка дренажная 10X7)

120 шт500 руб.
609116-06189-000

Болт (6x38) - Bolt (6x38) (Bolt (6x38))

под заказ360 руб.
609116-06238-000

   (актуальный код замены) Болт (6x38) - Bolt (6x38)

под заказ360 руб.
709103-06281-000

Болт (6x14) - Bolt (6x14) (Bolt, protection anode # MODEL:06~ # ) (Bolt)

6 шт270 руб.
709128-06021-000

Болт (6x14) - Bolt (6x14) (Bolt (6x14))

под заказ200 руб.
809168-10022-000

Прокладка (10x17x1.5) - Gasket (10x17x15) (Прокладка)

2205 шт150 руб.
909168-12017-000

Прокладка (12x17x1) - Gasket (12x17x1) (Gasket, drain plug # ) (Gasket (12x17x1))

162 шт270 руб.
1009202-06015-000

Штифт (6x20) - Pin (6x20) (Knock pin # ) (Pin)

12 шт220 руб.
1109248-12007-000

Заглушка (12x9) - Plug (12x9) (Plug # ) (Заглушка)

4 шт720 руб.
1209320-04010-000

Втулка - Bush (Bush # <-25214-91J00 # ) (Втулка переключателя)

6 шт190 руб.
1352131-91J00-0EP

Удлинитель копуса (l) - Case, Extension (l) (TYPE:L # )

под заказ18100 руб.
1352131-91J20-0EP

   (актуальный код замены) Удлинитель копуса (l) (чёрный) - Case, Extension (l) (black)

под заказ18100 руб.
1352131-91J20-0EP

Удлинитель копуса (l) - Case, Extension (l) (Case, extension (l))

под заказ18100 руб.
1352131-91J20-0EP

Удлинитель копуса (l) - Case, Extension (l) (TYPE:L MODEL:10~ # ) (Case, extension (l))

под заказ18100 руб.
1409108-08092-000

Болт под шпильку - Bolt, Stud (TYPE:L # ) (Болт заклепка)

под заказ1420 руб.
1409108-08309-000

   (актуальный код замены) Болт под шпильку - Bolt, Stud

под заказ1420 руб.
1509206-11006-000

Штифт (8.4x11x8) - Pin (84x11x8) (Pin, knock # TYPE:L # ) (Pin)

под заказ290 руб.
1654132-91J00-000

Rubber, Крепление вышеr - Rubber, Mount Upr

под заказ2790 руб.
1654132-91J10-000

   (актуальный код замены) Rubber, Крепление вышеr - Rubber, Mount Upr

6 шт2790 руб.
1654132-91J10-000

Rubber, Крепление вышеr - Rubber, Mount Upr (Резинка верхней опоры)

6 шт2790 руб.
1654132-91J10-000

Rubber, Крепление вышеr - Rubber, Mount Upr (MODEL:03~ # ) (Резинка верхней опоры)

6 шт2790 руб.
1754162-91J00-000

Rubber, Крепление Lwr - Rubber, Mount Lwr (Резинка нижней опоры)

1 шт2020 руб.
1855181-95200-000

Соединение шланга для промывки - Attachment, Flush Hose (Attachment, flush hose # OPT # ) (Переходник)

2 шт810 руб.
1955321-87J10-000

Анод, Magnesium - Anode, Magnesium (OPT # ) (Анод)

под заказ1490 руб.
1955321-87J11-000

   (актуальный код замены) Анод (магниевый) - Anode (magnesium)

27 шт1490 руб.
2052117-92D00-000

Трубка контрольной струи - Tube, Water Inspection (Tube, water inspection # DF4/5 MODEL:05~ DF6:511204~ # ) (Трубка водная)

20 шт550 руб.


Время выполнения запроса 1.6493279933929 сек.

 
 

данный сайт носит информационный характер и не является публичной офертой

склад запчастей для водомоторной техники