| |
 |
|
 |
Вернуться к выбору узлов мотора
ДЕТАЛИРОВКА ДЛЯ МОДЕЛИ: SUZUKI DF6L FROM 00602F-210001~ (P03)
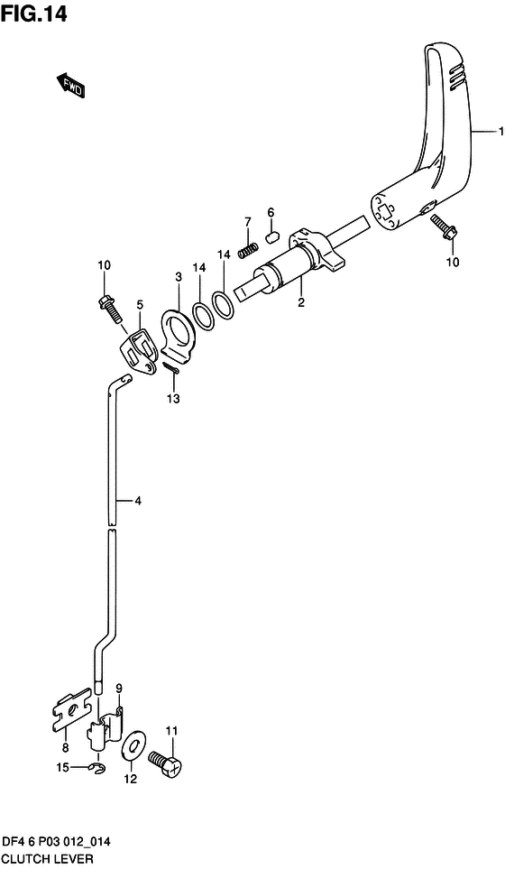
Рычаг сцепления
Код модели двигателя: DF6S/L
Год выпуска двигателя: 2012
Регион: USA ,Код региона: P03
Цвет: Shadow Black Metallic
Номер на рисунке | Артикул | Наименование | QTY | Кол-во на складе | Цена |
| 1 | 21110-91JL0-000 | Рычаг сцепления - Lever, Clutch (Lever, clutch) | | 2 шт | 2170 руб. |
| 2 | 21120-91J02-000 | Пластина в паз сцепления - Plate, Clutch Notch (Плата муфты) | | под заказ | 3510 руб. |
| 3 | 21216-91J00-000 | Проставка вала сцепления - Spacer, Clutch Shaft (Прокладка вала муфты) | | 3 шт | 250 руб. |
| 4 | 23111-91J01-000 | Тяга сцепления - Rod, Clutch (Штанга муфты) | | 4 шт | 2060 руб. |
| 5 | 23210-91J00-000 | Рукоятка тяги сцепления - Arm, Clutch Rod (Arm, clutch rod) | | 2 шт | 660 руб. |
| 6 | 23212-91J00-000 | Штифт сцепления Notch - Pin, Clutch Notch (Штифт ручки) | | 7 шт | 200 руб. |
| 7 | 23213-91J00-000 | Пружина в паз сцепления - Spring, Clutch Notch (Пружина муфты) | | 3 шт | 270 руб. |
| 8 | 23310-91J00-000 | Коннектор в сборе, Тяга сцепления №1 - Connector Assy, Clutch Rod No1 (Соединение штифта муфты №1) | | 5 шт | 510 руб. |
| 9 | 23321-91J00-000 | Коннектор тяги сцепления №2 - Connector, Clutch Rod No2 (Соединение штифта муфты №2) | | 2 шт | 290 руб. |
| 10 | 29116-93J00-000 | Болт - Bolt (Bolt (6x20)) | | 10 шт | 250 руб. |
| 11 | 09128-06014-000 | Болт (6x20) - Bolt (6x20) (Bolt (6x20)) | | под заказ | 170 руб. |
| 11 | 09100-06181-000 | (актуальный код замены) Болт - Bolt | | под заказ | 170 руб. |
| 12 | 09160-06145-000 | Шайба (6.2x19x3) - Washer (62x19x3) (Washer (6.2x19x3.0) # ) (Шайба) | | под заказ | 190 руб. |
| 13 | 09204-01002-000 | Штифт - Pin (Cotter pin # ) (Стопор) | | 24 шт | 140 руб. |
| 14 | 09280-16005-000 | Уплотнительное кольцо (d: 2.4, Id: 15.8) - O Ring (d:24, Id:158) (O ring, exhaust pipe # ) (O ring) | | 15 шт | 180 руб. |
| 15 | 09383-04002-000 | Уплотнительное кольцо - E Ring (E ring) | | 18 шт | 80 руб. |
Время выполнения запроса 0.62315893173218 сек. |
|