Подобрать оригинальные запчасти на лодочный мотор Suzuki DF8AS/L; DF8ARS/L - Карбюратор / Carburetor
вконтакте

Контактный телефон: +7 (981) 121-46-93, +7 (800) 200-90-76 , Email: parts-katalog@yandex.ru, где купить

 
 

  Логин:

Пароль:

Регистрация

www.partskatalog.ru Все каталоги Запчасти Mercury Запчасти Suzuki Запчасти Tohatsu Запчасти Honda Контакты

назад Раздел:   вперёд

Вернуться к выбору узлов мотора


ДЕТАЛИРОВКА ДЛЯ МОДЕЛИ: SUZUKI DF8AL(P01) PRD

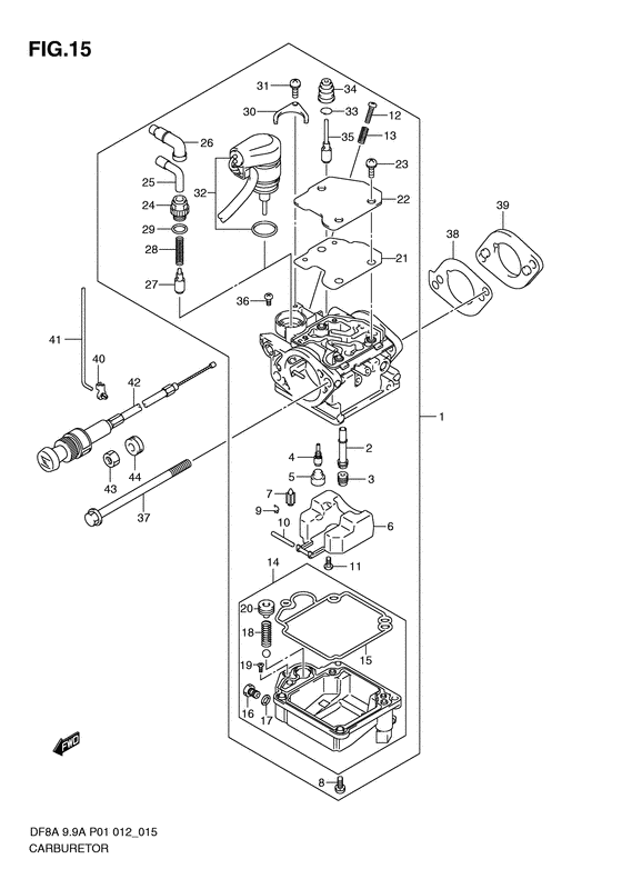
Карбюратор


Код модели двигателя: DF8AS/L; DF8ARS/L

Год выпуска двигателя: 2011

Регион: General Export No.1 ,Код региона: P01

Цвет: Shadow Black Metallic

Номер на
рисунке
АртикулНаименованиеQTYКол-во
на складе
Цена
113200-99J20-000

Карбюратор в сборе - Carburetor Assy (W/manual starter # ) (Карбюратор)

под заказ45360 руб.
113200-99J30-000

Карбюратор в сборе - Carburetor Assy (W/electric satrter # ) (Карбюратор)

под заказ51840 руб.
113200-99J31-000

   (актуальный код замены) Карбюратор в сборе - Carburetor Assy

под заказ51840 руб.
213236-99J20-000

Главная форсунка - Nozzle, Main (Жиклер)

1 шт2100 руб.
309491-82013-000

Главная форсунка (82) - Jet, Main (82) (Jet, main (82); # ) (Jet, main (82))

1 шт1110 руб.
309491-80017-000

Главная форсунка (80) - Jet, Main (80) (Jet, main (80); # ) (Jet, main (80))

под заказ1110 руб.
409492-38011-000

Контрольная форсунка (38) - Jet, Pilot (38) (Jet, pilot (38); # ) (Jet, pilot (38))

2 шт1110 руб.
409492-35033-000

Контрольная форсунка (35) - Jet, Pilot (35) (Jet, pilot (35); # ) (Jet, pilot (35))

3 шт1110 руб.
513239-94J00-000

Колпачок резинки - Cap, Rubber (Крышка резиновая)

1 шт690 руб.
613250-99J00-000

Поплавок - Float (Поплавок)

под заказ3030 руб.
713370-94J00-000

Клапан поплавка - Valve, Float (Клапан)

5 шт2100 руб.
813247-94J00-000

Винт - Screw (Болт)

под заказ760 руб.
913375-26E00-000

Зажим - Clip (Clip)

под заказ430 руб.
1013254-94J00-000

Штифт, Рычаг - Pin, Arm (Штифт ручки)

под заказ290 руб.
1113802-94J00-000

Винт - Screw (Болт)

под заказ280 руб.
1213534-94J00-000

Винт стопора - Screw, Stop (Винт стопорный)

под заказ700 руб.
1313268-94J00-000

Пружина - Spring (Пружина)

под заказ370 руб.
1413240-99J20-000

Chamber в сборе, Fr - Chamber Assy, Fr (W/manual starter # ) (Chamber assy, front)

1 шт9080 руб.
1413240-99J30-000

Chamber в сборе, Fr - Chamber Assy, Fr (W/electric satrter # ) (Chamber assy, front)

под заказ9080 руб.
1513251-99J00-000

Прокладка, Fr Chamber - Gasket, Fr Chamber (Gasket, front chamber)

1 шт970 руб.
1613279-99J00-000

Винт дренажный - Screw, Drain (Винт дренажный)

под заказ460 руб.
1713275-99J00-000

Шайба, Plane - Washer, Plane (Washer, plane)

под заказ480 руб.
1813441-99J00-000

Пружина - Spring (Пружина)

под заказ370 руб.
1913443-99J00-000

Винт, Special - Screw, Special (Screw, special)

под заказ480 руб.
2013493-99J00-000

Плунжер - Plunger (Плунжер)

под заказ1840 руб.
2113283-99J00-000

Прокладка - Packing (Packing)

1 шт680 руб.
2213282-99J00-000

Пластина - Plate (Plate)

под заказ1190 руб.
2313367-94J00-000

Винт - Screw (Болт)

под заказ370 руб.
2413361-99J00-000

Держатель кабеля - Holder, Cable (W/manual starter # ) (Держатель кабеля)

под заказ1200 руб.
2513362-94J00-000

Направляющая, Кабели - Guide, Cable (W/manual starter # ) (Направляющая кабеля)

под заказ1090 руб.
2613363-94J00-000

Колпачок, Кабели Сальникing - Cap, Cable Sealing (W/manual starter # ) (Крышка уплотнения)

под заказ970 руб.
2713364-94J00-000

Клапан, Стартер - Valve, Starter (W/manual starter # ) (Распылитель)

под заказ1330 руб.
2813365-94J00-000

Пружина - Spring (W/manual starter # ) (Пружина)

под заказ370 руб.
2913295-14G00-000

Уплотнительное кольцо - O Ring (W/manual starter # ) (O ring)

2 шт250 руб.
3013428-06F30-000

Пластина - Plate (W/electric satrter # ) (Plate)

под заказ400 руб.
3113367-94J00-000

Винт - Screw (W/electric satrter # ) (Болт)

под заказ370 руб.
3213368-99J00-000

Стартер в сборе - Starter Assy (W/electric starter # ) (Стартер)

под заказ17960 руб.
3213368-99J01-000

   (актуальный код замены) Стартер в сборе - Starter Assy

под заказ17960 руб.
3313494-94J00-000

Зажим - Clip (Clip)

под заказ550 руб.
3413495-94J00-000

Колпачок резинки - Cap, Rubber (Крышка резиновая)

под заказ950 руб.
3513496-99J00-000

Соединительная тяга - Rod, Link (Rod, link)

под заказ1770 руб.
3613281-99J00-000

Винт с чашечкой - Screw, Pan (Screw, pan)

под заказ400 руб.
3709103-06276-000

Болт (6x100) - Bolt (6x100) (Bolt (6x100); # ) (Bolt)

под заказ260 руб.
3813125-99J00-000

Прокладка карбюратора - Gasket, Carburetor (Прокладка карбюратора)

5 шт200 руб.
3913124-99J00-000

Изолятор карбюратора - Insulator, Carburetor (Insulator, carburetor)

под заказ930 руб.
4013436-91J00-000

Соединитель тяги дросселя - Connector, Choke Rod (Connector, throttle rod; # ) (Соединение отбойника)

9 шт360 руб.
4113513-99J00-000

Тяга дросселя - Rod, Throttle (Шпилька)

под заказ300 руб.
4213640-99J00-000

Ручка ручного стартера - Knob Assy, Starter (W/manual starter # )

под заказ2290 руб.
4213640-99JL0-000

   (актуальный код замены) Ручка ручного стартера - Knob Assy, Starter

под заказ2290 руб.
4213640-99JL0-000

Ручка ручного стартера - Knob Assy, Starter (Knob assy, starter)

под заказ2290 руб.
4309159-14014-000

Гайка - Nut (Nut # W/manual starter # ) (Гайка 10MM)

16 шт320 руб.
4409320-10501-000

Подушка - Cushion (W/manual starter # ) (Cushion)

8 шт400 руб.


Время выполнения запроса 3.9821710586548 сек.

 
 

данный сайт носит информационный характер и не является публичной офертой

склад запчастей для водомоторной техники