| |
 |
|
 |
Вернуться к выбору узлов мотора
ДЕТАЛИРОВКА ДЛЯ МОДЕЛИ: SUZUKI DF8ARL(P01) PRD
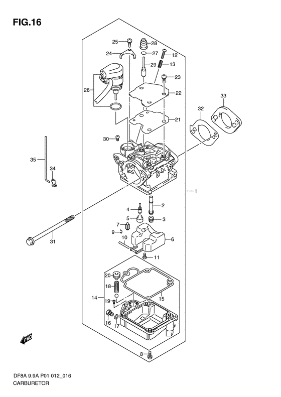
Карбюратор
Код модели двигателя: DF8AS/L; DF8ARS/L
Год выпуска двигателя: 2011
Регион: General Export No.1 ,Код региона: P01
Цвет: Shadow Black Metallic
Номер на рисунке | Артикул | Наименование | QTY | Кол-во на складе | Цена |
| 1 | 13200-99J30-000 | Карбюратор в сборе - Carburetor Assy (Карбюратор) | | под заказ | 51840 руб. |
| 1 | 13200-99J31-000 | (актуальный код замены) Карбюратор в сборе - Carburetor Assy | | под заказ | 51840 руб. |
| 2 | 13236-99J20-000 | Главная форсунка - Nozzle, Main (Жиклер) | | 1 шт | 2100 руб. |
| 3 | 09491-82013-000 | Главная форсунка (82) - Jet, Main (82) (Jet, main (82); # ) (Jet, main (82)) | | 1 шт | 1110 руб. |
| 3 | 09491-80017-000 | Главная форсунка (80) - Jet, Main (80) (Jet, main (80); # ) (Jet, main (80)) | | под заказ | 1110 руб. |
| 4 | 09492-38011-000 | Контрольная форсунка (38) - Jet, Pilot (38) (Jet, pilot (38); # ) (Jet, pilot (38)) | | 2 шт | 1110 руб. |
| 4 | 09492-35033-000 | Контрольная форсунка (35) - Jet, Pilot (35) (Jet, pilot (35); # ) (Jet, pilot (35)) | | 3 шт | 1110 руб. |
| 5 | 13239-94J00-000 | Колпачок резинки - Cap, Rubber (Крышка резиновая) | | 1 шт | 690 руб. |
| 6 | 13250-99J00-000 | Поплавок - Float (Поплавок) | | под заказ | 3030 руб. |
| 7 | 13370-94J00-000 | Клапан поплавка - Valve, Float (Клапан) | | 5 шт | 2100 руб. |
| 8 | 13247-94J00-000 | Винт - Screw (Болт) | | под заказ | 760 руб. |
| 9 | 13375-26E00-000 | Зажим - Clip (Clip) | | под заказ | 430 руб. |
| 10 | 13254-94J00-000 | Штифт, Рычаг - Pin, Arm (Штифт ручки) | | под заказ | 290 руб. |
| 11 | 13802-94J00-000 | Винт - Screw (Болт) | | под заказ | 280 руб. |
| 12 | 13534-94J00-000 | Винт стопора - Screw, Stop (Винт стопорный) | | под заказ | 700 руб. |
| 13 | 13268-94J00-000 | Пружина - Spring (Пружина) | | под заказ | 370 руб. |
| 14 | 13240-99J30-000 | Chamber в сборе, Fr - Chamber Assy, Fr (Chamber assy, front) | | под заказ | 9080 руб. |
| 15 | 13251-99J00-000 | Прокладка, Fr Chamber - Gasket, Fr Chamber (Gasket, front chamber) | | 1 шт | 970 руб. |
| 16 | 13279-99J00-000 | Винт дренажный - Screw, Drain (Винт дренажный) | | под заказ | 460 руб. |
| 17 | 13275-99J00-000 | Шайба, Plane - Washer, Plane (Washer, plane) | | под заказ | 480 руб. |
| 18 | 13441-99J00-000 | Пружина - Spring (Пружина) | | под заказ | 370 руб. |
| 19 | 13443-99J00-000 | Винт, Special - Screw, Special (Screw, special) | | под заказ | 480 руб. |
| 20 | 13493-99J00-000 | Плунжер - Plunger (Плунжер) | | под заказ | 1840 руб. |
| 21 | 13283-99J00-000 | Прокладка - Packing (Packing) | | 1 шт | 680 руб. |
| 22 | 13282-99J00-000 | Пластина - Plate (Plate) | | под заказ | 1190 руб. |
| 23 | 13367-94J00-000 | Винт - Screw (Болт) | | под заказ | 370 руб. |
| 24 | 13428-06F30-000 | Пластина - Plate (Plate) | | под заказ | 400 руб. |
| 25 | 13367-94J00-000 | Винт - Screw (Болт) | | под заказ | 370 руб. |
| 26 | 13368-99J00-000 | Стартер в сборе - Starter Assy (Стартер) | | под заказ | 17960 руб. |
| 26 | 13368-99J01-000 | (актуальный код замены) Стартер в сборе - Starter Assy | | под заказ | 17960 руб. |
| 27 | 13494-94J00-000 | Зажим - Clip (Clip) | | под заказ | 550 руб. |
| 28 | 13495-94J00-000 | Колпачок резинки - Cap, Rubber (Крышка резиновая) | | под заказ | 950 руб. |
| 29 | 13496-99J00-000 | Соединительная тяга - Rod, Link (Rod, link) | | под заказ | 1770 руб. |
| 30 | 13281-99J00-000 | Винт с чашечкой - Screw, Pan (Screw, pan) | | под заказ | 400 руб. |
| 31 | 09103-06276-000 | Болт (6x100) - Bolt (6x100) (Bolt (6x100); # ) (Bolt) | | под заказ | 260 руб. |
| 32 | 13125-99J00-000 | Прокладка карбюратора - Gasket, Carburetor (Прокладка карбюратора) | | 5 шт | 200 руб. |
| 33 | 13124-99J00-000 | Изолятор карбюратора - Insulator, Carburetor (Insulator, carburetor) | | под заказ | 930 руб. |
| 34 | 13436-91J00-000 | Соединитель тяги дросселя - Connector, Choke Rod (Connector, throttle rod; # ) (Соединение отбойника) | | 9 шт | 360 руб. |
| 35 | 13513-99J00-000 | Тяга дросселя - Rod, Throttle (Шпилька) | | под заказ | 300 руб. |
Время выполнения запроса 2.1252911090851 сек. |
|