| |
 |
|
 |
Вернуться к выбору узлов мотора
ДЕТАЛИРОВКА ДЛЯ МОДЕЛИ: SUZUKI DF8ARL(P01) PRD
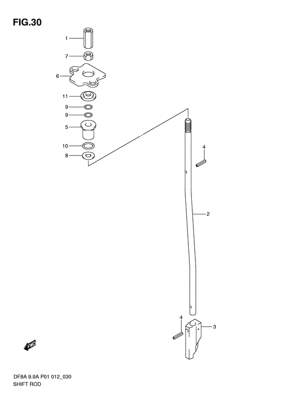
Переключающая тяга
Код модели двигателя: DF8AS/L; DF8ARS/L
Год выпуска двигателя: 2011
Регион: General Export No.1 ,Код региона: P01
Цвет: Shadow Black Metallic
Номер на рисунке | Артикул | Наименование | QTY | Кол-во на складе | Цена |
| 1 | 23311-95J00-000 | Коннектор тяги сцепления - Connector, Clutch Rod (Соединение штифта муфты) | | 8 шт | 840 руб. |
| 2 | 25111-99J00-000 | Переключающая тяга (s&l) - Rod, Shift (s&l) | | под заказ | 1720 руб. |
| 2 | 25111-99J01-000 | (актуальный код замены) Переключающая тяга (s&l) - Rod, Shift (s&l) | | 25 шт | 2280 руб. |
| 2 | 25111-99J01-000 | Переключающая тяга (s&l) - Rod, Shift (s&l) (ROD, SHIFT (S & L)) | | 25 шт | 2280 руб. |
| 3 | 25311-99J00-000 | Кулачок переключателя - Cam, Shift (Кулачок переключателя) | | 4 шт | 2200 руб. |
| 4 | 09205-02004-000 | Стопор пружины (2.5x12) - Pin, Spring (25x12) (Spring pin # Spring pin (2.5x12); # ) (Pin) | | 13 шт | 100 руб. |
| 5 | 25211-99J00-000 | Направляющая переключающей тяги - Guide, Shift Rod | | под заказ | 530 руб. |
| 5 | 25211-99JL0-000 | (актуальный код замены) Направляющая переключающей тяги - Guide, Shift Rod | | 3 шт | 640 руб. |
| 5 | 25211-99JL0-000 | Направляющая переключающей тяги - Guide, Shift Rod (Guide, shift rod) | | 3 шт | 640 руб. |
| 6 | 25215-99J00-000 | Стопор переключателя направляющей тяги - Stopper, Shift Rod Guide (Stopper, shift rod guide) | | 3 шт | 350 руб. |
| 7 | 29141-93J00-000 | Гайка - Nut (Nut, clutch rod (m6); # ) (Гайка) | | 18 шт | 480 руб. |
| 8 | 09160-06082-000 | Шайба (6.5x13x1.0) - Washer (65x13x10) (Washer # Washer (6.5x13x1.0); # ) (Шайба) | | 7 шт | 150 руб. |
| 9 | 09280-06012-000 | Уплотнительное кольцо (d: 1.7, Id: 5.8) - O Ring (d:17, Id:58) (O ring (d:1.7, id:5.8); # ) (O ring, d:1.7, id:5.8) | | 91 шт | 80 руб. |
| 10 | 09280-09012-000 | Уплотнительное кольцо (d: 2.3, Id: 9) - O Ring (d:23, Id:9) (O ring (d:2.3, id:9); # ) (O ring, d:2.3, id:9) | | 32 шт | 180 руб. |
| 11 | 09289-06164-000 | Пылезащитный сальник (5x17x3.5) - Seal, Dust (5x17x35) (Dust seal (5x17x3.5); # ) | | под заказ | 460 руб. |
| 11 | 09289-06L02-000 | (актуальный код замены) Пылезащитный сальник (5x17x3.5) - Seal, Dust (5x17x3.5) | | 15 шт | 560 руб. |
| 11 | 09289-06L02-000 | Пылезащитный сальник (5x17x3.5) - Seal, Dust (5x17x35) (Seal, dust, 5x17x3.5) | | 15 шт | 560 руб. |
Время выполнения запроса 0.73237586021423 сек. |
|