Подобрать оригинальные запчасти на подвесной двигатель Сузуки DF9.9BS/L; DF9.9BRS/L модель 2013 года - Water pump
вконтакте

Контактный телефон: +7 (981) 121-46-93, +7 (800) 200-90-76 , Email: parts-katalog@yandex.ru, где купить

 
 

  Логин:

Пароль:

Регистрация

www.partskatalog.ru Все каталоги Запчасти Mercury Запчасти Suzuki Запчасти Tohatsu Запчасти Honda Контакты



УВАЖАЕМЫЕ КЛИЕНТЫ!
C 19 ДЕКАБРЯ 2025 ПО 02 МАРТА 2026 ГОДА ОТДЕЛ ЗАПЧАСТЕЙ И СЕРВИС РАБОТАТЬ НЕ БУДУТ
ПРОДАЖА ЛОДОЧНЫХ МОТОРОВ В ШТАТНОМ РЕЖИМЕ
ОБ ИЗМЕНЕНИЯХ В ГРАФИКЕ РАБОТЫ ЧИТАЙТЕ НА САЙТА



назад Раздел:   вперёд

Вернуться к выбору узлов мотора


ДЕТАЛИРОВКА ДЛЯ МОДЕЛИ: SUZUKI DF9.9B/DF9.9BR FROM 00995F-310001~ (P03 013)

Водяной насос


Код модели двигателя: DF9.9BS/L; DF9.9BRS/L

Год выпуска двигателя: 2013

Регион: USA/General South East Asia ,Код региона: P03/P013

Цвет: Shadow Black Metallic

Номер на
рисунке
АртикулНаименованиеQTYКол-во
на складе
Цена
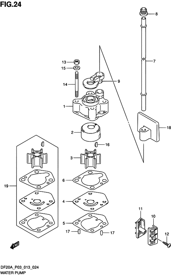
117411-94J00-000

Корпус водяного насоса - Case, Water Pump (Корпус водной помпы)

32 шт1900 руб.
217413-94J00-000

Рукав корпуса водяной помпы - Sleeve, Water Pump Case (Втулка водной помпы)

под заказ3270 руб.
217413-94J10-000

   (актуальный код замены) Рукав корпуса водяной помпы - Sleeve, Water Pump Case

32 шт3710 руб.
317461-939M0-000

Крыльчатка водяного насоса - Impeller, Water Pump (Impeller, water pump)

38 шт2600 руб.
3SC-WT114

   (не оригинальный аналог) Крыльчатка помпы охлаждения двигателя Suzuki SC-WT114

под заказ950 руб.
417471-99J00-000

Панель в нижней части корпуса помпы - Panel, Pump Case Under (Panel, pump case under)

17 шт3890 руб.
417471-99J20-000

   (актуальный код замены) Панель в нижней части корпуса помпы - Panel, Pump Case Under

2 шт3430 руб.
517472-99J00-000

Прокладка панели корпуса помпы - Gasket, Pump Case Panel (Gasket, pump case panel)

11 шт330 руб.
617473-94J00-000

Прокладка корпуса водяной помпы - Gasket, Water Pump Case (Gasket, water pump case)

34 шт240 руб.
6SM-17473-94J00-000

   (не оригинальный аналог) Прокладка SM-17473-94J00-000 корпуса водяной помпы

под заказ90 руб.
6SM-17473-94J00-000

  (аналог) Прокладка SM-17473-94J00-000 корпуса водяной помпы - код 17473-94J00-000

 под заказ шт90 руб.
717561-99J00-000

Водяная трубка (s) - Tube, Water (s) (W/TRANSOM (S) # ) (Трубка водная (S))

2 шт480 руб.
717561-99J10-000

Водяная трубка (l) - Tube, Water (l) (W/TRANSOM (L) # ) (Трубка водная (L))

под заказ680 руб.
817563-94J00-000

Пыльник водяной трубки - Grommet, Water Tube (Втулка водной трубы)

7 шт140 руб.
917564-99J00-000

Втулка корпуса водяной помпы - Bush, Water Pump Case (Bush, water pump case)

7 шт710 руб.
1017631-99J20-000

Водяной фильтр с левой стороны - Filter, Water Port Side (Filter, water port side)

9 шт480 руб.
1117632-99J30-000

Водяной фильтр с правой стороны - Filter, Water Stbd Side (Filter, water stbd side)

9 шт540 руб.
1203141-0416A-000

Винт - Screw (Болт)

3 шт250 руб.
1329141-93J00-000

Гайка - Nut (Гайка)

18 шт480 руб.
1409108-06141-000

Болт под шпильку - Bolt, Stud (Болт)

16 шт330 руб.
1509160-06082-000

Шайба (6.5x13x1.0) - Washer (65x13x10) (Washer # ) (Шайба)

7 шт150 руб.
1609420-03005-000

Ключ - Key

под заказ400 руб.
1609420-03009-000

   (актуальный код замены) Ключ - Key

14 шт400 руб.
16SC-WT224

   (не оригинальный аналог) Шпонка крыльчатки Suzuki SC-WT224

под заказ470 руб.
1609420-03009-000

Ключ - Key (Ключ)

14 шт400 руб.
1709202-04008-000

Штифт (4x9) - Pin (4x9) (Pin, knock # ) (Pin)

4 шт150 руб.
1817565-99J00-000

Направляющая трубки водяного насоса - Guide, Water Tube (Guide, water tube)

2 шт450 руб.
1817565-99J01-000

   (актуальный код замены) Направляющая трубки водяного насоса - Guide, Water Tube

1 шт520 руб.
1917400-99J00-000

Ремкомплект водяного насоса - Kit, Water Pump Repair (OPT # )

под заказ0 руб.
1917400-99J20-000

   (актуальный код замены) Ремкомплект водяного насоса - Kit, Water Pump Repair

26 шт6890 руб.
1917400-99J01-000

Ремкомплект водяного насоса - Kit, Water Pump Repair (KIT, WATER PUMP REPAIR)

под заказ6600 руб.
1917400-99J20-000

   (актуальный код замены) Ремкомплект водяного насоса - Kit, Water Pump Repair

26 шт6890 руб.


Время выполнения запроса 1.4574761390686 сек.

 
 

данный сайт носит информационный характер и не является публичной офертой

склад запчастей для водомоторной техники