| |
 |
|
 |
Вернуться к выбору узлов мотора
ДЕТАЛИРОВКА ДЛЯ МОДЕЛИ: SUZUKI DF9.9B/DF9.9BR FROM 00995F-410001~ (P03 014)
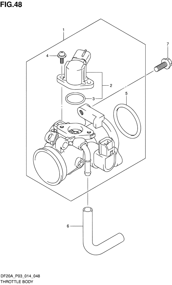
Дроссель газа
Код модели двигателя: DF9.9BS/L; DF9.9BRS/L; DF9.9BTS/L
Год выпуска двигателя: 2014
Регион: USA/Thailand ,Код региона: P03/P014
Цвет: Shadow Black Metallic
Номер на рисунке | Артикул | Наименование | QTY | Кол-во на складе | Цена |
| 1 | 13300-89L10-000 | Корпус дросселя - Body Assy, Throttle (Body assy, throttle) | | под заказ | 53760 руб. |
| 1 | 13300-89L11-000 | (актуальный код замены) Корпус дросселя - Body Assy, Throttle | | под заказ | 53760 руб. |
| 2 | 13420-16HA0-000 | Соленоид, в сборе - Solenoid Assy (Solenoid assy) | | под заказ | 12870 руб. |
| 2 | 13420-16HA1-000 | (актуальный код замены) Соленоид, в сборе - Solenoid Assy | | 1 шт | 15380 руб. |
| 3 | 13425-33G00-000 | Уплотнительное кольцо - O Ring (O ring) | | под заказ | 950 руб. |
| 3 | 13425-33G01-000 | (актуальный код замены) Уплотнительное кольцо - O Ring | | под заказ | 950 руб. |
| 4 | 13326-89L00-000 | Винт соленоида - Screw, Solenoid Assy (Screw, solenoid assy) | | под заказ | 350 руб. |
| 5 | 13421-89L00-000 | Уплотнительное кольцо, Фланец - O Ring, Flange (O ring, flange) | | под заказ | 2340 руб. |
| 6 | 15211-91J00-130 | Шланг клапана холостого хода (IAC) - Hose, Iac (Hose, iac) | | под заказ | 200 руб. |
| 7 | 01550-06207-000 | Болт - Bolt (Bolt # ) (Bolt (chrome)) | | 17 шт | 220 руб. |
Время выполнения запроса 0.59000587463379 сек. |
|