| |
 |
|
 |
Вернуться к выбору узлов мотора
ДЕТАЛИРОВКА ДЛЯ МОДЕЛИ: SUZUKI DF9.9A/DF9.9AR FROM 00994F-510001~
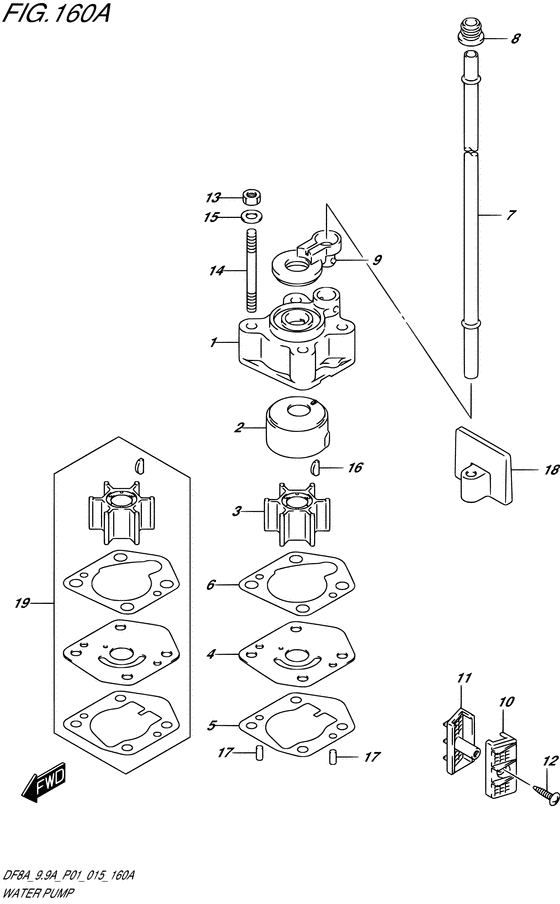
Водяной насос
Код модели двигателя: DF9.9AS/L; DF9.9ARS/L
Год выпуска двигателя: 2015
Регион: General Export No.1/Finland ,Код региона: P01/P015
Цвет: Shadow Black Metallic
Номер на рисунке | Артикул | Наименование | QTY | Кол-во на складе | Цена |
| 1 | 17411-94J00-000 | Корпус водяного насоса - Case, Water Pump (Корпус водной помпы) | | 32 шт | 1900 руб. |
| 2 | 17413-94J00-000 | Рукав корпуса водяной помпы - Sleeve, Water Pump Case (Втулка водной помпы) | | под заказ | 3270 руб. |
| 2 | 17413-94J10-000 | (актуальный код замены) Рукав корпуса водяной помпы - Sleeve, Water Pump Case | | 32 шт | 3710 руб. |
| 3 | 17461-939M0-000 | Крыльчатка водяного насоса - Impeller, Water Pump (Impeller, water pump) | | 39 шт | 2600 руб. |
| 3 | SC-WT114 | (не оригинальный аналог) Крыльчатка помпы охлаждения двигателя Suzuki SC-WT114 | | под заказ | 950 руб. |
| 4 | 17471-99J00-000 | Панель в нижней части корпуса помпы - Panel, Pump Case Under (Panel, pump case under) | | 17 шт | 3890 руб. |
| 4 | 17471-99J20-000 | (актуальный код замены) Панель в нижней части корпуса помпы - Panel, Pump Case Under | | 2 шт | 3430 руб. |
| 5 | 17472-99J00-000 | Прокладка панели корпуса помпы - Gasket, Pump Case Panel (Gasket, pump case panel) | | 11 шт | 330 руб. |
| 6 | 17473-94J00-000 | Прокладка корпуса водяной помпы - Gasket, Water Pump Case (Gasket, water pump case) | | 34 шт | 240 руб. |
| 6 | SM-17473-94J00-000 | (не оригинальный аналог) Прокладка SM-17473-94J00-000 корпуса водяной помпы | | под заказ | 90 руб. |
| 6 | SM-17473-94J00-000 | (аналог) Прокладка SM-17473-94J00-000 корпуса водяной помпы - код 17473-94J00-000 | | под заказ шт | 90 руб. |
| 7 | 17561-99J00-000 | Водяная трубка (s) - Tube, Water (s) (W/TRANSOM (S) # ) (Трубка водная (S)) | | 2 шт | 480 руб. |
| 7 | 17561-99J10-000 | Водяная трубка (l) - Tube, Water (l) (W/TRANSOM (L) # ) (Трубка водная (L)) | | под заказ | 680 руб. |
| 8 | 17563-94J00-000 | Пыльник водяной трубки - Grommet, Water Tube (Втулка водной трубы) | | 11 шт | 140 руб. |
| 9 | 17564-99J00-000 | Втулка корпуса водяной помпы - Bush, Water Pump Case (Bush, water pump case) | | 7 шт | 710 руб. |
| 10 | 17631-99J20-000 | Водяной фильтр с левой стороны - Filter, Water Port Side (Filter, water port side) | | 9 шт | 480 руб. |
| 11 | 17632-99J30-000 | Водяной фильтр с правой стороны - Filter, Water Stbd Side (Filter, water stbd side) | | 9 шт | 540 руб. |
| 12 | 03141-0416A-000 | Винт - Screw (Болт) | | 3 шт | 250 руб. |
| 13 | 29141-93J00-000 | Гайка - Nut (Гайка) | | 18 шт | 480 руб. |
| 14 | 09108-06141-000 | Болт под шпильку - Bolt, Stud (Болт) | | 16 шт | 330 руб. |
| 15 | 09160-06082-000 | Шайба (6.5x13x1.0) - Washer (65x13x10) (Washer # ) (Шайба) | | 7 шт | 150 руб. |
| 16 | 09420-03009-000 | Ключ - Key (Ключ) | | 14 шт | 400 руб. |
| 16 | SC-WT224 | (не оригинальный аналог) Шпонка крыльчатки Suzuki SC-WT224 | | под заказ | 470 руб. |
| 17 | 09202-04008-000 | Штифт (4x9) - Pin (4x9) (Pin, knock # ) (Pin) | | 4 шт | 150 руб. |
| 18 | 17565-99J00-000 | Направляющая трубки водяного насоса - Guide, Water Tube (Guide, water tube) | | 2 шт | 450 руб. |
| 18 | 17565-99J01-000 | (актуальный код замены) Направляющая трубки водяного насоса - Guide, Water Tube | | 1 шт | 520 руб. |
| 19 | 17400-99J01-000 | Ремкомплект водяного насоса - Kit, Water Pump Repair (OPT # ) (KIT, WATER PUMP REPAIR) | | под заказ | 6600 руб. |
| 19 | 17400-99J20-000 | (актуальный код замены) Ремкомплект водяного насоса - Kit, Water Pump Repair | | 26 шт | 6890 руб. |
Время выполнения запроса 1.3169581890106 сек. |
|