| |
 |
|
 |
Вернуться к выбору узлов мотора
ДЕТАЛИРОВКА ДЛЯ МОДЕЛИ: SUZUKI DF9.9A/DF9.9AR FROM 00994F-510001~
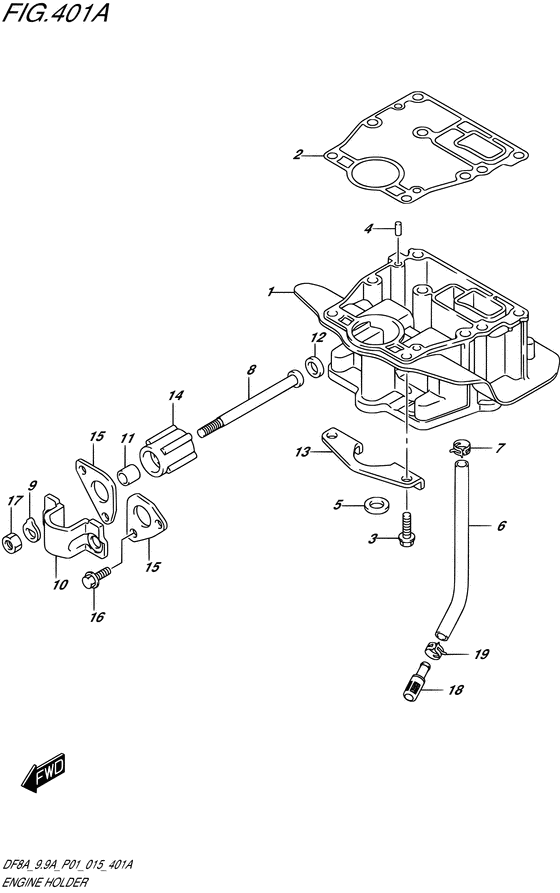
Основание двигателя
Код модели двигателя: DF9.9AS/L; DF9.9ARS/L
Год выпуска двигателя: 2015
Регион: General Export No.1/Finland ,Код региона: P01/P015
Цвет: Shadow Black Metallic
Номер на рисунке | Артикул | Наименование | QTY | Кол-во на складе | Цена |
| 1 | 51110-99J00-000 | Держатель двигателя - Holder, Engine (Держатель двигателя) | | под заказ | 16320 руб. |
| 2 | 51211-99J00-000 | Прокладка основания двигателя - Gasket, Engine Holder (Gasket, engine holder) | | 8 шт | 4040 руб. |
| 3 | 09116-08151-000 | Болт (8x30) - Bolt (8x30) (Bolt, 8x30) | | 3 шт | 230 руб. |
| 4 | 09202-06023-000 | Штифт (6x10) - Pin (6x10) (Pin) | | 6 шт | 290 руб. |
| 5 | 09282-12017-000 | Сальник (11x24x4.5) - Seal, Oil (11x24x45) (Seal, oil, 11x24x4.5) | | под заказ | 550 руб. |
| 6 | 16515-99J10-000 | Масляный шланг - Hose, Oil (HOSE, OIL) | | под заказ | 590 руб. |
| 7 | 09401-12413-000 | Зажим - Clip (Clip) | | 6 шт | 190 руб. |
| 8 | 54112-99J01-000 | Болт, вышеr Крепление - Bolt, Upr Mount (Bolt, upper mount) | | под заказ | 1920 руб. |
| 9 | 54113-99JM0-000 | Шайба болта верхней опоры - Washer, Upr Mount Bolt (WASHER, UPR MOUNT BOLT) | | под заказ | 480 руб. |
| 10 | 54120-99JL0-000 | Крепление верхнего упора - Mount, Upr Thrust (Mount comp, upper thrust) | | под заказ | 2210 руб. |
| 11 | 54122-99J00-000 | Проставка верхней опорыt - Spacer, Upper Mount (Spacer, upper mount) | | под заказ | 2210 руб. |
| 12 | 54125-99J00-000 | Стопор, вышеr Reverse Thrust - Stopper, Upr Reverse Thrust (Stopper, upper reverse thrust) | | под заказ | 270 руб. |
| 13 | 54126-99JL0-000 | Стопор, вышеr Thrust - Stopper, Upr Thrust (Stopper, upper thrust) | | под заказ | 1360 руб. |
| 14 | 54130-99J00-000 | Крепление, вышеr - Mount, Upr (Опора верхняя) | | под заказ | 2600 руб. |
| 15 | 54148-99J00-000 | Крышка, вышеr Крепление - Cover, Upr Mount (Cover, upper mount) | | под заказ | 1530 руб. |
| 16 | 09116-08137-000 | Болт (8x22) - Bolt (8x22) (Bolt (8x22) # ) (Болт (8X22)) | | 10 шт | 690 руб. |
| 17 | 09140-10031-000 | Гайка - Nut (Гайка) | | 10 шт | 160 руб. |
| 18 | 16520-99J00-000 | Сетчатый масляный фильтр - Strainer, Oil (STRAINER, OIL) | | под заказ | 1900 руб. |
| 19 | 09401-13424-000 | Зажим - Clip (Clip) | | 10 шт | 190 руб. |
Время выполнения запроса 1.2388441562653 сек. |
|