| |
 |
|
 |
Вернуться к выбору узлов мотора
ДЕТАЛИРОВКА ДЛЯ МОДЕЛИ: SUZUKI DF9.9A/DF9.9AR FROM 00994F-410001~ (P03)
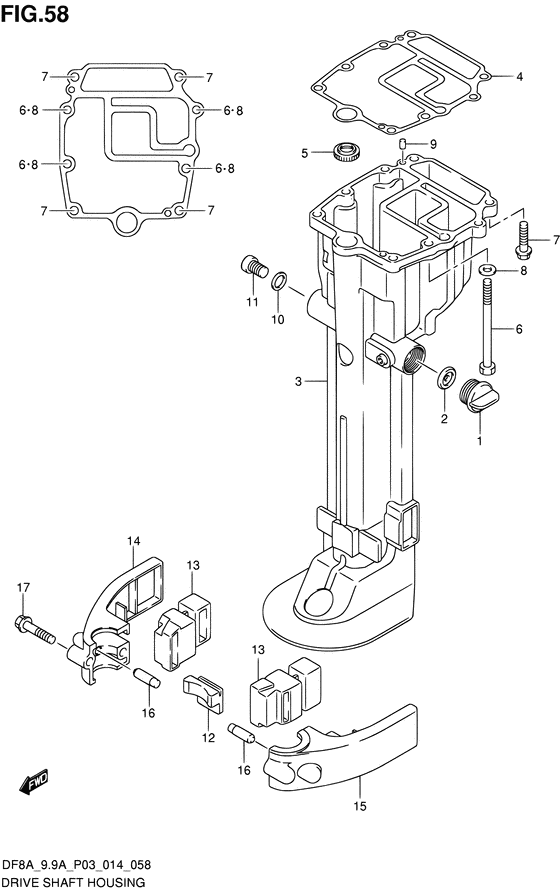
Корпус вала передачи
Код модели двигателя: DF9.9AS/L; DF9.9ARS/L
Год выпуска двигателя: 2014
Регион: USA ,Код региона: P03
Цвет: Shadow Black Metallic
Номер на рисунке | Артикул | Наименование | QTY | Кол-во на складе | Цена |
| 1 | 17913-93J00-000 | Водяная заглушка - Plug, Water (Заглушка водная) | | 1 шт | 510 руб. |
| 2 | 17914-93J00-000 | Прокладка водяной заглушки - Gasket, Water Plug (Прокладка) | | под заказ | 280 руб. |
| 2 | 17914-93J01-000 | (актуальный код замены) Прокладка водяной заглушки - Gasket, Water Plug | | 2 шт | 470 руб. |
| 3 | 52110-99J00-0EP | Корпус вала передачи (s) (чёрный) - Housing, Drive Shaft (s) (black) (W/TRANSOM (S) # ) (Housing, drive shaft (s) (black)) | | под заказ | 62880 руб. |
| 3 | 52110-99J10-0EP | Корпус вала передачи (l) (чёрный) - Housing, Drive Shaft (l) (black) (W/TRANSOM (L) # ) (Housing, drive shaft (l) (black)) | | под заказ | 83520 руб. |
| 4 | 52113-99J00-000 | Прокладка корпуса вала передачи - Gasket, Drive Shaft Housing (Gasket, drive shaft housing) | | 5 шт | 1920 руб. |
| 5 | 57135-99J00-000 | Направляющая, Корпус вала передачи - Guide, Drive Shaft (Guide, drive shaft) | | под заказ | 300 руб. |
| 6 | 09100-08312-000 | Болт (8x105) - Bolt (8x105) (Bolt (8x105)) | | под заказ | 430 руб. |
| 7 | 09116-08151-000 | Болт (8x30) - Bolt (8x30) (Bolt, 8x30) | | 3 шт | 230 руб. |
| 8 | 09160-08082-000 | Шайба (8.5x16x1.2) - Washer (85x16x12) (Шайба) | | 13 шт | 120 руб. |
| 9 | 09202-06023-000 | Штифт (6x10) - Pin (6x10) (Pin) | | 6 шт | 290 руб. |
| 10 | 09168-12017-000 | Прокладка (12x17x1) - Gasket (12x17x1) (Gasket, drain plug # ) (Gasket (12x17x1)) | | 172 шт | 270 руб. |
| 11 | 09248-12009-000 | Заглушка (12x18.65) - Plug (12x1865) (Plug # ) (Заглушка масляного дренажа) | | 21 шт | 580 руб. |
| 12 | 54151-99J00-000 | Крепление нижнего упора - Mount, Lwr Thrust (Mount, lower thrust) | | 1 шт | 1350 руб. |
| 13 | 54167-99J01-000 | Нижнее боковое крепление - Mount, Lower Side (Mount, lower side) | | 10 шт | 4280 руб. |
| 14 | 54211-99J01-0EP | Крышка нижней опоры Stbd - Cover, Lower Mount Stbd (Cover, lower mount stbd) | | 6 шт | 7180 руб. |
| 15 | 54221-99J01-0EP | Крышка нижней опоры Port - Cover, Lower Mount Port (Cover, lower mount port) | | 16 шт | 7180 руб. |
| 16 | 54213-93901-000 | Штифт, Lwr Крепление Крышка Knock - Pin, Lwr Mount Cover Knock (Pin, lower mount cover knock) | | 1 шт | 760 руб. |
| 17 | 09116-08154-000 | Болт (8x40) - Bolt (8x40) (Bolt, 8x40) | | 6 шт | 470 руб. |
Время выполнения запроса 1.2253499031067 сек. |
|