| |
 |
|
 |
Вернуться к выбору узлов мотора
ДЕТАЛИРОВКА ДЛЯ МОДЕЛИ: SUZUKI DF9.9SK3(E1) K3
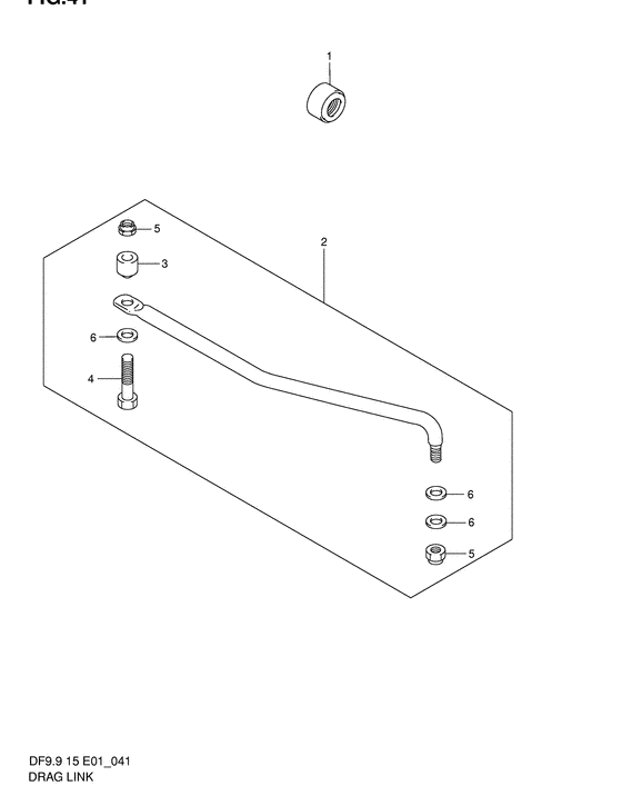
Переключающая тяга
Код модели двигателя: DF9.9S/L; DF9.9RS/L
Год выпуска двигателя: 2003
Регион: General Export No.1 ,Код региона: P01
Цвет: Shadow Black Metallic
Номер на рисунке | Артикул | Наименование | QTY | Кол-во на складе | Цена |
| 1 | 41161-94400-000 | Сальник рулевого кабеля - Seal, Steering Cable (Seal, steering cable # ) (Уплотение кабеля) | | 16 шт | 1530 руб. |
| 2 | 67701-93E10-000 | Рулевая тяга в сборе - Link Assy, Drag | | под заказ | 11040 руб. |
| 2 | 67701-93E12-000 | (актуальный код замены) Рулевая тяга в сборе - Link Assy, Drag | | под заказ | 11040 руб. |
| 2 | 67701-93E12-000 | Рулевая тяга в сборе - Link Assy, Drag (Тяга рулевого управления) | | под заказ | 11040 руб. |
| 2 | 67701-93E11-000 | Рулевая тяга в сборе - Link Assy, Drag (Model:03 # ) | | под заказ | 11040 руб. |
| 2 | 67701-93E12-000 | (актуальный код замены) Рулевая тяга в сборе - Link Assy, Drag | | под заказ | 11040 руб. |
| 2 | 67701-93E12-000 | Рулевая тяга в сборе - Link Assy, Drag (Тяга рулевого управления) | | под заказ | 11040 руб. |
| 3 | 67721-99E10-000 | Проставка переключающей тяги (l: 14.5) - Spacer, Drag Link (l:145) (Spacer, drag link # Spacer, drag link; # ) (Spacer (l:14.5)) | | под заказ | 0 руб. |
| 3 | 67721-93E00-000 | Проставка переключающей тяги (l: 13) - Spacer, Drag Link (l:13) (Spacer, drag link # Spacer, drag link; Model:03 # ) (Spacer (l:13)) | | под заказ | 1110 руб. |
| 4 | 67725-99E10-000 | Болт - Bolt (Bolt) | | под заказ | 1200 руб. |
| 4 | 67725-99E20-000 | (актуальный код замены) Болт переключающей тяги - Bolt, Drag Link | | под заказ | 1200 руб. |
| 5 | 67726-99E00-000 | Блокирующая гайка - Nut, Lock (Nut # ) (Гайка блокирующая) | | 3 шт | 800 руб. |
| 6 | 67728-99E00-000 | Шайба - Washer (Шайба) | | 2 шт | 260 руб. |
Время выполнения запроса 0.58686590194702 сек. |
|