Купить оригинальные запчасти на подвесной лодочный двигатель Suzuki DF9.9S/L; DF9.9RS/L - Clutch
вконтакте

Контактный телефон: +7 (981) 121-46-93, +7 (800) 200-90-76 , Email: parts-katalog@yandex.ru, где купить

 
 

  Логин:

Пароль:

Регистрация

www.partskatalog.ru Все каталоги Запчасти Mercury Запчасти Suzuki Запчасти Tohatsu Запчасти Honda Контакты



УВАЖАЕМЫЕ КЛИЕНТЫ!
C 19 ДЕКАБРЯ 2025 ПО 02 МАРТА 2026 ГОДА ОТДЕЛ ЗАПЧАСТЕЙ И СЕРВИС РАБОТАТЬ НЕ БУДУТ
ПРОДАЖА ЛОДОЧНЫХ МОТОРОВ В ШТАТНОМ РЕЖИМЕ
ОБ ИЗМЕНЕНИЯХ В ГРАФИКЕ РАБОТЫ ЧИТАЙТЕ НА САЙТА



назад Раздел:   вперёд

Вернуться к выбору узлов мотора


ДЕТАЛИРОВКА ДЛЯ МОДЕЛИ: SUZUKI DF9.9RS K5

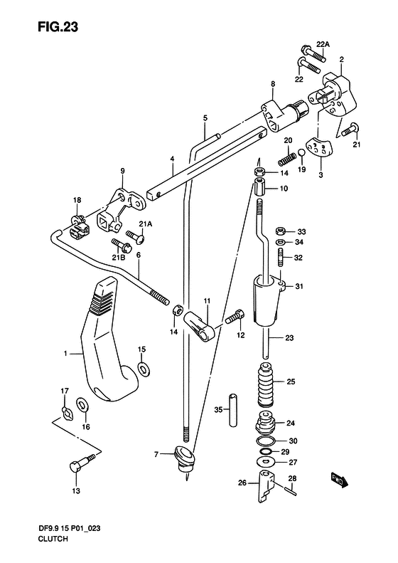
Сцепление


Код модели двигателя: DF9.9S/L; DF9.9RS/L

Год выпуска двигателя: 2005

Регион: General Export No.1 ,Код региона: P01

Цвет: Shadow Black Metallic

Номер на
рисунке
АртикулНаименованиеQTYКол-во
на складе
Цена
121110-93E03-000

Рычаг сцепления - Lever, Clutch (Рукоятка муфты)

под заказ2560 руб.
221121-93E02-000

(->21120-93E10 # )

под заказнет сведений
201550-06257-000

Болт - Bolt (Bolt)

под заказ180 руб.
221120-93E10-000

Рычаг в паз сцепления - Lever, Clutch Notch (Рукоятка муфты)

4 шт1190 руб.
221120-93E10-000

Рычаг в паз сцепления - Lever, Clutch Notch (DF9.9:780121~ DF15:780241~ # ) (Рукоятка муфты)

4 шт1190 руб.
321122-93E00-000

Пластина в паз сцепления - Plate, Clutch Notch (Плата муфты)

1 шт0 руб.
321122-94J01-000

Пластина в паз сцепления - Plate, Clutch Notch (MODEL:05~ # ) (Plate, clutch notch)

1 шт3320 руб.
421211-93E10-000

Сцепление Вал Рычаг - Shaft, Clutch Lever

под заказ890 руб.
421211-93EL0-000

   (актуальный код замены) Сцепление Вал Рычаг - Shaft, Clutch Lever

под заказ890 руб.
421211-93EL0-000

Сцепление Вал Рычаг - Shaft, Clutch Lever (Shaft, clutch lever)

под заказ890 руб.
523111-93E00-000

Тяга сцепления - Rod, Clutch (Штанга муфты)

1 шт1760 руб.
623115-93E10-000

Тяга рычага сцепления - Link, Clutch Lever (Сустав муфты)

1 шт1320 руб.
723131-93900-000

Башмак тяги сцепления - Boot, Clutch Rod (Boot, clutch rod # <-23131-94J00 # ) (Колпак муфты)

под заказ470 руб.
723131-95L00-000

   (актуальный код замены) Башмак тяги сцепления - Boot, Clutch Rod

под заказ470 руб.
823211-93E01-000

Рукоятка тяги сцепления - Arm, Clutch Rod (Рычаг муфты)

3 шт950 руб.
923210-93E00-000

Рычаг управления сцеплением - Lever, Clutch Control (Рукоятка муфты)

2 шт1350 руб.
1023311-95D01-000

Buckle, Тяга сцепления Turn - Buckle, Clutch Rod Turn

под заказ630 руб.
1023311-95DL0-000

   (актуальный код замены) Buckle, Тяга сцепления Turn - Buckle, Clutch Rod Turn

13 шт640 руб.
1023311-95DL0-000

Buckle, Тяга сцепления Turn - Buckle, Clutch Rod Turn (Buckle, clutch rod turn)

13 шт640 руб.
10SK23311-95DL0

   (не оригинальный аналог) Гайка соединительная тяги переключения передач Skipper для Suzuki DF9.9-DF15, DT25-40

0 шт127 руб.
1023311-95DL0-000

Buckle, Тяга сцепления Turn - Buckle, Clutch Rod Turn (DF15:110001~ # ) (Buckle, clutch rod turn)

13 шт640 руб.
10SK23311-95DL0

   (не оригинальный аналог) Гайка соединительная тяги переключения передач Skipper для Suzuki DF9.9-DF15, DT25-40

0 шт127 руб.
1123312-95321-000

Коннектор тяги сцепления - Connector, Clutch Link

под заказ580 руб.
1123312-94JL0-000

   (актуальный код замены) Коннектор тяги сцепления - Connector, Clutch Link

14 шт660 руб.
1123312-94JL0-000

Коннектор тяги сцепления - Connector, Clutch Link (Connector, clutch link)

14 шт660 руб.
1209111-06064-000

Болт (6x17) - Bolt (6x17) (Bolt, clutch control arm # ) (Bolt)

15 шт860 руб.
1309111-06069-000

Болт (6x28.8) - Bolt (6x288) (Bolt)

3 шт740 руб.
1423118-94J00-000

Гайка - Nut

под заказ170 руб.
1429141-93J00-000

   (актуальный код замены) Гайка - Nut

18 шт480 руб.
1429141-93J00-000

Гайка - Nut (Гайка)

18 шт480 руб.
1509160-06082-000

Шайба (6.5x13x1.0) - Washer (65x13x10) (Washer # ) (Шайба)

7 шт150 руб.
1609160-08045-000

Шайба (8x22x1) - Washer (8x22x1) (Washer (8x22x1.0) # ) (Шайба)

под заказ220 руб.
1709164-08017-000

Шайба - Washer (Washer, wave # ) (Шайба)

под заказ160 руб.
1809209-09007-000

Подъемный механизм - Linkage (Connector # ) (Соединение)

10 шт270 руб.
1909260-10005-000

Шарик - Ball (Steel ball # ) (Ball)

4 шт210 руб.
1909260-12002-000

Шарик - Ball (MODEL:05~07 # )

под заказ280 руб.
1909260-12003-000

   (актуальный код замены) Шарик - Ball

2 шт340 руб.
1909260-12003-000

Шарик - Ball (Шарик в углублении муфты)

2 шт340 руб.
1909260-12003-000

Шарик - Ball (MODEL:08~ # ) (Шарик в углублении муфты)

2 шт340 руб.
2009440-07021-000

Пружина - Spring (Spring, clutch notch # ) (Пружина)

под заказ160 руб.
2009440-09041-000

Пружина - Spring (MODEL:05~ # ) (Пружина)

2 шт280 руб.
2102142-06207-000

Винт - Screw (Screw # ) (Винт 6X20)

7 шт110 руб.
2102142-06207-000

Винт - Screw (Screw # ) (Винт 6X20)

7 шт110 руб.
2101550-06207-000

Болт - Bolt (Bolt # DF9.9:780121~ DF15:780241~ # ) (Bolt (chrome))

17 шт220 руб.
2202142-06257-000

Винт - Screw (Screw # ) (Винт)

под заказ90 руб.
2201550-06257-000

Болт - Bolt (DF9.9:780121~ DF15:780241~ # ) (Bolt)

под заказ180 руб.
2325111-93900-000

Переключающая тяга Set (l) - Shift Rod Set (l) (->25100-93820 SHIFT ROD SET # )

под заказ4610 руб.
2325100-93820-000

   (актуальный код замены) Переключающая тяга Set (l) - Shift Rod Set (l)

под заказ4610 руб.
2325100-93820-000

Переключающая тяга Set (l) - Shift Rod Set (l) (Shift rod set (l))

под заказ4610 руб.
2325111-93901-000

Переключающая тяга (l) - Rod, Shift (l) (DF9.9:680121~ DF15:680243~ # ) (Вал передачи (L))

под заказ2600 руб.
2325111-93910-000

Переключающая тяга Set (s) - Shift Rod Set (s) (->25100-93810 SHIFT ROD SET # )

под заказ4420 руб.
2325100-93810-000

   (актуальный код замены) Переключающая тяга Set (s) - Shift Rod Set (s)

под заказ4420 руб.
2325100-93810-000

Переключающая тяга Set (s) - Shift Rod Set (s) (Shift rod set (s))

под заказ4420 руб.
2325111-93911-000

Переключающая тяга (s) - Rod, Shift (s) (DF9.9:680121~ DF15:680243~ # ) (Гильза (S))

под заказ2310 руб.
2425211-93901-000

Направляющая переключающей тяги - Guide, Shift Rod (<-25211-94J00 # ) (Направляющая переключетеля)

3 шт610 руб.
2525222-93901-000

Башмак переключающей тяги - Boot, Shift Rod (Boot, shift rod # ) (Boot shift rod)

1 шт930 руб.
2525222-93902-000

   (актуальный код замены) Башмак переключающей тяги - Boot, Shift Rod

23 шт930 руб.
25SK25222-93901

   (не оригинальный аналог) Гофра тяги переключения передач Skipper для Suzuki DT4-5/9.9-15/DF4-15

0 шт176 руб.
2625311-93E10-000

Запчасть снята с производства - The Spare Part Is Laid Off (->SHIFT ROD SET 25100-93810 FOR TYPE:S 25100-93820 FOR TYPE:L # )

под заказ0 руб.
2625311-93E11-000

Кулачок переключателя - Cam, Shift (DF9.9:680121~ DF15:680243~ # ) (Кулачок переключателя)

под заказ2190 руб.
2709160-05047-000

Шайба (5.5x24x1.6) - Washer (55x24x16) (Washer # ) (Шайба)

под заказ150 руб.
2809205-02004-000

Стопор пружины (2.5x12) - Pin, Spring (25x12) (Spring pin # DF9.9:680121~ DF15:680243~ # ) (Pin)

13 шт100 руб.
2809205-02006-000

Стопор пружины (2x12) - Pin, Spring (2x12) (Pin, spring # ) (Pin)

10 шт140 руб.
2909280-05005-000

Уплотнительное кольцо (d: 3.5, Id: 4.9) - O Ring (d:35, Id:49) (O ring (d:3.5 id:4.9) # ) (O ring)

25 шт160 руб.
3059291-94J00-000

Уплотнительное кольцо направляющей переключающей тяги - O Ring, Shift Rod Guide (O ring (d:3.6 id:18.6))

11 шт200 руб.
3125215-94J00-000

Стопор переключателя направляющей тяги - Stopper, Shift Rod Guide (Стопор направляющей)

1 шт240 руб.
3209108-05007-000

Болт под шпильку - Bolt, Stud (Stud bolt # ) (Болт)

под заказ270 руб.
3309140-05005-000

Гайка - Nut (<-19133-94J00 # ) (Гайка)

10 шт270 руб.
3409160-05029-000

Шайба (5.5x12x0.8) - Washer (55x12x08) (Washer # ) (Шайба)

14 шт130 руб.
3509351-50803-00A

Шланг (5x8x1000) - Hose (5x8x1000) (L:1000->30 # ) (Hose)

под заказ360 руб.


Время выполнения запроса 2.0490980148315 сек.

 
 

данный сайт носит информационный характер и не является публичной офертой

склад запчастей для водомоторной техники