| |
 |
|
 |
Вернуться к выбору узлов мотора
ДЕТАЛИРОВКА ДЛЯ МОДЕЛИ: SUZUKI DF9.9RS K7
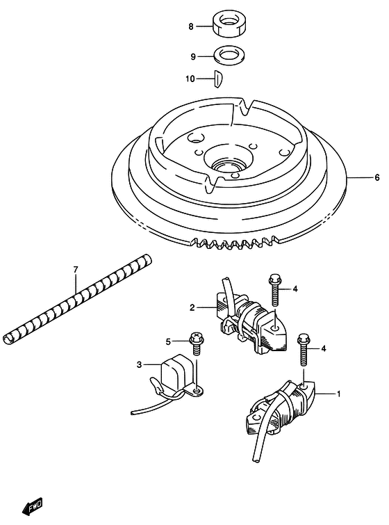
Магнето
Код модели двигателя: DF9.9S/L; DF9.9RS/L
Год выпуска двигателя: 2007
Регион: General Export No.1 ,Код региона: P01
Цвет: Shadow Black Metallic
Номер на рисунке | Артикул | Наименование | QTY | Кол-во на складе | Цена |
| 1 | 32120-93E20-000 | Катушка заряда аккумулятора - Coil, Battery Charging (Coil, battery charging # ) (Катушка) | | под заказ | 11240 руб. |
| 2 | 32140-93E10-000 | Coil, Магнето Primary - Coil, Magneto Primary (Coil, primary) | | под заказ | 8880 руб. |
| 3 | 32160-93E20-000 | Катушка импульсов зажигания - Coil, Ignition Timing (Датчик импульсов) | | под заказ | 13110 руб. |
| 4 | 01547-06303-000 | Болт - Bolt | | под заказ | 210 руб. |
| 4 | 01547-0630B-000 | (актуальный код замены) Болт - Bolt | | под заказ | 210 руб. |
| 4 | 01547-0630B-000 | Болт - Bolt (Bolt # ) (Болт) | | под заказ | 210 руб. |
| 5 | 02162-05127-000 | Винт - Screw (Screw # ) (Bolt) | | под заказ | 150 руб. |
| 6 | 32102-93E40-000 | Маховик в сборе, Магнето - Flywheel Assy, Magneto (Flywheel # ) (Маховик, зажигание) | | под заказ | 49920 руб. |
| 7 | 33833-91J00-000 | Трубка провода переключателя (l: 250) - Tube, Switch Lead (l:250) (Tube # L:250->150 ELECTRIC STARTER # ) (Труба) | | под заказ | 610 руб. |
| 8 | 09140-14008-000 | Гайка - Nut (Nut # ) (Гайка 14MM) | | 5 шт | 210 руб. |
| 8 | SK09140-14008 | (не оригинальный аналог) Гайка маховика Skipper для Suzuki DT9.9-15/ DF8A-30A, 14мм | | 0 шт | 64 руб. |
| 9 | 09160-15047-000 | Шайба (15x27x4) - Washer (15x27x4) | | под заказ | 150 руб. |
| 9 | 09160-15057-000 | (актуальный код замены) Шайба (15x27x4) - Washer (15x27x4) | | 10 шт | 150 руб. |
| 9 | 09160-15057-000 | Шайба (15x27x4) - Washer (15x27x4) (Washer, flywheel, 15x27x4) | | 10 шт | 150 руб. |
| 10 | 09420-04008-000 | Ключ - Key (Ключ) | | 18 шт | 370 руб. |
Время выполнения запроса 0.52547883987427 сек. |
|