| |
 |
|
 |
Вернуться к выбору узлов мотора
ДЕТАЛИРОВКА ДЛЯ МОДЕЛИ: SUZUKI DF9.9ARLK10(P1) K10
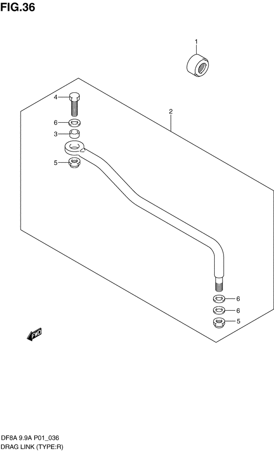
Переключающая тяга
Год выпуска двигателя: 2010
Номер на рисунке | Артикул | Наименование | QTY | Кол-во на складе | Цена |
| 1 | 41161-94400-000 | Сальник рулевого кабеля - Seal, Steering Cable (Seal, steering cable # ) (Уплотение кабеля) | | 16 шт | 1530 руб. |
| 2 | 67701-99J00-000 | Рулевая тяга в сборе - Link Assy, Drag | | под заказ | 17040 руб. |
| 2 | 67701-99J02-000 | (актуальный код замены) Рулевая тяга в сборе - Link Assy, Drag | | 1 шт | 17040 руб. |
| 2 | 67701-99J02-000 | Рулевая тяга в сборе - Link Assy, Drag (LINK ASSY, DRAG) | | 1 шт | 17040 руб. |
| 3 | 67721-89J00-000 | Проставка переключающей тяги - Spacer, Drag Link (Кольцо/шайба) | | под заказ | 1380 руб. |
| 4 | 67725-99J00-000 | Болт - Bolt (Bolt) | | под заказ | 4080 руб. |
| 5 | 67726-99E00-000 | Блокирующая гайка - Nut, Lock (Nut # ) (Гайка блокирующая) | | 3 шт | 800 руб. |
| 6 | 67728-99E00-000 | Шайба - Washer (Шайба) | | 2 шт | 260 руб. |
| 7 | 99011-99J02-055 | Руководство пользователя - Manual, Owners (Not shown # ) (Manual, owner's) | | под заказ | 2020 руб. |
| 7 | 99011-99J01-055 | Руководство пользователя - Manual, Owners (Df8a:110001~, df9.9a:110001~ # ) (Manual, owner's) | | под заказ | 2020 руб. |
Время выполнения запроса 0.70807600021362 сек. |
|