Купить запчасти на двигатель Suzuki DF15AS/L; DF15ARS/L модель 2013 года - Выпрямитель / Катушка зажигания / Rectifier/ignition coil
вконтакте

Контактный телефон: +7 (981) 121-46-93, +7 (800) 200-90-76 , Email: parts-katalog@yandex.ru, где купить

 
 

  Логин:

Пароль:

Регистрация

www.partskatalog.ru Все каталоги Запчасти Mercury Запчасти Suzuki Запчасти Tohatsu Запчасти Honda Контакты

назад Раздел:   вперёд

Вернуться к выбору узлов мотора


ДЕТАЛИРОВКА ДЛЯ МОДЕЛИ: SUZUKI DF15A/DF15AR FROM 01504F-310001~ (P01 013)

Выпрямитель / Катушка зажигания


Код модели двигателя: DF15AS/L; DF15ARS/L

Год выпуска двигателя: 2013

Регион: General Export No.1/General South East Asia ,Код региона: P01/P013

Цвет: Shadow Black Metallic

Номер на
рисунке
АртикулНаименованиеQTYКол-во
на складе
Цена
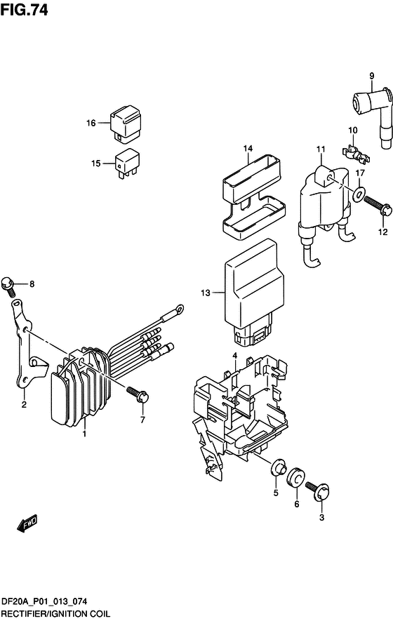
132800-89L00-000

Выпрямитель & Регулятор в сборе - Rectifier & Regulator Assy (W/ELECTRIC STARTER # ) (Выпрямитель и регулятор)

под заказ18290 руб.
132800-89L02-000

   (актуальный код замены) Выпрямитель & Регулятор в сборе - Rectifier & Regulator Assy

1 шт19970 руб.
232815-89L00-000

Кронштейн выпрямителя - Bracket, Rectifier (W/ELECTRIC STARTER # ) (Bracket, rectifier)

10 шт1150 руб.
309116-06196-000

Болт (6x20) - Bolt (6x20) (Болт 6X20)

под заказ170 руб.
432890-89L00-000

Держатель электрических частей - Holder, Electric Parts (Holder, electric parts)

под заказ770 руб.
509169-06063-000

Шайба - Washer (Washer (6.3x17x6) # ) (Шайба)

под заказ250 руб.
609320-08051-000

Подушка - Cushion (Cushion)

10 шт300 руб.
609320-08515-000

   (актуальный код замены) Подушка (8.4x18x6) - Cushion (8.4x18x6)

под заказ260 руб.
701550-06207-000

Болт - Bolt (Bolt # W/ELECTRIC STARTER # ) (Bolt (chrome))

17 шт220 руб.
801550-06167-000

Болт - Bolt (W/ELECTRIC STARTER # ) (Bolt)

9 шт210 руб.
933500-07H00-000

Колпачок свечи зажигания - Cap, Spark Plug (Cap, spark plug)

под заказ3870 руб.
1009408-00159-000

Струбцина - Clamp (Clamp)

под заказ260 руб.
1133410-89L00-000

Катушка зажигания - Coil, Ignition (Coil comp, ignition)

под заказ7400 руб.
1133410-89L11-000

   (актуальный код замены) Катушка зажигания - Coil Comp, Ignition

2 шт8890 руб.
1201550-06307-000

Болт - Bolt (Bolt # ) (Bolt (chrome))

8 шт250 руб.
1333920-89L21-000

Модуль контроля зажигания - Unit, Engine Control (W/ELECTRIC STARTER # ) (Unit, engine control)

под заказ60000 руб.
1333930-89L20-000

   (актуальный код замены) Модуль контроля зажигания - Unit, Engine Control

под заказ60000 руб.
1333920-89L31-000

Модуль контроля зажигания - Unit, Engine Control (W/MANUAL STARTER # )

под заказ60000 руб.
1333930-89L30-000

   (актуальный код замены) Модуль контроля зажигания - Unit, Engine Control

3 шт68990 руб.
1333920-89L32-000

Модуль контроля зажигания - Unit, Engine Control (UNIT, ENGINE CONTROL)

под заказ60000 руб.
1333930-89L30-000

   (актуальный код замены) Модуль контроля зажигания - Unit, Engine Control

3 шт68990 руб.
1433925-89L00-000

Подушка модуля управления двигателем - Cushion, Engine Control Unit (Cushion, engine control unit)

1 шт780 руб.
1538860-76F01-000

Реле в сборе - Relay Assy (Relay, starting motor # W/ELECTRIC STARTER # ) (Реле стартера)

7 шт5000 руб.
1638915-90J00-000

Держатель реле - Holder, Relay (W/ELECTRIC STARTER # ) (Держатель реле)

2 шт370 руб.
1709160-06168-000

Шайба (6x14x1) - Washer (6x14x1) (Шайба)

под заказ430 руб.


Время выполнения запроса 1.6827850341797 сек.

 
 

данный сайт носит информационный характер и не является публичной офертой

склад запчастей для водомоторной техники