Оригинальные запчасти на подвесной двигатель Suzuki DF15AS/L; DF15ARS/L - Поворотный кронштейн - Swivel bracket
вконтакте

Контактный телефон: +7 (981) 121-46-93, +7 (800) 200-90-76 , Email: parts-katalog@yandex.ru, где купить

 
 

  Логин:

Пароль:

Регистрация

www.partskatalog.ru Все каталоги Запчасти Mercury Запчасти Suzuki Запчасти Tohatsu Запчасти Honda Контакты

назад Раздел:   вперёд

Вернуться к выбору узлов мотора


ДЕТАЛИРОВКА ДЛЯ МОДЕЛИ: SUZUKI DF15A/DF15AR FROM 01504F-310001~ (P01 013)

Поворотный кронштейн


Код модели двигателя: DF15AS/L; DF15ARS/L

Год выпуска двигателя: 2013

Регион: General Export No.1/General South East Asia ,Код региона: P01/P013

Цвет: Shadow Black Metallic

Номер на
рисунке
АртикулНаименованиеQTYКол-во
на складе
Цена
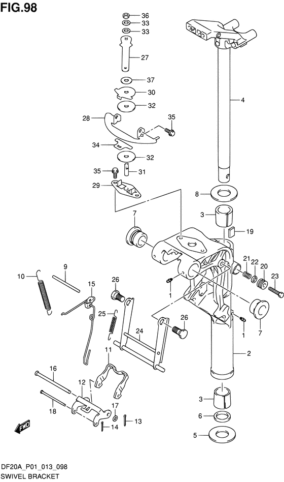
122511-92L00-000

Ниппель смазки - Nipple, Grease (Nipple, grease)

под заказ340 руб.
122511-99011-000

   (актуальный код замены) Ниппель смазки - Nipple, Grease

9 шт400 руб.
243111-89L00-0EP

Поворотный кронштейн - Bracket, Swivel (W/TRANSOM (S) # ) (Bracket, swivel (s))

под заказ10560 руб.
243111-89L10-0EP

Поворотный кронштейн (l) (чёрный) - Bracket, Swivel (l) (black) (W/TRANSOM (L) # )

под заказ10800 руб.
243111-89L11-0EP

   (актуальный код замены) Поворотный кронштейн (l) (чёрный) - Bracket, Swivel (l) (black)

под заказ10800 руб.
343711-99J00-000

Втулка рулевой системы - Bush, Steering (Втулка)

16 шт370 руб.
443750-99J40-0EP

(W/TRANSOM (S) # )

под заказ0 руб.
443750-99J50-0EP

Кронштейн рулевого управления (l) - Bracket, Steering (l) (W/TRANSOM (L) # ) (Bracket, steering (l) (black))

под заказ0 руб.
509160-27013-000

Шайба (27.5x47x2) - Washer (275x47x2) (Washer, 27.5x47x2)

9 шт350 руб.
609282-27002-000

Сальник (26x39x5) - Seal, Oil (26x39x5) (Seal, oil, 26x39x5)

12 шт570 руб.
743211-87JL0-000

Втулка поворотного кронштейна - Bush, Swivel Bracket (Bush, swivel bracket)

8 шт1770 руб.
7SK43211-87JL0

   (не оригинальный аналог) Втулка поворотного механизма Skipper для Suzuki DT9,9-15/ DF9,9-DF30a

0 шт148 руб.
809160-27012-000

Шайба (27.5x47x1) - Washer (275x47x1) (Washer, 27.5x47x1)

11 шт390 руб.
941225-89L00-000

Стопор освобождающего рычага - Pin, Release Arm (Pin, release arm)

1 шт350 руб.
1045212-89L00-000

Пружина рычага блокировки задней передачи - Spring, Reverse Lock Arm (Spring, reverse lock arm)

13 шт560 руб.
1145231-89L00-000

Рычаг блокировки реверса - Arm, Reverse Lock (Arm, reverse lock)

под заказ2030 руб.
1245241-89L00-000

Тяга рычага блокировки реверса - Link, Reverse Lock Arm (Link, reverse lock arm)

1 шт2460 руб.
1309204-01002-000

Штифт - Pin (Cotter pin # ) (Стопор)

24 шт140 руб.
1445247-99J00-000

Стопор блокировки поворотного механизма - Pin, Rev Lock Arm Cotter (Pin, rev lock arm cotter)

2 шт130 руб.
1545250-89L00-000

Освобождающая тяга - Link, Release

под заказ640 руб.
1545250-89L03-000

   (актуальный код замены) Освобождающая тяга - Link, Release

10 шт690 руб.
1545250-89L03-000

Освобождающая тяга - Link, Release (LINK, RELEASE)

10 шт690 руб.
1609200-06061-000

Штифт - Pin (Pin # ) (Pin (sus))

9 шт780 руб.
1709160-06082-000

Шайба (6.5x13x1.0) - Washer (65x13x10) (Washer # ) (Шайба)

7 шт150 руб.
1809200-05014-000

Штифт - Pin (Pin)

7 шт370 руб.
1943411-939L0-000

Пластина рулевого управления Регулятор - Plate, Steering Adjuster (Plate, steering adjuster)

6 шт200 руб.
2043412-93900-000

Крышка регулировки рулевой системыer - Cover, Steering Adjuster (Cover, steering adjust # ) (Крышка регулятора)

под заказ340 руб.
2043412-93901-000

   (актуальный код замены) Крышка регулировки рулевой системыer - Cover, Steering Adjuster

под заказ340 руб.
2129440-93J00-000

Пружина регулятора рулевой системы - Spring, Steering Adjuster (Пружина регулятора)

под заказ190 руб.
2209160-08082-000

Шайба (8.5x16x1.2) - Washer (85x16x12) (Шайба)

13 шт120 руб.
2309100-08232-000

Болт (8x30) - Bolt (8x30) (Bolt)

6 шт350 руб.
2445710-89L00-000

Ручка движения по мелководью - Arm, Shallow Drive (Arm comp, shallow drive)

под заказ4850 руб.
2445710-89L10-000

   (актуальный код замены) Ручка движения по мелководью - Arm, Shallow Drive

под заказ3800 руб.
2545722-94J11-000

Пружина, Shallow Water Рычаг привода - Spring, Shallow Water Drive Arm (Spring, shallow water drive arm)

4 шт1900 руб.
2609111-10067-000

Болт (10x20.5) - Bolt (10x205) (Bolt, 10x20.4)

2 шт430 руб.
2743411-89L00-000

Рычаг регулировки рулевой системы - Lever, Steering Adjuster (Lever, steering adjuster)

под заказ360 руб.
2843415-89L00-000

Пластина регулировки рулевой системы (h) - Plate, Strg Adjuster (h) (Plate, strg adj (h))

под заказ790 руб.
2843415-89L01-000

   (актуальный код замены) Пластина регулировки рулевой системы (h) - Plate, Strg Adjuster (h)

43 шт1110 руб.
2943420-89L00-000

Пластина фрикциона регулировки рулевого управления - Plate, Strg Adjuster Friction (Plate comp, strg adj friction)

1 шт800 руб.
3043425-89L00-000

Пластина регулировки рулевой системы вышеr - Plate, Strg Adjuster Upr (Plate, strg adj upper)

1 шт280 руб.
3143512-89L00-000

Резьбовой вал регулировки рулевого управления (h) - Shaft, Strg Adjuster Thread (h) (Shaft, strg adj thread (h))

1 шт230 руб.
3243515-88L00-000

Шайба фрикциона регулировки рулевой системы Пластина - Washer, Strg Adj Friction Plate (Washer, strg adj friction plate)

под заказ1820 руб.
3343516-89J00-000

Шайба регулятора рулевой системы - Washer, Steering Adjuster (Шайба регулятора)

под заказ1330 руб.
3443517-89L00-000

Проставка регулятора рулевой системы - Spacer, Steering Adjuster (Spacer, steering adjuster)

1 шт530 руб.
3509116-06225-000

Болт (6x15) - Bolt (6x15) (Bolt, 6x15)

6 шт250 руб.
3609159-08L02-000

Гайка - Nut (Гайка)

4 шт330 руб.
3709161-08019-000

Шайба (8.2x18x1.2) - Washer (82x18x12) (Washer, 8.2x18x1.2)

6 шт150 руб.


Время выполнения запроса 1.5158250331879 сек.

 
 

данный сайт носит информационный характер и не является публичной офертой

склад запчастей для водомоторной техники