Оригинальные запчасти на двигатель Suzuki DF15S/L; DF15RS/L модель 1996 года - Clutch / Сцепление
вконтакте

Контактный телефон: +7 (981) 121-46-93, +7 (800) 200-90-76 , Email: parts-katalog@yandex.ru, где купить

 
 

  Логин:

Пароль:

Регистрация

www.partskatalog.ru Все каталоги Запчасти Mercury Запчасти Suzuki Запчасти Tohatsu Запчасти Honda Контакты



УВАЖАЕМЫЕ КЛИЕНТЫ!
C 19 ДЕКАБРЯ 2025 ПО 02 МАРТА 2026 ГОДА ОТДЕЛ ЗАПЧАСТЕЙ И СЕРВИС РАБОТАТЬ НЕ БУДУТ
ПРОДАЖА ЛОДОЧНЫХ МОТОРОВ В ШТАТНОМ РЕЖИМЕ
ОБ ИЗМЕНЕНИЯХ В ГРАФИКЕ РАБОТЫ ЧИТАЙТЕ НА САЙТА



назад Раздел:   вперёд

Вернуться к выбору узлов мотора


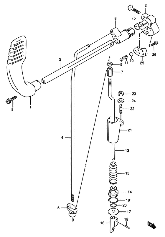
ДЕТАЛИРОВКА ДЛЯ МОДЕЛИ: SUZUKI DF15(A,AR)S T

Сцепление


Код модели двигателя: DF15S/L; DF15RS/L

Год выпуска двигателя: 1996

Цвет: Shadow Black Metallic

Номер на
рисунке
АртикулНаименованиеQTYКол-во
на складе
Цена
121111-93E00-000

Запчасть снята с производства - The Spare Part Is Laid Off

под заказ0 руб.
221121-93E01-000

(<-1121-93E00 # )

под заказ0 руб.
201550-06257-000

Болт - Bolt (Bolt)

под заказ180 руб.
221120-93E10-000

Рычаг в паз сцепления - Lever, Clutch Notch (Рукоятка муфты)

4 шт1190 руб.
321211-93E00-000

Запчасть снята с производства - The Spare Part Is Laid Off

под заказ0 руб.
423111-93E00-000

Тяга сцепления - Rod, Clutch (Штанга муфты)

1 шт1760 руб.
523131-93900-000

Башмак тяги сцепления - Boot, Clutch Rod (Boot, clutch rod # ) (Колпак муфты)

под заказ470 руб.
523131-95L00-000

   (актуальный код замены) Башмак тяги сцепления - Boot, Clutch Rod

под заказ470 руб.
623211-93E00-000

Рукоятка тяги сцепления - Arm, Clutch Rod

под заказ910 руб.
623211-93E01-000

   (актуальный код замены) Рукоятка тяги сцепления - Arm, Clutch Rod

3 шт950 руб.
623211-93E01-000

Рукоятка тяги сцепления - Arm, Clutch Rod (Рычаг муфты)

3 шт950 руб.
723311-94300-000

Buckle, Тяга сцепления Turn - Buckle, Clutch Rod Turn (Зажим муфты)

10 шт900 руб.
809106-06084-000

Болт (6x20) - Bolt (6x20) (Bolt # ) (Bolt (6x20))

под заказ340 руб.
909140-06020-000

Гайка - Nut (Гайка)

9 шт150 руб.
1009260-10005-000

Шарик - Ball (Steel ball # ) (Ball)

4 шт210 руб.
1109440-07021-000

Пружина - Spring (Spring, clutch notch # <-9440-08036 # ) (Пружина)

под заказ160 руб.
1202142-06257-000

Винт - Screw (Screw # ) (Винт)

под заказ90 руб.
1325111-93900-000

Переключающая тяга Set (l) - Shift Rod Set (l)

под заказ4610 руб.
1325100-93820-000

   (актуальный код замены) Переключающая тяга Set (l) - Shift Rod Set (l)

под заказ4610 руб.
1325100-93820-000

Переключающая тяга Set (l) - Shift Rod Set (l) (Shift rod set (l))

под заказ4610 руб.
1325111-93910-000

Переключающая тяга Set (s) - Shift Rod Set (s)

под заказ4420 руб.
1325100-93810-000

   (актуальный код замены) Переключающая тяга Set (s) - Shift Rod Set (s)

под заказ4420 руб.
1325100-93810-000

Переключающая тяга Set (s) - Shift Rod Set (s) (Shift rod set (s))

под заказ4420 руб.
1425211-93901-000

Направляющая переключающей тяги - Guide, Shift Rod (Направляющая переключетеля)

3 шт610 руб.
1525222-93901-000

Башмак переключающей тяги - Boot, Shift Rod (Boot, shift rod # ) (Boot shift rod)

1 шт930 руб.
1525222-93902-000

   (актуальный код замены) Башмак переключающей тяги - Boot, Shift Rod

23 шт930 руб.
15SK25222-93901

   (не оригинальный аналог) Гофра тяги переключения передач Skipper для Suzuki DT4-5/9.9-15/DF4-15

0 шт176 руб.
1625311-93E10-000

Запчасть снята с производства - The Spare Part Is Laid Off

под заказ0 руб.
1709160-05047-000

Шайба (5.5x24x1.6) - Washer (55x24x16) (Washer # ) (Шайба)

под заказ150 руб.
1809205-02006-000

Стопор пружины (2x12) - Pin, Spring (2x12) (Pin, spring # ) (Pin)

10 шт140 руб.
1909280-19006-000

Уплотнительное кольцо направляющей переключающей тяги - O Ring, Shift Rod Guide

под заказ160 руб.
1959291-94J00-000

   (актуальный код замены) Уплотнительное кольцо направляющей переключающей тяги - O Ring, Shift Rod Guide

11 шт200 руб.
1959291-94J00-000

Уплотнительное кольцо направляющей переключающей тяги - O Ring, Shift Rod Guide (O ring (d:3.6 id:18.6))

11 шт200 руб.
2009280-05005-000

Уплотнительное кольцо (d: 3.5, Id: 4.9) - O Ring (d:35, Id:49) (O ring (d:3.5 id:4.9) # ) (O ring)

25 шт160 руб.
2125205-93901-000

Стопор переключателя направляющей тяги - Stopper, Shift Rod Guide

под заказ200 руб.
2125215-94J00-000

   (актуальный код замены) Стопор переключателя направляющей тяги - Stopper, Shift Rod Guide

1 шт240 руб.
2125215-94J00-000

Стопор переключателя направляющей тяги - Stopper, Shift Rod Guide (Стопор направляющей)

1 шт240 руб.
2209108-05007-000

Болт под шпильку - Bolt, Stud (Stud bolt # ) (Болт)

под заказ270 руб.
2309140-05005-000

Гайка - Nut (Гайка)

10 шт270 руб.
2409160-05029-000

Шайба (5.5x12x0.8) - Washer (55x12x08) (Washer # ) (Шайба)

14 шт130 руб.
2521122-93E00-000

Пластина в паз сцепления - Plate, Clutch Notch (Плата муфты)

1 шт0 руб.
2602142-06207-000

Винт - Screw (Screw # ) (Винт 6X20)

7 шт110 руб.


Время выполнения запроса 4.244537115097 сек.

 
 

данный сайт носит информационный характер и не является публичной офертой

склад запчастей для водомоторной техники