Купить запчасти на подвесной двигатель Suzuki DF15S/L; DF15RS/L модель 1997 года - Drag link
вконтакте

Контактный телефон: +7 (981) 121-46-93, +7 (800) 200-90-76 , Email: parts-katalog@yandex.ru, где купить

 
 

  Логин:

Пароль:

Регистрация

www.partskatalog.ru Все каталоги Запчасти Mercury Запчасти Suzuki Запчасти Tohatsu Запчасти Honda Контакты

назад Раздел:   вперёд

Вернуться к выбору узлов мотора


ДЕТАЛИРОВКА ДЛЯ МОДЕЛИ: SUZUKI DF15SV(E1) V

Переключающая тяга


Код модели двигателя: DF15S/L; DF15RS/L

Год выпуска двигателя: 1997

Регион: General Export No.1 ,Код региона: P01

Цвет: Shadow Black Metallic

Номер на
рисунке
АртикулНаименованиеQTYКол-во
на складе
Цена
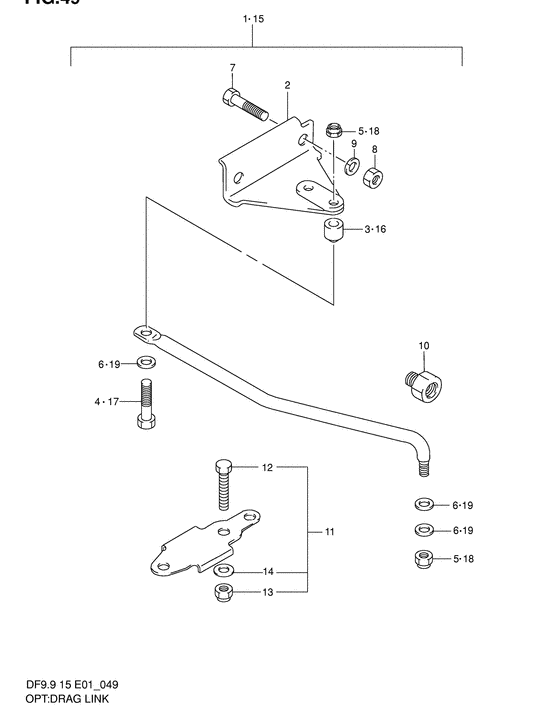
167701-89E00-000

Рулевая тяга в сборе - Link Assy, Drag

под заказ16520 руб.
167701-89E10-000

   (актуальный код замены) Рулевая тяга в сборе - Link Assy, Drag

1 шт16520 руб.
167701-89E10-000

Рулевая тяга в сборе - Link Assy, Drag (Тяга рулевого управления)

1 шт16520 руб.
167701-93E00-000

Рулевая тяга в сборе - Link Assy, Drag (Df9.9 652816~, df15 653078~, # )

под заказ11040 руб.
167701-93E12-000

   (актуальный код замены) Рулевая тяга в сборе - Link Assy, Drag

под заказ11040 руб.
167701-93E12-000

Рулевая тяга в сборе - Link Assy, Drag (Тяга рулевого управления)

под заказ11040 руб.
167701-93E11-000

Рулевая тяга в сборе - Link Assy, Drag (Model:03 # )

под заказ11040 руб.
167701-93E12-000

   (актуальный код замены) Рулевая тяга в сборе - Link Assy, Drag

под заказ11040 руб.
167701-93E12-000

Рулевая тяга в сборе - Link Assy, Drag (Тяга рулевого управления)

под заказ11040 руб.
243755-96310-000

Соединитель кронштейна рулевой системы - Attachment, Steering Bracket (Attachment, steering brkt; For 67701-89e00 # )

под заказ15510 руб.
243755-96320-000

   (актуальный код замены) Соединитель кронштейна рулевой системы - Attachment, Steering Bracket

2 шт15510 руб.
243755-96320-000

Соединитель кронштейна рулевой системы - Attachment, Steering Bracket (Кронштейн фиксации)

2 шт15510 руб.
367721-99E10-000

Проставка переключающей тяги (l: 14.5) - Spacer, Drag Link (l:145) (Spacer, drag link # ) (Spacer (l:14.5))

под заказ0 руб.
367721-93E00-000

Проставка переключающей тяги (l: 13) - Spacer, Drag Link (l:13) (Spacer, drag link # Model:03 # ) (Spacer (l:13))

под заказ1110 руб.
467725-99E10-000

Болт - Bolt (Bolt)

под заказ1200 руб.
467725-99E20-000

   (актуальный код замены) Болт переключающей тяги - Bolt, Drag Link

под заказ1200 руб.
567726-99E00-000

Блокирующая гайка - Nut, Lock (Nut # ) (Гайка блокирующая)

3 шт800 руб.
667728-99E00-000

Шайба - Washer (Шайба)

2 шт260 руб.
709100-08224-000

Болт (8x35) - Bolt (8x35) (Bolt (8x35); For 67701-89e00 # )

под заказ470 руб.
709100-08224-XC0

   (актуальный код замены) Болт (8x35) - Bolt (8x35)

40 шт470 руб.
709100-08224-XC0

Болт (8x35) - Bolt (8x35) (Болт, 8X35)

40 шт470 руб.
809140-08016-000

Гайка - Nut (For 67701-89e00 # )

под заказ190 руб.
809140-08023-XC0

Гайка - Nut (Гайка)

14 шт190 руб.
909162-08007-000

Шайба с блокировкой - Washer, Lock (Lock washer # Washer (8.2x15.4x2.0); For 67701-89e00 # ) (Washer lock)

под заказ160 руб.
1041141-89E00-000

Соединитель рулевой системы Кабели - Attachment, Steering Cable (Кабель фиксации)

под заказ12680 руб.
1167720-93E00-000

Соединитель, Strg Brkt Sub - Attachment, Strg Brkt Sub (Кронштейн фиксации)

под заказ3120 руб.
1267725-93E00-000

Болт крепления рулевого кронштейна - Bolt, Strg Brkt Sub (Bolt, strg brkt sub atch # Bolt, strg brkt sub atch; # ) (Bolt)

под заказ680 руб.
1367726-99E00-000

Блокирующая гайка - Nut, Lock (Nut # ) (Гайка блокирующая)

3 шт800 руб.
1467728-99E00-000

Шайба - Washer (Шайба)

2 шт260 руб.
1567701-93E10-000

Рулевая тяга в сборе - Link Assy, Drag (Model:01~02 # )

под заказ11040 руб.
1567701-93E12-000

   (актуальный код замены) Рулевая тяга в сборе - Link Assy, Drag

под заказ11040 руб.
1567701-93E12-000

Рулевая тяга в сборе - Link Assy, Drag (Тяга рулевого управления)

под заказ11040 руб.
1567701-93E11-000

Рулевая тяга в сборе - Link Assy, Drag (Model:03 # )

под заказ11040 руб.
1567701-93E12-000

   (актуальный код замены) Рулевая тяга в сборе - Link Assy, Drag

под заказ11040 руб.
1567701-93E12-000

Рулевая тяга в сборе - Link Assy, Drag (Тяга рулевого управления)

под заказ11040 руб.
1667721-99E10-000

Проставка переключающей тяги (l: 14.5) - Spacer, Drag Link (l:145) (Spacer, drag link # Model:01~02 # ) (Spacer (l:14.5))

под заказ0 руб.
1667721-93E00-000

Проставка переключающей тяги (l: 13) - Spacer, Drag Link (l:13) (Spacer, drag link # Model:03 # ) (Spacer (l:13))

под заказ1110 руб.
1767725-99E10-000

Болт - Bolt (Model:01~03 # ) (Bolt)

под заказ1200 руб.
1767725-99E20-000

   (актуальный код замены) Болт переключающей тяги - Bolt, Drag Link

под заказ1200 руб.
1867726-99E00-000

Блокирующая гайка - Nut, Lock (Nut # Model:01~03 # ) (Гайка блокирующая)

3 шт800 руб.
1967728-99E00-000

Шайба - Washer (Model:01~03 # ) (Шайба)

2 шт260 руб.


Время выполнения запроса 1.0618109703064 сек.

 
 

данный сайт носит информационный характер и не является публичной офертой

склад запчастей для водомоторной техники