Подобрать оригинальные запчасти на подвесной двигатель Suzuki модель 2005 года - Картер коробки передач
вконтакте

Контактный телефон: +7 (981) 121-46-93, +7 (800) 200-90-76 , Email: parts-katalog@yandex.ru, где купить

 
 

  Логин:

Пароль:

Регистрация

www.partskatalog.ru Все каталоги Запчасти Mercury Запчасти Suzuki Запчасти Tohatsu Запчасти Honda Контакты



УВАЖАЕМЫЕ КЛИЕНТЫ!
C 19 ДЕКАБРЯ 2025 ПО 02 МАРТА 2026 ГОДА ОТДЕЛ ЗАПЧАСТЕЙ И СЕРВИС РАБОТАТЬ НЕ БУДУТ
ПРОДАЖА ЛОДОЧНЫХ МОТОРОВ В ШТАТНОМ РЕЖИМЕ
ОБ ИЗМЕНЕНИЯХ В ГРАФИКЕ РАБОТЫ ЧИТАЙТЕ НА САЙТА



назад Раздел:   вперёд

Вернуться к выбору узлов мотора


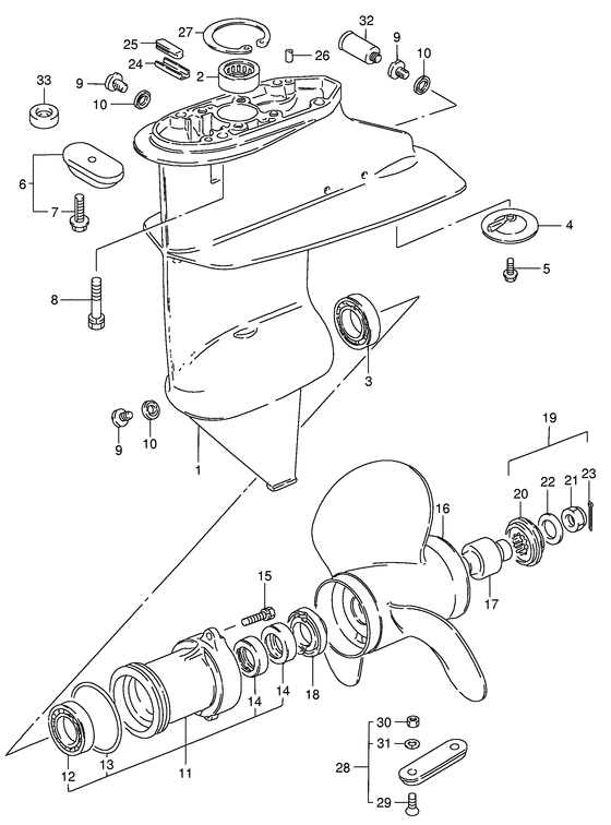
ДЕТАЛИРОВКА ДЛЯ МОДЕЛИ: SUZUKI DF15SK5(P1) K5

Картер коробки передач


Год выпуска двигателя: 2005

Номер на
рисунке
АртикулНаименованиеQTYКол-во
на складе
Цена
155100-93932-0EP

Корпус редутора - Case Assy, Gear

под заказ37920 руб.
155100-90L10-0EP

   (актуальный код замены) Корпус редутора - Case Assy, Gear

под заказ37920 руб.
155100-90L00-0EP

Корпус редутора - Case Assy, Gear (Case assy, gear)

под заказ37920 руб.
155100-90L10-0EP

   (актуальный код замены) Корпус редутора - Case Assy, Gear

под заказ37920 руб.
155100-94J00-0EP

Корпус редутора - Case Assy, Gear (Model:07~09 # )

под заказ58560 руб.
155100-94J20-0EP

   (актуальный код замены) Корпус редутора - Case Assy, Gear

3 шт58560 руб.
155100-94J20-0EP

Корпус редутора - Case Assy, Gear (Корпус редуктора)

3 шт58560 руб.
155100-94J20-0EP

Корпус редутора - Case Assy, Gear (Model:10~ # ) (Корпус редуктора)

3 шт58560 руб.
209263-15019-000

Подшипник (15x21x12) - Bearing (15x21x12) (Bearing (15x21x12) # Bearing (15x21x12); # ) (Подшипник)

3 шт1300 руб.
309262-25003-000

Подшипник (25x52x15) - Bearing (25x52x15) (Bearing (25x52x15) # Bearing (25x52x15); # ) (Подшипник B1 25X52X15)

16 шт2510 руб.
36205NNTN

   (подбор по маркировке) Подшипник NTN 6205N(25*52*15 мм)

под заказ0
455321-93900-000

Zinc, Protection - Zinc, Protection (Zinc, protection # ) (Протектор цинковый)

под заказ540 руб.
455321-939L0-000

   (актуальный код замены) Zinc, Protection

2 шт540 руб.
509116-06094-000

Болт (6x15) - Bolt (6x15) (Bolt (6x15) # Bolt (6x15); # ) (Болт 6X15)

20 шт270 руб.
641811-98500-000

Zinc, Protection - Zinc, Protection (Zinc, protection; # )

3 шт540 руб.
655321-90L00-000

   (актуальный код замены) Zinc, Protection

под заказ540 руб.
655321-90L00-000

Zinc, Protection - Zinc, Protection (Zinc, protection)

под заказ540 руб.
709116-06094-000

Болт (6x15) - Bolt (6x15) (Bolt (6x15) # Bolt (6x15); # ) (Болт 6X15)

20 шт270 руб.
809117-08047-000

Болт (8x30) - Bolt (8x30) (Bolt # Bolt (8x30); # ) (Болт 8X30)

10 шт520 руб.
909248-10008-000

Заглушка (10x7.5) - Plug (10x75) (Plug (10x7.5); # ) (Заглушка дренажная 10X7)

120 шт500 руб.
1009168-10022-000

Прокладка (10x17x1.5) - Gasket (10x17x15) (Gasket (10x17x1.5); # ) (Прокладка)

2205 шт150 руб.
1156120-93901-0EP

Корпус подшипника вала гребного винта - Housing, Propeller Sft Brg

под заказ26160 руб.
1156120-90L02-0EP

   (актуальный код замены) Корпус подшипника вала гребного винта - Housing, Propeller Sft Brg

2 шт26160 руб.
11SK56120-93901-0EP

   (не оригинальный аналог) Обойма гребного вала Skipper для Suzuki DF9.9-15

0 шт3438 руб.
1156120-90L01-0EP

Корпус подшипника вала гребного винта - Housing, Propeller Sft Brg (Housing, prop shaft brg (black))

5 шт26160 руб.
1156120-90L02-0EP

   (актуальный код замены) Корпус подшипника вала гребного винта - Housing, Propeller Sft Brg

2 шт26160 руб.
1156120-94J10-0EP

Корпус подшипника вала гребного винта - Housing, Propeller Sft Brg (Model:10 # )

под заказ26160 руб.
1156120-90L02-0EP

   (актуальный код замены) Корпус подшипника вала гребного винта - Housing, Propeller Sft Brg

2 шт26160 руб.
1156120-94J20-0EP

Корпус подшипника вала гребного винта - Housing, Propeller Sft Brg (Df15:110001~ # )

под заказ26160 руб.
1156120-90L02-0EP

   (актуальный код замены) Корпус подшипника вала гребного винта - Housing, Propeller Sft Brg

2 шт26160 руб.
1208110-60050-000

Подшипник - Bearing (Bearing # ) (Подшипник B1 25X47X12)

6 шт1960 руб.
12SC-BR011

   (не оригинальный аналог) Подшипник шестерни заднего хода Yamaha SC-BR011

под заказ1160 руб.
1309280-57002-000

Уплотнительное кольцо (d: 3.5, Id: 65.2) - O Ring (d:35, Id:652) (O ring (d:3.5 id:56.5) # O ring (d:3.5 id:56.5); # ) (Кольцо (D:3.5 ID:56.5))

42 шт220 руб.
13SK09280-57002

   (не оригинальный аналог) Кольцо уплотнительное обоймы гребного вала Skipper для Suzuki Модели техники: DT9.9-15HP, DF9.9-15HP, DF8A-20A

0 шт88 руб.
13SC-RB010

   (не оригинальный аналог) Кольцо резиновое Suzuki SSC-RB010

под заказ250 руб.
1309280-57L01-000

Уплотнительное кольцо (d: 3.5, Id: 65.2) - O Ring (d:35, Id:652) (O ring (d:3.5 id:56.5); Df15:110001~ # )

под заказ220 руб.
1309280-57002-000

   (актуальный код замены) Уплотнительное кольцо (d: 3.5, Id: 65.2) - O Ring (d:3.5, Id:65.2)

42 шт220 руб.
1309280-57002-000

Уплотнительное кольцо (d: 3.5, Id: 65.2) - O Ring (d:35, Id:652) (O ring (d:3.5 id:56.5) # ) (Кольцо (D:3.5 ID:56.5))

42 шт220 руб.
13SK09280-57002

   (не оригинальный аналог) Кольцо уплотнительное обоймы гребного вала Skipper для Suzuki Модели техники: DT9.9-15HP, DF9.9-15HP, DF8A-20A

0 шт88 руб.
1409289-17006-000

Сальник (17x30x6) - Seal, Oil (17x30x6) (Oil seal (16x30x6); # )

4 шт370 руб.
1409289-17L02-000

   (актуальный код замены) Сальник (17x30x6) - Seal, Oil (17x30x6)

158 шт370 руб.
14SK09289-17006

   (не оригинальный аналог) Сальник гребного вала Skipper для Suzuki Модели техники: DT/DF9.9-15, DF8A-DF9.9A

2 шт116 руб.
14SC-OL003

   (не оригинальный аналог) Сальник редуктора Yamaha SC-OL003

под заказ230 руб.
14SC-OL002

   (не оригинальный аналог) Сальник редуктора Yamaha SC-OL002

под заказ230 руб.
1409289-17L02-000

Сальник (17x30x6) - Seal, Oil (17x30x6) (Seal, oil, 17x30x6)

158 шт370 руб.
1529116-93J00-000

Болт - Bolt (Bolt (6x20); # ) (Bolt (6x20))

10 шт250 руб.
1658100-93703-019

Гребной винт (3x9-1 / 4x7) - Propeller (3x9-1/4x7) (Propeller, 3x9-1/4x7 (m701); # )

7 шт20500 руб.
1658100-89L00-019

   (актуальный код замены) Гребной винт (3x9-1 / 4x7) (m701) - Propeller (3x9-1/4x7) (m701)

8 шт20500 руб.
1658100-89L00-019

Гребной винт (3x9-1 / 4x7) - Propeller (3x9-1/4x7) (Винт (3x235x178))

8 шт20500 руб.
16SK58100-89L00-019

   (не оригинальный аналог) Винт гребной Skipper Ultima для Suzuki 8-20HP алюминиевый,диаметр 9 1/4", шаг 7"

0 шт3145 руб.
1658100-94J00-019

Гребной винт (3x9-1 / 4x9) - Propeller (3x9-1/4x9) (Propeller, 3x9-1/4x9 (m901); # )

7 шт20500 руб.
16SMO-58100-94J00-019

   (не оригинальный аналог) Гребной винт SMO-58100-94J00-019 (3X9-1 / 4X9) (M930) (после возврата)

1 шт12000 руб.
1658100-89L20-019

   (актуальный код замены) Гребной винт (3x9-1 / 4x9) (m930) - Propeller (3x9-1/4x9) (m930)

2 шт20500 руб.
16NEY-S9-20-S09

   (не оригинальный аналог) Композитный гребной винт NEY-S9-20-S09 шаг 9 на Suzuki DF9.9B, DF15B, DF20B, DT9.9, DT15, DT9.9A. DT15A

2 шт3000 руб.
16SMO-58100-94J00-019

  (аналог) Гребной винт SMO-58100-94J00-019 (3X9-1 / 4X9) (M930) (после возврата) - код 58100-94J00-019

 1 шт шт12000 руб.
1658100-89L20-019

Гребной винт (3x9-1 / 4x9) - Propeller (3x9-1/4x9) (Винт (3x235x229))

2 шт20500 руб.
1658100-93733-019

Гребной винт (3x9-1 / 4x10) - Propeller (3x9-1/4x10) (Propeller, 3x9-1/4x10 (m1001); # )

под заказ20500 руб.
16NEY-S9-20-S10

   (не оригинальный аналог) Композитный гребной винт NEY-S9-20-S10 шаг 10 на Suzuki DF9.9B, DF15B, DF20B, DT9.9, DT15, DT9.9A. DT15A

12 шт3000 руб.
1658100-89L60-019

   (актуальный код замены) Гребной винт (3x235x254) - Propeller (3x235x254)

16 шт20500 руб.
16SMO-58100-89L60-019

   (не оригинальный аналог) Гребной винт SMO-58100-89L60-019 (3X9-1 / 4X10) (M1001) (чёрный) (потертость на втулке, см. фото)

1 шт14000 руб.
16SMO-58100-89L60-019

  (аналог) Гребной винт SMO-58100-89L60-019 (3X9-1 / 4X10) (M1001) (чёрный) (потертость на втулке, см. фото) - код 58100-89L60-019

 1 шт шт14000 руб.
1658100-89L30-019

Гребной винт (3x9-1 / 4x10) - Propeller (3x9-1/4x10) (Винт (3x235x254))

под заказ20500 руб.
1658100-89L60-019

   (актуальный код замены) Гребной винт (3x235x254) - Propeller (3x235x254)

16 шт20500 руб.
16SMO-58100-89L60-019

  (аналог) Гребной винт SMO-58100-89L60-019 (3X9-1 / 4X10) (M1001) (чёрный) (потертость на втулке, см. фото) - код 58100-89L60-019

 1 шт шт14000 руб.
1658100-93743-019

Гребной винт (3x9-1 / 4x11) - Propeller (3x9-1/4x11) (Propeller, 3x9-1/4x11 (m1101); # )

1 шт20500 руб.
16RTP-3AJ11-SU

   (не оригинальный аналог) Гребной винт RTP-3AJ11-SU (3x9-1/4x11) шаг 11 на Suzuki 9-20 л.с.

под заказ4900 руб.
1658100-89L70-019

   (актуальный код замены) Гребной винт (3x9-1 / 4x11) - Propeller (3x9-1/4x11)

3 шт20500 руб.
1658100-89L70-019-CG

  (аналог) Гребной винт 58100-89L70-019-CG (3x9.25x11) на лодочные моторы Suzuki 9.9-15 л.с. - код 58100-89L70-019

 4 шт шт5500 руб.
1658100-89L40-019

Гребной винт (3x9-1 / 4x11) - Propeller (3x9-1/4x11) (Винт (3x235x280))

под заказ20500 руб.
1658100-89L70-019

   (актуальный код замены) Гребной винт (3x9-1 / 4x11) - Propeller (3x9-1/4x11)

3 шт20500 руб.
1658100-89L70-019-CG

  (аналог) Гребной винт 58100-89L70-019-CG (3x9.25x11) на лодочные моторы Suzuki 9.9-15 л.с. - код 58100-89L70-019

 4 шт шт5500 руб.
1658100-91D00-019

Гребной винт (3x9-1 / 4x8) - Propeller (3x9-1/4x8) (Propeller, 3x9-1/4x8 (m811); # )

1 шт20500 руб.
1658100-90L41-019

   (актуальный код замены) Гребной винт (3x235x203) - Propeller (3x235x203)

2 шт20500 руб.
1658100-90L01-019

Гребной винт (3x9-1 / 4x8) - Propeller (3x9-1/4x8) (Винт (3x9-1/4x8))

под заказ20500 руб.
1658100-90L41-019

   (актуальный код замены) Гребной винт (3x235x203) - Propeller (3x235x203)

2 шт20500 руб.
1658100-93763-019

Гребной винт (3x9-1 / 4x9) - Propeller (3x9-1/4x9) (Propeller, 3x9-1/4x9 (m911); # )

1 шт20500 руб.
1658100-90L50-019

   (актуальный код замены) Гребной винт (3x9-1 / 4x9) (m911) - Propeller (3x9-1/4x9) (m911)

2 шт20500 руб.
1658100-90L11-019

Гребной винт (3x9-1 / 4x9) - Propeller (3x9-1/4x9) (Винт (3x9-1/4x9))

под заказ20500 руб.
1658100-90L50-019

   (актуальный код замены) Гребной винт (3x9-1 / 4x9) (m911) - Propeller (3x9-1/4x9) (m911)

2 шт20500 руб.
1658100-93773-019

Гребной винт (3x9-1 / 4x10) - Propeller (3x9-1/4x10) (Propeller, 3x9-1/4x10 (m1011); # )

под заказ20500 руб.
1658100-90L60-019

   (актуальный код замены) Гребной винт (3x9-1 / 4x10) (m1011) - Propeller (3x9-1/4x10) (m1011)

4 шт20500 руб.
1658100-90L21-019

Гребной винт (3x9-1 / 4x10) - Propeller (3x9-1/4x10) (Винт (3x235x254))

под заказ20500 руб.
1658100-90L60-019

   (актуальный код замены) Гребной винт (3x9-1 / 4x10) (m1011) - Propeller (3x9-1/4x10) (m1011)

4 шт20500 руб.
1758120-93701-000

Втулка гребного винта - Bush, Propeller (Втулка пропеллера)

1 шт4720 руб.
1857632-93902-000

Стопор втулки гребного винта - Stopper, Propeller Bush

под заказ3700 руб.
18SMO-57632-94J00-000

   (не оригинальный аналог) Стопор SMO-57632-94J00-000 втулки гребного винта (оригинал)

под заказ2700 руб.
1857632-94J00-000

   (актуальный код замены) Стопор втулки гребного винта - Stopper, Propeller Bush

2 шт4040 руб.
1857632-94J00-000

Стопор втулки гребного винта - Stopper, Propeller Bush (Stopper, propeller bush)

2 шт4040 руб.
1857632-94J00-000

Стопор втулки гребного винта - Stopper, Propeller Bush (Df15:110001~ # ) (Stopper, propeller bush)

2 шт4040 руб.
1957630-93900-000

Гайка гребного винта, комплект - Kit, Propeller Nut (Nut kit, propeller # Nut kit, propeller; Opt # ) (Гайка пропеллера)

1 шт4010 руб.
1957630-93901-000

   (актуальный код замены) Гайка гребного винта, комплект - Kit, Propeller Nut

3 шт4150 руб.
2057633-93901-000

Проставка гайки гребного винта - Spacer, Propeller Nut (Прокладка гайки)

1 шт3030 руб.
2109141-12005-000

Гайка - Nut (Гайка)

26 шт880 руб.
21RTT-09141-12005

   (не оригинальный аналог) Гайка RTT-09141-12005 гребного винта

2 шт350 руб.
21SK09141-12005

   (не оригинальный аналог) Гайка крепления гребного винта Skipper для Suzuki DT9.9-15/DF8A-20A

0 шт158 руб.
2209160-12066-000

Шайба (12.5x22x2.5) - Washer (125x22x25) (Washer (12.5x22x2.5) # Washer (12.5x22x2.5); # ) (Шайба)

19 шт150 руб.
2309204-02004-000

Штифт - Pin (Pin, cotter # Pin, cotter; # ) (Pin)

4 шт140 руб.
23SK09204-02004

   (не оригинальный аналог) Шплинт гайки гребного винта Skipper для Suzuki DT9.9-15/DF8-20

0 шт84 руб.
2455331-93901-000

Основание выхлопного сальника - Core, Exhaust Seal (Core, exhaust seal # ) (Стержень выхода)

под заказ220 руб.
2555332-92D00-000

Резинка выхлопного сальника - Rubber, Exhaust Seal (Rubber, exhaust seal # ) (Уплотнение)

под заказ430 руб.
2555332-92D01-000

   (актуальный код замены) Резинка выхлопного сальника - Rubber, Exhaust Seal

2 шт570 руб.
2609202-06023-000

Штифт (6x10) - Pin (6x10) (Pin)

6 шт290 руб.
2708331-41326-000

Стопорное кольцо - Circlip

под заказ170 руб.
2708331-41329-000

   (актуальный код замены) Стопорное кольцо - Circlip

под заказ170 руб.
2708331-41329-000

Стопорное кольцо - Circlip (Circlip)

под заказ170 руб.
2855300-95500-000

Цинковая защита, в сборе - Zinc Assy, Protection (Zinc, protection # Zinc assy, protection; Opt # ) (Протектор цинковый)

2 шт1940 руб.
2909126-06006-000

Винт (6x20) - Screw (6x20) (Screw (6x20); Opt # ) (Болт)

под заказ150 руб.
3029141-93J00-000

Гайка - Nut (Opt # ) (Гайка)

18 шт480 руб.
3129162-93J00-000

Шайба - Washer (Washer # Washer; Opt # ) (Пластина замка)

9 шт130 руб.
3255181-95200-000

Соединение шланга для промывки - Attachment, Flush Hose (Attachment, flush hose # Attachment, flush hose; Opt # ) (Переходник)

2 шт810 руб.
3355321-87J10-000

Анод, Magnesium - Anode, Magnesium (Anode (magnesium); Opt # ) (Анод)

под заказ1490 руб.
3355321-87J11-000

   (актуальный код замены) Анод (магниевый) - Anode (magnesium)

27 шт1490 руб.


Время выполнения запроса 4.2740528583527 сек.

 
 

данный сайт носит информационный характер и не является публичной офертой

склад запчастей для водомоторной техники