Подобрать оригинальные запчасти на двигатель Suzuki DF15S/L; DF15RS/L - Water pump
вконтакте

Контактный телефон: +7 (981) 121-46-93, +7 (800) 200-90-76 , Email: parts-katalog@yandex.ru, где купить

 
 

  Логин:

Пароль:

Регистрация

www.partskatalog.ru Все каталоги Запчасти Mercury Запчасти Suzuki Запчасти Tohatsu Запчасти Honda Контакты



УВАЖАЕМЫЕ КЛИЕНТЫ!
C 19 ДЕКАБРЯ 2025 ПО 02 МАРТА 2026 ГОДА ОТДЕЛ ЗАПЧАСТЕЙ И СЕРВИС РАБОТАТЬ НЕ БУДУТ
ПРОДАЖА ЛОДОЧНЫХ МОТОРОВ В ШТАТНОМ РЕЖИМЕ
ОБ ИЗМЕНЕНИЯХ В ГРАФИКЕ РАБОТЫ ЧИТАЙТЕ НА САЙТА



назад Раздел:   вперёд

Вернуться к выбору узлов мотора


ДЕТАЛИРОВКА ДЛЯ МОДЕЛИ: SUZUKI DF15S K5

Водяной насос


Код модели двигателя: DF15S/L; DF15RS/L

Год выпуска двигателя: 2005

Цвет: Shadow Black Metallic

Номер на
рисунке
АртикулНаименованиеQTYКол-во
на складе
Цена
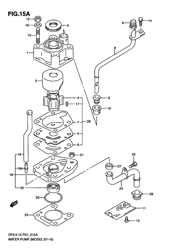
117411-94J00-000

Корпус водяного насоса - Case, Water Pump (Корпус водной помпы)

32 шт1900 руб.
217413-94J00-000

Рукав корпуса водяной помпы - Sleeve, Water Pump Case (Втулка водной помпы)

под заказ3270 руб.
217413-94J10-000

   (актуальный код замены) Рукав корпуса водяной помпы - Sleeve, Water Pump Case

32 шт3710 руб.
317417-93910-000

Пыльник корпуса помпы - Grommet, Pump Case (Втулка насоса)

под заказ350 руб.
317417-93911-000

   (актуальный код замены) Пыльник корпуса помпы - Grommet, Pump Case

29 шт350 руб.
417461-93903-000

Крыльчатка водяного насоса - Impeller, Water Pump

под заказ2520 руб.
417461-939M0-000

   (актуальный код замены) Крыльчатка водяного насоса - Impeller, Water Pump

38 шт2600 руб.
4SK17461-93903P

   (не оригинальный аналог) Крыльчатка Skipper для Suzuki DT9.9-15, DF9.9-15 Performance

2 шт589 руб.
4SK17461-93903

   (не оригинальный аналог) Крыльчатка Skipper для Suzuki DT9.9-15, DF9.9-15 Standard

0 шт589 руб.
4SC-WT114

   (не оригинальный аналог) Крыльчатка помпы охлаждения двигателя Suzuki SC-WT114

под заказ950 руб.
4SC-WT114

   (не оригинальный аналог) Крыльчатка помпы охлаждения двигателя Suzuki SC-WT114

под заказ950 руб.
417461-939M0-000

Крыльчатка водяного насоса - Impeller, Water Pump (Impeller, water pump)

38 шт2600 руб.
417461-939L0-000

Крыльчатка водяного насоса - Impeller, Water Pump (DF15:110001~ # )

под заказ2520 руб.
417461-939M0-000

   (актуальный код замены) Крыльчатка водяного насоса - Impeller, Water Pump

38 шт2600 руб.
417461-939M0-000

Крыльчатка водяного насоса - Impeller, Water Pump (Impeller, water pump)

38 шт2600 руб.
517471-93902-000

Панель в нижней части корпуса помпы - Panel, Pump Case Under (Panel, pump case under # ) (Пластина помпы верхняя)

10 шт720 руб.
617472-93911-000

Прокладка панели корпуса помпы - Gasket, Pump Case Panel (Gasket, pump case panel # ) (Прокладка панели)

10 шт480 руб.
6SM-17472-93911-000

   (не оригинальный аналог) Прокладка SM-17472-93911-000 панели корпуса помпы

1 шт130 руб.
717473-94J00-000

Прокладка корпуса водяной помпы - Gasket, Water Pump Case (Gasket, water pump case)

34 шт240 руб.
7SM-17473-94J00-000

   (не оригинальный аналог) Прокладка SM-17473-94J00-000 корпуса водяной помпы

под заказ90 руб.
7SM-17473-94J00-000

  (аналог) Прокладка SM-17473-94J00-000 корпуса водяной помпы - код 17473-94J00-000

 под заказ шт90 руб.
817560-94J01-000

Водяная трубка (l) - Tube, Water (l) (Tube, water (l))

1 шт3030 руб.
817560-94J11-000

Водяная трубка (s) - Tube, Water (s) (Tube, water (s))

под заказ2480 руб.
917563-94J00-000

Пыльник водяной трубки - Grommet, Water Tube (Втулка водной трубы)

7 шт140 руб.
1017564-93900-000

Втулка корпуса водяной помпы - Bush, Water Pump Case (Bush, water pump case # ) (Втулка)

под заказ290 руб.
1017564-93901-000

   (актуальный код замены) Втулка корпуса водяной помпы - Bush, Water Pump Case

3 шт370 руб.
1117631-92D01-000

Водяной фильтр - Filter, Water (Filter, water # ) (Фильтр водный)

10 шт570 руб.
1223118-94J00-000

Гайка - Nut

под заказ170 руб.
1229141-93J00-000

   (актуальный код замены) Гайка - Nut

18 шт480 руб.
1229141-93J00-000

Гайка - Nut (Гайка)

18 шт480 руб.
1309108-06101-000

Болт под шпильку - Bolt, Stud (Болт заклепка)

под заказ420 руб.
1409116-06094-000

Болт (6x15) - Bolt (6x15) (Bolt (6x15) # ) (Болт 6X15)

20 шт270 руб.
1509125-06063-000

Винт (6x10) - Screw (6x10) (Screw (6x10) # ) (Винт 6X10 (SUS))

6 шт190 руб.
1609160-06082-000

Шайба (6.5x13x1.0) - Washer (65x13x10) (Washer # ) (Шайба)

7 шт150 руб.
1709420-03005-000

Ключ - Key

под заказ400 руб.
1709420-03009-000

   (актуальный код замены) Ключ - Key

14 шт400 руб.
17SC-WT224

   (не оригинальный аналог) Шпонка крыльчатки Suzuki SC-WT224

под заказ470 руб.
1709420-03009-000

Ключ - Key (Ключ)

14 шт400 руб.
1817450-94J11-000

Корпус водозаборника - Housing, Water Inlet (Housing, water inlet)

под заказ4230 руб.
1917453-93901-000

Дренаж ввода воды - Drain, Water Inlet (Дренаж впуска воды)

5 шт550 руб.
1917454-94J00-000

Соединение, Water вход Drain - Union, Water Inlet Drain (Union, water inlet drain)

под заказ180 руб.
2009289-12003-000

Сальник (12x26x10) - Seal, Oil (12x26x10) (Seal, oil # ) (Сальник)

51 шт890 руб.
20SK09289-12003

   (не оригинальный аналог) Сальник ведущего вала Skipper для Suzuki Модели техники: DT9.9-15, DF9.9-15

1 шт133 руб.
20SC-OL300

   (не оригинальный аналог) Сальник редуктора Suzuki SC-OL300

под заказ240 руб.
2123118-94J00-000

Гайка - Nut

под заказ170 руб.
2129141-93J00-000

   (актуальный код замены) Гайка - Nut

18 шт480 руб.
2129141-93J00-000

Гайка - Nut (Гайка)

18 шт480 руб.
2259291-94J10-000

Уплотнительное кольцо, Water вход Hsg - O Ring, Water Inlet Hsg (O ring, water inlet hsg)

11 шт220 руб.
2317452-94J00-000

Прокладка корпуса водозаборника - Gasket, Water Inlet Housing (Прокладка впуска)

27 шт370 руб.
2417520-93902-000

Водяная трубка вход - Tube, Water Inlet

под заказ760 руб.
2417520-94J01-000

   (актуальный код замены) Водяная трубка вход - Tube, Water Inlet

7 шт990 руб.
2417520-94J01-000

Водяная трубка вход - Tube, Water Inlet (Tube comp, water inlet)

7 шт990 руб.
2509100-06106-000

Болт (6x9) - Bolt (6x9) (Bolt (6x9) # ) (Bolt)

под заказ160 руб.
2659317-94J00-000

Пыльник нижней трубки водозаборника - Grommet, Water Inlet Tube Lwr (Grommet)

7 шт270 руб.
2759317-94J10-000

Пыльник, Water вход Трубка - Grommet, Water Inlet Tube (Grommet)

11 шт320 руб.
2817400-94J00-000

Ремкомплект водяного насоса - Kit, Water Pump Repair (OPT # ) (Комплект водной помпы)

16 шт11100 руб.


Время выполнения запроса 1.9871308803558 сек.

 
 

данный сайт носит информационный характер и не является публичной офертой

склад запчастей для водомоторной техники