Найти запчасти на лодочный подвесной мотор SUZUKI DF15S/L; DF15RS/L модель 2007 года - Двигатель электростартера / Starting motor
вконтакте

Контактный телефон: +7 (981) 121-46-93, +7 (800) 200-90-76 , Email: parts-katalog@yandex.ru, где купить

 
 

  Логин:

Пароль:

Регистрация

www.partskatalog.ru Все каталоги Запчасти Mercury Запчасти Suzuki Запчасти Tohatsu Запчасти Honda Контакты



УВАЖАЕМЫЕ КЛИЕНТЫ!
C 19 ДЕКАБРЯ 2025 ПО 02 МАРТА 2026 ГОДА ОТДЕЛ ЗАПЧАСТЕЙ И СЕРВИС РАБОТАТЬ НЕ БУДУТ
ПРОДАЖА ЛОДОЧНЫХ МОТОРОВ В ШТАТНОМ РЕЖИМЕ
ОБ ИЗМЕНЕНИЯХ В ГРАФИКЕ РАБОТЫ ЧИТАЙТЕ НА САЙТА



назад Раздел:   вперёд

Вернуться к выбору узлов мотора


ДЕТАЛИРОВКА ДЛЯ МОДЕЛИ: SUZUKI DF15RSK7(P1) K7

Двигатель электростартера


Код модели двигателя: DF15S/L; DF15RS/L

Год выпуска двигателя: 2007

Регион: General Export No.1 ,Код региона: P01

Цвет: Shadow Black Metallic

Номер на
рисунке
АртикулНаименованиеQTYКол-во
на складе
Цена
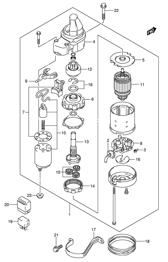
131100-94J21-000

Двигатель электростартера в сборе - Motor Assy, Starting (Starting motor; # )

под заказ100800 руб.
131100-94J22-000

   (актуальный код замены) Двигатель электростартера в сборе - Motor Assy, Starting

1 шт100800 руб.
231131-94J00-000

Щётка в сборе - Brush Assy (Набор щёток плюс)

под заказ3480 руб.
331135-90J00-000

Пружина - Spring (Пружина)

под заказ710 руб.
431151-94J00-000

Картер коробки передач - Case, Gear (Case, gear)

под заказ15320 руб.
431151-94J01-000

   (актуальный код замены) Case, Двигатель электростартера Шестерня - Case, Starting Motor Gear

под заказ15320 руб.
531152-90J00-000

Пластина, Ctr - Plate, Ctr (Пластина center display circuit)

под заказ1890 руб.
631153-90J00-000

Кронштейн, Шестерня - Bracket, Gear (Кронштейн шестерни)

под заказ3340 руб.
731171-94J00-000

Рычаг & Dust Крышка Kit - Lever & Dust Cover Kit (lever & dust cov kit # )

под заказ3460 руб.
731190-94J00-000

   (актуальный код замены) Рычаг & Dust Крышка Kit - Lever & Dust Cover Kit

под заказ3460 руб.
731190-94J00-000

Рычаг & Dust Крышка Kit - Lever & Dust Cover Kit (Lever & dust cover kit)

под заказ3460 руб.
731171-96J00-000

Пылезащитная крышка - Cover Kit, Dust (Df9.9:882042~, df15:883241~ # ) (Крышка)

под заказ1530 руб.
831173-94J00-000

Держатель щетки - Holder Assy, Brush

под заказ11280 руб.
831173-94J01-000

   (актуальный код замены) Держатель щетки - Holder Assy, Brush

под заказ13930 руб.
831173-94J01-000

Держатель щетки - Holder Assy, Brush (HOLDER ASSY, BRUSH)

под заказ13930 руб.
931191-90J00-000

Рычаг переключателя - Lever, Shift (lever & dust cov kit # ) (Рукоятка переключение)

под заказ2270 руб.
931191-96J00-000

Рычаг переключателя - Lever, Shift (Df9.9:882042~, df15:883241~ # ) (Рукоятка переключение)

под заказ1720 руб.
1031220-94J00-000

Переключатель, Магнето - Switch, Magneto (Замок зажигания)

2 шт23570 руб.
1131310-90J00-000

Якорь - Armature (Отсутствующе)

под заказ52320 руб.
1231320-94J00-000

Шестерня - Pinion (Pinion)

под заказ23000 руб.
1331341-94J00-000

Вал шестерни - Shaft, Pinion (Вал шестерни)

под заказ11280 руб.
1431343-90J00-000

Внутреняя шестерня - Internal Gear (Шестерня внутренняя)

под заказ7060 руб.
1531344-90J00-000

Планетарные шестерни - Gear, Planetary (Gear, planetry # ) (Шестерня)

1 шт3100 руб.
1631360-93J01-000

Установочная шайба, Стопор - Washer Set, Stopper (Washer set, stopper)

под заказ1260 руб.
1731912-94J00-000

Крепежная скоба двигателя электростартера - Band, Starter Motor (Band, starting motor # Band, starting motor; # ) (Band)

под заказ900 руб.
1831918-94J00-000

Демпфер, Lwr - Damper, Lwr (Damper, lower; # ) (Демпфер нижний)

под заказ640 руб.
1831918-94J01-000

   (актуальный код замены) Демпфер, Lwr - Damper, Lwr

6 шт640 руб.
1938860-76F01-000

Реле в сборе - Relay Assy (Relay, starting motor # Relay, starting motor; # ) (Реле стартера)

7 шт5000 руб.
2038915-90J00-000

Держатель реле - Holder, Relay (Holder, relay; # ) (Держатель реле)

2 шт370 руб.
2101550-08207-000

Болт - Bolt (Bolt, lower; # ) (Bolt)

10 шт240 руб.
2201550-08257-000

Болт - Bolt (Bolt, upper; # ) (Bolt)

под заказ300 руб.
2308316-10087-000

Гайка - Nut (Nut # ) (Nut (chrome))

14 шт170 руб.


Время выполнения запроса 0.79632091522217 сек.

 
 

данный сайт носит информационный характер и не является публичной офертой

склад запчастей для водомоторной техники