Номер на рисунке | Артикул | Наименование | QTY | Кол-во на складе | Цена |
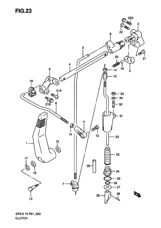
| 1 | 21110-93E03-000 | Рычаг сцепления - Lever, Clutch (Рукоятка муфты) | | под заказ | 2560 руб. |
| 2 | 21121-93E02-000 | (->21120-93E10 # ) | | под заказ | нет сведений |
| 2 | 01550-06257-000 | Болт - Bolt (Bolt) | | под заказ | 180 руб. |
| 2 | 21120-93E10-000 | Рычаг в паз сцепления - Lever, Clutch Notch (Рукоятка муфты) | | 4 шт | 1190 руб. |
| 2 | 21120-93E10-000 | Рычаг в паз сцепления - Lever, Clutch Notch (DF9.9:780121~ DF15:780241~ # ) (Рукоятка муфты) | | 4 шт | 1190 руб. |
| 3 | 21122-93E00-000 | Пластина в паз сцепления - Plate, Clutch Notch (Плата муфты) | | 1 шт | 0 руб. |
| 3 | 21122-94J01-000 | Пластина в паз сцепления - Plate, Clutch Notch (MODEL:05~ # ) (Plate, clutch notch) | | 1 шт | 3320 руб. |
| 4 | 21211-93E10-000 | Сцепление Вал Рычаг - Shaft, Clutch Lever | | под заказ | 890 руб. |
| 4 | 21211-93EL0-000 | (актуальный код замены) Сцепление Вал Рычаг - Shaft, Clutch Lever | | под заказ | 890 руб. |
| 4 | 21211-93EL0-000 | Сцепление Вал Рычаг - Shaft, Clutch Lever (Shaft, clutch lever) | | под заказ | 890 руб. |
| 5 | 23111-93E00-000 | Тяга сцепления - Rod, Clutch (Штанга муфты) | | 1 шт | 1760 руб. |
| 6 | 23115-93E10-000 | Тяга рычага сцепления - Link, Clutch Lever (Сустав муфты) | | 1 шт | 1320 руб. |
| 7 | 23131-93900-000 | Башмак тяги сцепления - Boot, Clutch Rod (Boot, clutch rod # <-23131-94J00 # ) (Колпак муфты) | | под заказ | 470 руб. |
| 7 | 23131-95L00-000 | (актуальный код замены) Башмак тяги сцепления - Boot, Clutch Rod | | под заказ | 470 руб. |
| 8 | 23211-93E01-000 | Рукоятка тяги сцепления - Arm, Clutch Rod (Рычаг муфты) | | 3 шт | 950 руб. |
| 9 | 23210-93E00-000 | Рычаг управления сцеплением - Lever, Clutch Control (Рукоятка муфты) | | 2 шт | 1350 руб. |
| 10 | 23311-95D01-000 | Buckle, Тяга сцепления Turn - Buckle, Clutch Rod Turn | | под заказ | 630 руб. |
| 10 | 23311-95DL0-000 | (актуальный код замены) Buckle, Тяга сцепления Turn - Buckle, Clutch Rod Turn | | 13 шт | 640 руб. |
| 10 | 23311-95DL0-000 | Buckle, Тяга сцепления Turn - Buckle, Clutch Rod Turn (Buckle, clutch rod turn) | | 13 шт | 640 руб. |
| 10 | SK23311-95DL0 | (не оригинальный аналог) Гайка соединительная тяги переключения передач Skipper для Suzuki DF9.9-DF15, DT25-40 | | 0 шт | 127 руб. |
| 10 | 23311-95DL0-000 | Buckle, Тяга сцепления Turn - Buckle, Clutch Rod Turn (DF15:110001~ # ) (Buckle, clutch rod turn) | | 13 шт | 640 руб. |
| 10 | SK23311-95DL0 | (не оригинальный аналог) Гайка соединительная тяги переключения передач Skipper для Suzuki DF9.9-DF15, DT25-40 | | 0 шт | 127 руб. |
| 11 | 23312-95321-000 | Коннектор тяги сцепления - Connector, Clutch Link | | под заказ | 580 руб. |
| 11 | 23312-94JL0-000 | (актуальный код замены) Коннектор тяги сцепления - Connector, Clutch Link | | 15 шт | 660 руб. |
| 11 | 23312-94JL0-000 | Коннектор тяги сцепления - Connector, Clutch Link (Connector, clutch link) | | 15 шт | 660 руб. |
| 12 | 09111-06064-000 | Болт (6x17) - Bolt (6x17) (Bolt, clutch control arm # ) (Bolt) | | 15 шт | 860 руб. |
| 13 | 09111-06069-000 | Болт (6x28.8) - Bolt (6x288) (Bolt) | | 3 шт | 740 руб. |
| 14 | 23118-94J00-000 | Гайка - Nut | | под заказ | 170 руб. |
| 14 | 29141-93J00-000 | (актуальный код замены) Гайка - Nut | | 18 шт | 480 руб. |
| 14 | 29141-93J00-000 | Гайка - Nut (Гайка) | | 18 шт | 480 руб. |
| 15 | 09160-06082-000 | Шайба (6.5x13x1.0) - Washer (65x13x10) (Washer # ) (Шайба) | | 7 шт | 150 руб. |
| 16 | 09160-08045-000 | Шайба (8x22x1) - Washer (8x22x1) (Washer (8x22x1.0) # ) (Шайба) | | под заказ | 220 руб. |
| 17 | 09164-08017-000 | Шайба - Washer (Washer, wave # ) (Шайба) | | под заказ | 160 руб. |
| 18 | 09209-09007-000 | Подъемный механизм - Linkage (Connector # ) (Соединение) | | 10 шт | 270 руб. |
| 19 | 09260-10005-000 | Шарик - Ball (Steel ball # ) (Ball) | | 4 шт | 210 руб. |
| 19 | 09260-12002-000 | Шарик - Ball (MODEL:05~07 # ) | | под заказ | 280 руб. |
| 19 | 09260-12003-000 | (актуальный код замены) Шарик - Ball | | 2 шт | 340 руб. |
| 19 | 09260-12003-000 | Шарик - Ball (Шарик в углублении муфты) | | 2 шт | 340 руб. |
| 19 | 09260-12003-000 | Шарик - Ball (MODEL:08~ # ) (Шарик в углублении муфты) | | 2 шт | 340 руб. |
| 20 | 09440-07021-000 | Пружина - Spring (Spring, clutch notch # ) (Пружина) | | под заказ | 160 руб. |
| 20 | 09440-09041-000 | Пружина - Spring (MODEL:05~ # ) (Пружина) | | 2 шт | 280 руб. |
| 21 | 02142-06207-000 | Винт - Screw (Screw # ) (Винт 6X20) | | 7 шт | 110 руб. |
| 21 | 02142-06207-000 | Винт - Screw (Screw # ) (Винт 6X20) | | 7 шт | 110 руб. |
| 21 | 01550-06207-000 | Болт - Bolt (Bolt # DF9.9:780121~ DF15:780241~ # ) (Bolt (chrome)) | | 17 шт | 220 руб. |
| 22 | 02142-06257-000 | Винт - Screw (Screw # ) (Винт) | | под заказ | 90 руб. |
| 22 | 01550-06257-000 | Болт - Bolt (DF9.9:780121~ DF15:780241~ # ) (Bolt) | | под заказ | 180 руб. |
| 23 | 25111-93900-000 | Переключающая тяга Set (l) - Shift Rod Set (l) (->25100-93820 SHIFT ROD SET # ) | | под заказ | 4610 руб. |
| 23 | 25100-93820-000 | (актуальный код замены) Переключающая тяга Set (l) - Shift Rod Set (l) | | под заказ | 4610 руб. |
| 23 | 25100-93820-000 | Переключающая тяга Set (l) - Shift Rod Set (l) (Shift rod set (l)) | | под заказ | 4610 руб. |
| 23 | 25111-93901-000 | Переключающая тяга (l) - Rod, Shift (l) (DF9.9:680121~ DF15:680243~ # ) (Вал передачи (L)) | | под заказ | 2600 руб. |
| 23 | 25111-93910-000 | Переключающая тяга Set (s) - Shift Rod Set (s) (->25100-93810 SHIFT ROD SET # ) | | под заказ | 4420 руб. |
| 23 | 25100-93810-000 | (актуальный код замены) Переключающая тяга Set (s) - Shift Rod Set (s) | | под заказ | 4420 руб. |
| 23 | 25100-93810-000 | Переключающая тяга Set (s) - Shift Rod Set (s) (Shift rod set (s)) | | под заказ | 4420 руб. |
| 23 | 25111-93911-000 | Переключающая тяга (s) - Rod, Shift (s) (DF9.9:680121~ DF15:680243~ # ) (Гильза (S)) | | под заказ | 2310 руб. |
| 24 | 25211-93901-000 | Направляющая переключающей тяги - Guide, Shift Rod (<-25211-94J00 # ) (Направляющая переключетеля) | | 3 шт | 610 руб. |
| 25 | 25222-93901-000 | Башмак переключающей тяги - Boot, Shift Rod (Boot, shift rod # ) (Boot shift rod) | | 1 шт | 930 руб. |
| 25 | 25222-93902-000 | (актуальный код замены) Башмак переключающей тяги - Boot, Shift Rod | | 23 шт | 930 руб. |
| 25 | SK25222-93901 | (не оригинальный аналог) Гофра тяги переключения передач Skipper для Suzuki DT4-5/9.9-15/DF4-15 | | 0 шт | 176 руб. |
| 26 | 25311-93E10-000 | Запчасть снята с производства - The Spare Part Is Laid Off (->SHIFT ROD SET 25100-93810 FOR TYPE:S 25100-93820 FOR TYPE:L # ) | | под заказ | 0 руб. |
| 26 | 25311-93E11-000 | Кулачок переключателя - Cam, Shift (DF9.9:680121~ DF15:680243~ # ) (Кулачок переключателя) | | под заказ | 2190 руб. |
| 27 | 09160-05047-000 | Шайба (5.5x24x1.6) - Washer (55x24x16) (Washer # ) (Шайба) | | под заказ | 150 руб. |
| 28 | 09205-02004-000 | Стопор пружины (2.5x12) - Pin, Spring (25x12) (Spring pin # DF9.9:680121~ DF15:680243~ # ) (Pin) | | 13 шт | 100 руб. |
| 28 | 09205-02006-000 | Стопор пружины (2x12) - Pin, Spring (2x12) (Pin, spring # ) (Pin) | | 10 шт | 140 руб. |
| 29 | 09280-05005-000 | Уплотнительное кольцо (d: 3.5, Id: 4.9) - O Ring (d:35, Id:49) (O ring (d:3.5 id:4.9) # ) (O ring) | | 25 шт | 160 руб. |
| 30 | 59291-94J00-000 | Уплотнительное кольцо направляющей переключающей тяги - O Ring, Shift Rod Guide (O ring (d:3.6 id:18.6)) | | 11 шт | 200 руб. |
| 31 | 25215-94J00-000 | Стопор переключателя направляющей тяги - Stopper, Shift Rod Guide (Стопор направляющей) | | 2 шт | 240 руб. |
| 32 | 09108-05007-000 | Болт под шпильку - Bolt, Stud (Stud bolt # ) (Болт) | | под заказ | 270 руб. |
| 33 | 09140-05005-000 | Гайка - Nut (<-19133-94J00 # ) (Гайка) | | 10 шт | 270 руб. |
| 34 | 09160-05029-000 | Шайба (5.5x12x0.8) - Washer (55x12x08) (Washer # ) (Шайба) | | 14 шт | 130 руб. |
| 35 | 09351-50803-00A | Шланг (5x8x1000) - Hose (5x8x1000) (L:1000->30 # ) (Hose) | | под заказ | 360 руб. |