Купить запчасти на подвесной двигатель SUZUKI DF15S/L; DF15RS/L - Масляный поддон
вконтакте

Контактный телефон: +7 (981) 121-46-93, +7 (800) 200-90-76 , Email: parts-katalog@yandex.ru, где купить

 
 

  Логин:

Пароль:

Регистрация

www.partskatalog.ru Все каталоги Запчасти Mercury Запчасти Suzuki Запчасти Tohatsu Запчасти Honda Контакты



УВАЖАЕМЫЕ КЛИЕНТЫ!
C 19 ДЕКАБРЯ 2025 ПО 02 МАРТА 2026 ГОДА ОТДЕЛ ЗАПЧАСТЕЙ И СЕРВИС РАБОТАТЬ НЕ БУДУТ
ПРОДАЖА ЛОДОЧНЫХ МОТОРОВ В ШТАТНОМ РЕЖИМЕ
ОБ ИЗМЕНЕНИЯХ В ГРАФИКЕ РАБОТЫ ЧИТАЙТЕ НА САЙТА



назад Раздел:   вперёд

Вернуться к выбору узлов мотора


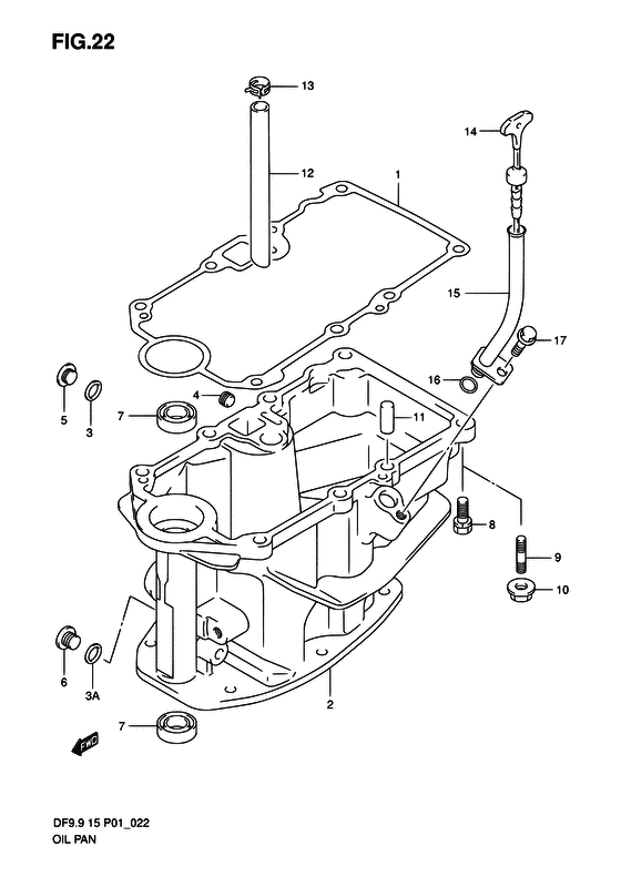
ДЕТАЛИРОВКА ДЛЯ МОДЕЛИ: SUZUKI DF15S K8

Масляный поддон


Код модели двигателя: DF15S/L; DF15RS/L

Год выпуска двигателя: 2008

Цвет: Shadow Black Metallic

Номер на
рисунке
АртикулНаименованиеQTYКол-во
на складе
Цена
111489-93E11-000

Прокладка масляного поддона - Gasket, Oil Pan (Прокладка)

7 шт3400 руб.
211500-93E20-0EP

Маслянный поддон (чёрный) - Pan, Oil (black)

под заказ0 руб.
211500-93E30-0EP

   (актуальный код замены) Запчасть снята с производства - The Spare Part Is Laid Off

под заказ0 руб.
211500-93E30-0EP

Маслянный поддон (чёрный) - Pan, Oil (black) (Pan, oil (black))

под заказ0 руб.
211500-93E21-0EP

Маслянный поддон (чёрный) - Pan, Oil (black) (DF9.9:422113~ DF15:423062~ # )

под заказ77280 руб.
211500-93E22-0EP

   (актуальный код замены) Маслянный поддон (чёрный) - Pan, Oil (black)

под заказ77280 руб.
211500-93E22-0EP

Маслянный поддон (чёрный) - Pan, Oil (black) (Поддон маслянный)

под заказ77280 руб.
211500-93E22-0EP

Маслянный поддон (чёрный) - Pan, Oil (black) (DF9.9:510371~ DF15:510930~ # ) (Поддон маслянный)

под заказ77280 руб.
211500-94J00-0EP

Маслянный поддон (чёрный) - Pan, Oil (black) (MODEL:09~ # )

под заказ45600 руб.
211500-94J10-0EP

   (актуальный код замены) Маслянный поддон (чёрный) - Pan, Oil (black)

под заказ45600 руб.
211500-94J10-0EP

Маслянный поддон (чёрный) - Pan, Oil (black) (Pan, oil (black))

под заказ45600 руб.
309168-12017-000

Прокладка (12x17x1) - Gasket (12x17x1) (Gasket, drain plug # DF9.9:~510370 DF15:~510929 # ) (Gasket (12x17x1))

162 шт270 руб.
309168-12017-000

Прокладка (12x17x1) - Gasket (12x17x1) (Gasket, drain plug # ) (Gasket (12x17x1))

162 шт270 руб.
409246-06002-000

Заглушка - Plug (Plug # ) (Plug (1/4pt, h:7.5))

под заказ240 руб.
509248-12007-000

Заглушка (12x9) - Plug (12x9) (Plug # DF9.9:~510370 DF15:~510929 # ) (Заглушка)

4 шт720 руб.
609248-12009-000

Заглушка (12x18.65) - Plug (12x1865) (Plug # ) (Заглушка масляного дренажа)

21 шт580 руб.
709282-12010-000

Сальник (12x25x7) - Seal, Oil (12x25x7) (DF9.9:422113~ DF15:423062~ # )

под заказ560 руб.
709282-12L04-000

   (актуальный код замены) Сальник (12x25x7) - Seal, Oil (12x25x7)

60 шт620 руб.
7SK09282-12010

   (не оригинальный аналог) Сальник коленвала Skipper для Suzuki Модели техники: DT9.9-15, DF9.9-15, нижний

0 шт113 руб.
709282-12L04-000

Сальник (12x25x7) - Seal, Oil (12x25x7) (Seal, oil, 12x25x7)

60 шт620 руб.
801560-08307-000

Болт - Bolt (Bolt)

под заказ260 руб.
901421-08257-000

Болт под шпильку - Bolt, Stud (Bolt, stud # ) (Болт крышки коллектора)

под заказ330 руб.
1008316-10087-000

Гайка - Nut (Nut # ) (Nut (chrome))

14 шт170 руб.
1104221-06129-000

Штифт - Pin (Pin (6x12) # ) (Штифт 6X12)

под заказ130 руб.
1216515-94J00-000

Масляный шланг - Hose, Oil (Шланг масляный)

под заказ270 руб.
1309401-12413-000

Зажим - Clip (Clip)

6 шт190 руб.
1416910-94J00-000

Щуп измерения уровня масла - Gauge, Oil Level (Gauge, oil level)

3 шт1130 руб.
1516930-94J00-000

Направляющая измерителя уровня масла - Guide, Oil Level Gauge (Guide, oil level gauge)

под заказ0 руб.
1609280-09008-000

Уплотнительное кольцо (d: 2.1, Id: 8.8) - O Ring (d:21, Id:88) (O ring (d:2.1, id:8.8) # ) (O ring)

16 шт340 руб.
1701550-06127-000

Болт - Bolt (Bolt, rect # ) (Bolt)

10 шт180 руб.


Время выполнения запроса 0.86903810501099 сек.

 
 

данный сайт носит информационный характер и не является публичной офертой

склад запчастей для водомоторной техники