| |
 |
|
|
Вернуться к выбору узлов мотора
ДЕТАЛИРОВКА ДЛЯ МОДЕЛИ: SUZUKI DF15RS(P1) PRD
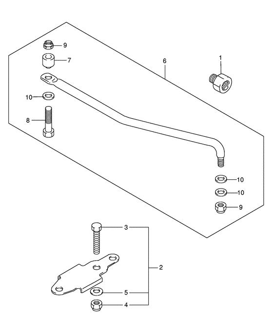
Переключающая тяга
Код модели двигателя: DF15S/L; DF15RS/L
Год выпуска двигателя: 2010
Регион: General Export No.1 ,Код региона: P01
Цвет: Shadow Black Metallic
Номер на рисунке | Артикул | Наименование | QTY | Кол-во на складе | Цена |
| 1 | 41141-89E00-000 | Соединитель рулевой системы Кабели - Attachment, Steering Cable (Кабель фиксации) | | под заказ | 12680 руб. |
| 2 | 67720-93E00-000 | Соединитель, Strg Brkt Sub - Attachment, Strg Brkt Sub (Кронштейн фиксации) | | под заказ | 3120 руб. |
| 3 | 67725-93E00-000 | Болт крепления рулевого кронштейна - Bolt, Strg Brkt Sub (Bolt, strg brkt sub atch # Bolt, strg brkt sub atch; # ) (Bolt) | | под заказ | 680 руб. |
| 4 | 67726-99E00-000 | Блокирующая гайка - Nut, Lock (Nut # ) (Гайка блокирующая) | | 3 шт | 800 руб. |
| 5 | 67728-99E00-000 | Шайба - Washer (Шайба) | | 2 шт | 260 руб. |
| 6 | 67701-93E11-000 | Рулевая тяга в сборе - Link Assy, Drag | | под заказ | 11040 руб. |
| 6 | 67701-93E12-000 | (актуальный код замены) Рулевая тяга в сборе - Link Assy, Drag | | под заказ | 11040 руб. |
| 6 | 67701-93E12-000 | Рулевая тяга в сборе - Link Assy, Drag (Тяга рулевого управления) | | под заказ | 11040 руб. |
| 6 | 67701-93E12-000 | Рулевая тяга в сборе - Link Assy, Drag (Model:05~ # ) (Тяга рулевого управления) | | под заказ | 11040 руб. |
| 7 | 67721-93E00-000 | Проставка переключающей тяги (l: 13) - Spacer, Drag Link (l:13) (Spacer, drag link # ) (Spacer (l:13)) | | под заказ | 1110 руб. |
| 7 | 67721-93E10-000 | Проставка переключающей тяги - Spacer, Drag Link (Spacer, drag link # For 67701-93e12 # ) (Кольцо/шайба) | | 2 шт | 1110 руб. |
| 8 | 67725-99E10-000 | Болт - Bolt (Bolt) | | под заказ | 1200 руб. |
| 8 | 67725-99E20-000 | (актуальный код замены) Болт переключающей тяги - Bolt, Drag Link | | под заказ | 1200 руб. |
| 9 | 67726-99E00-000 | Блокирующая гайка - Nut, Lock (Nut # ) (Гайка блокирующая) | | 3 шт | 800 руб. |
| 10 | 67728-99E00-000 | Шайба - Washer (Шайба) | | 2 шт | 260 руб. |
| 11 | 99011-94J00-052 | Руководство пользователя Df9.9 / 15 (04) - Manual, Owners Df99/15 (04) (Drawing not shown, model:04 # ) (Manual, owner`s) | | под заказ | 2020 руб. |
| 11 | 99011-94J01-052 | Руководство пользователя Df9.9 / 15 (05) - Manual, Owners Df99/15 (05) (Model:05 # ) (Manual, owner`s) | | под заказ | 2020 руб. |
| 11 | 99011-94J02-053 | Руководство пользователя Df9.9 / 15 (06) - Manual, Owners Df99/15 (06) (Model:06 # ) (Manual, owner`s) | | под заказ | 2020 руб. |
| 11 | 99011-94J03-053 | Руководство пользователя Df9.9 / 15 (07) - Manual, Owners Df99/15 (07) (Model:07 # ) (Manual, owner`s) | | под заказ | 2020 руб. |
| 11 | 99011-94J04-055 | Руководство пользователя - Manual, Owners (Model:08 # ) (Manual, owner`s) | | под заказ | 2020 руб. |
| 11 | 99011-94J05-055 | Руководство пользователя - Manual, Owners (Model:09 # ) (Руководство пользователя) | | под заказ | 2020 руб. |
| 11 | 99011-94J08-055 | Руководство пользователя - Manual, Owners (Model:10 # ) (Manual, owner's) | | под заказ | 2020 руб. |
| 11 | 99011-94J07-055 | Руководство пользователя - Manual, Owners (Df15:110001~ # ) (Manual, owner's) | | под заказ | 2020 руб. |
Время выполнения запроса 2.0376031398773 сек. |
|