| |
 |
|
 |
Вернуться к выбору узлов мотора
ДЕТАЛИРОВКА ДЛЯ МОДЕЛИ: SUZUKI DF20A/DF20AR/DF20AT/DF20ATH FROM 02002F-410001~ (P01 014)
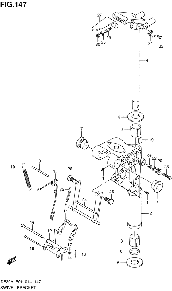
Поворотный кронштейн
Код модели двигателя: DF20AS/L; DF20ARS/L; DF20ATS/L
Год выпуска двигателя: 2014
Регион: General Export No.1/Thailand ,Код региона: P01/P014
Цвет: Shadow Black Metallic
Номер на рисунке | Артикул | Наименование | QTY | Кол-во на складе | Цена |
| 1 | 22511-99011-000 | Ниппель смазки - Nipple, Grease (Ниппель) | | 9 шт | 400 руб. |
| 2 | 43111-89L00-0EP | Поворотный кронштейн - Bracket, Swivel (W/TRANSOM (S) # ) (Bracket, swivel (s)) | | под заказ | 10560 руб. |
| 2 | 43111-89L10-0EP | Поворотный кронштейн (l) (чёрный) - Bracket, Swivel (l) (black) (W/TRANSOM (L) # ) | | под заказ | 10800 руб. |
| 2 | 43111-89L11-0EP | (актуальный код замены) Поворотный кронштейн (l) (чёрный) - Bracket, Swivel (l) (black) | | под заказ | 10800 руб. |
| 3 | 43711-99J00-000 | Втулка рулевой системы - Bush, Steering (Втулка) | | 15 шт | 370 руб. |
| 4 | 43750-99J40-0EP | (W/TRANSOM (S) # ) | | под заказ | 0 руб. |
| 4 | 43750-99J50-0EP | Кронштейн рулевого управления (l) - Bracket, Steering (l) (W/TRANSOM (L) # ) (Bracket, steering (l) (black)) | | под заказ | 0 руб. |
| 5 | 09160-27013-000 | Шайба (27.5x47x2) - Washer (275x47x2) (Washer, 27.5x47x2) | | 9 шт | 350 руб. |
| 6 | 09282-27002-000 | Сальник (26x39x5) - Seal, Oil (26x39x5) (Seal, oil, 26x39x5) | | 12 шт | 570 руб. |
| 7 | 43211-87JL0-000 | Втулка поворотного кронштейна - Bush, Swivel Bracket (Bush, swivel bracket) | | 8 шт | 1770 руб. |
| 7 | SK43211-87JL0 | (не оригинальный аналог) Втулка поворотного механизма Skipper для Suzuki DT9,9-15/ DF9,9-DF30a | | 0 шт | 148 руб. |
| 8 | 09160-27012-000 | Шайба (27.5x47x1) - Washer (275x47x1) (Washer, 27.5x47x1) | | 11 шт | 390 руб. |
| 9 | 41225-89L00-000 | Стопор освобождающего рычага - Pin, Release Arm (Pin, release arm) | | 1 шт | 350 руб. |
| 10 | 45212-89L00-000 | Пружина рычага блокировки задней передачи - Spring, Reverse Lock Arm (Spring, reverse lock arm) | | 13 шт | 560 руб. |
| 11 | 45231-89L00-000 | Рычаг блокировки реверса - Arm, Reverse Lock (Arm, reverse lock) | | под заказ | 2030 руб. |
| 12 | 45241-89L00-000 | Тяга рычага блокировки реверса - Link, Reverse Lock Arm (Link, reverse lock arm) | | 1 шт | 2460 руб. |
| 13 | 09204-01002-000 | Штифт - Pin (Cotter pin # ) (Стопор) | | 24 шт | 140 руб. |
| 14 | 45247-99J00-000 | Стопор блокировки поворотного механизма - Pin, Rev Lock Arm Cotter (Pin, rev lock arm cotter) | | 2 шт | 130 руб. |
| 15 | 45250-89L02-000 | Освобождающая тяга - Link, Release | | под заказ | 640 руб. |
| 15 | 45250-89L03-000 | (актуальный код замены) Освобождающая тяга - Link, Release | | 10 шт | 690 руб. |
| 15 | 45250-89L03-000 | Освобождающая тяга - Link, Release (LINK, RELEASE) | | 10 шт | 690 руб. |
| 16 | 09200-06061-000 | Штифт - Pin (Pin # ) (Pin (sus)) | | 9 шт | 780 руб. |
| 17 | 09160-06082-000 | Шайба (6.5x13x1.0) - Washer (65x13x10) (Washer # ) (Шайба) | | 7 шт | 150 руб. |
| 18 | 09200-05014-000 | Штифт - Pin (Pin) | | 7 шт | 370 руб. |
| 19 | 43411-939L0-000 | Пластина рулевого управления Регулятор - Plate, Steering Adjuster (Plate, steering adjuster) | | 6 шт | 200 руб. |
| 20 | 43412-93900-000 | Крышка регулировки рулевой системыer - Cover, Steering Adjuster (Cover, steering adjust # ) (Крышка регулятора) | | под заказ | 340 руб. |
| 20 | 43412-93901-000 | (актуальный код замены) Крышка регулировки рулевой системыer - Cover, Steering Adjuster | | под заказ | 340 руб. |
| 21 | 29440-93J00-000 | Пружина регулятора рулевой системы - Spring, Steering Adjuster (Пружина регулятора) | | под заказ | 190 руб. |
| 22 | 09160-08082-000 | Шайба (8.5x16x1.2) - Washer (85x16x12) (Шайба) | | 13 шт | 120 руб. |
| 23 | 09100-08232-000 | Болт (8x30) - Bolt (8x30) (Bolt) | | 6 шт | 350 руб. |
| 24 | 45710-89L00-000 | Ручка движения по мелководью - Arm, Shallow Drive (Arm comp, shallow drive) | | под заказ | 4850 руб. |
| 24 | 45710-89L10-000 | (актуальный код замены) Ручка движения по мелководью - Arm, Shallow Drive | | под заказ | 3800 руб. |
| 25 | 45722-94J11-000 | Пружина, Shallow Water Рычаг привода - Spring, Shallow Water Drive Arm (Spring, shallow water drive arm) | | 4 шт | 1900 руб. |
| 26 | 09111-10067-000 | Болт (10x20.5) - Bolt (10x205) (Bolt, 10x20.4) | | 2 шт | 430 руб. |
| 27 | 43755-99J00-000 | Соединитель кронштейна рулевой системы - Attachment, Steering Bracket (Attachment, steering bracket) | | 3 шт | 5570 руб. |
| 27 | 43755-99J01-000 | (актуальный код замены) Соединитель кронштейна рулевой системы - Attachment, Steering Bracket | | 2 шт | 5570 руб. |
| 28 | 09160-08082-000 | Шайба (8.5x16x1.2) - Washer (85x16x12) (Шайба) | | 13 шт | 120 руб. |
| 29 | 09108-08286-000 | Болт под шпильку - Bolt, Stud (Болт) | | 16 шт | 380 руб. |
| 30 | 09159-08059-000 | Гайка - Nut (Nut, clutch lever # ) (Гайка) | | 13 шт | 390 руб. |
| 31 | 43759-89L00-000 | Держатель дренажного шланга - Holder, Drain Hose (Holder, drain hose) | | 22 шт | 590 руб. |
| 32 | 09116-06225-000 | Болт (6x15) - Bolt (6x15) (Bolt, 6x15) | | 6 шт | 250 руб. |
Время выполнения запроса 2.5174489021301 сек. |
|