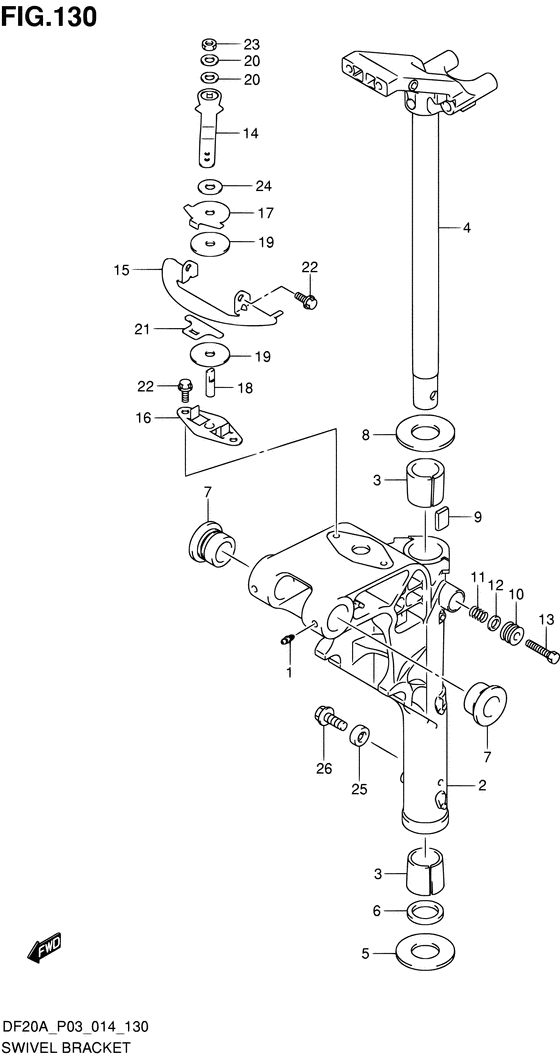
Комплектующие на подвесной двигатель Suzuki DF20AS/L; DF20ARS/L; DF20ATS/L модель 2014 года - Swivel bracket / Поворотный кронштейн
вконтакте

Контактный телефон: +7 (981) 121-46-93, +7 (800) 200-90-76 , Email: parts-katalog@yandex.ru, где купить

 
 

  Логин:

Пароль:

Регистрация

www.partskatalog.ru Все каталоги Запчасти Mercury Запчасти Suzuki Запчасти Tohatsu Запчасти Honda Контакты



УВАЖАЕМЫЕ КЛИЕНТЫ!
C 19 ДЕКАБРЯ 2025 ПО 02 МАРТА 2026 ГОДА ОТДЕЛ ЗАПЧАСТЕЙ И СЕРВИС РАБОТАТЬ НЕ БУДУТ
ПРОДАЖА ЛОДОЧНЫХ МОТОРОВ В ШТАТНОМ РЕЖИМЕ
ОБ ИЗМЕНЕНИЯХ В ГРАФИКЕ РАБОТЫ ЧИТАЙТЕ НА САЙТА



назад Раздел:   вперёд

Вернуться к выбору узлов мотора


ДЕТАЛИРОВКА ДЛЯ МОДЕЛИ: SUZUKI DF20A/DF20AR/DF20AT/DF20ATH FROM 02002F-410001~ (P03 014)

Поворотный кронштейн


Код модели двигателя: DF20AS/L; DF20ARS/L; DF20ATS/L

Год выпуска двигателя: 2014

Регион: USA/Thailand ,Код региона: P03/P014

Цвет: Shadow Black Metallic

Номер на
рисунке
АртикулНаименованиеQTYКол-во
на складе
Цена
122511-99011-000

Ниппель смазки - Nipple, Grease (W/TRANSOM (S) # ) (Ниппель)

9 шт400 руб.
243111-89LA0-0EP

Поворотный кронштейн - Bracket, Swivel (W/TRANSOM (L) # ) (Bracket, swivel)

под заказ53280 руб.
243111-89LB0-0EP

Поворотный кронштейн - Bracket, Swivel (W/TRANSOM (S) # ) (Bracket, swivel)

под заказ55200 руб.
343711-94JA0-000

Втулка рулевой системы - Bush, Steering (Втулка)

под заказ2570 руб.
443750-99J41-0EP

(W/TRANSOM (S) UP TO VIN.411320 ->43750-99J42-0EP USED WITH 09160-27012 54113-99JM0 (2PCS) # )

под заказнет сведений
443750-99J42-0EP

Кронштейн рулевого управления (s) (чёрный) - Bracket, Steering (s) (black) (W/TRANSOM (S) FROM VIN.411321 # ) (BRACKET, STEERING (S) (BLACK))

под заказ13920 руб.
443750-99J60-0EP

   (актуальный код замены) Кронштейн рулевого управления (s) (чёрный) - Bracket, Steering (s) (black)

под заказ13920 руб.
443750-99J51-0EP

(W/TRANSOM (L) UP TO VIN.411320 ->43750-99J52-0EP USED WITH 09160-27012 54113-99JM0 (2PCS) # )

под заказнет сведений
443750-99J52-0EP

Кронштейн рулевого управления (l) (чёрный) - Bracket, Steering (l) (black) (W/TRANSOM (L) FROM VIN.411321 # ) (BRACKET, STEERING (L) (BLACK))

под заказ15030 руб.
443750-99J70-0EP

   (актуальный код замены) Кронштейн рулевого управления (l) (чёрный) - Bracket, Steering (l) (black)

под заказ15030 руб.
509160-27012-000

Шайба (27.5x47x1) - Washer (275x47x1) (FROM VIN.411321 # ) (Washer, 27.5x47x1)

11 шт390 руб.
509160-27013-000

Шайба (27.5x47x2) - Washer (275x47x2) (UP TO VIN.411320 # ) (Washer, 27.5x47x2)

9 шт350 руб.
609282-27002-000

Сальник (26x39x5) - Seal, Oil (26x39x5) (Seal, oil, 26x39x5)

12 шт570 руб.
743211-87JL0-000

Втулка поворотного кронштейна - Bush, Swivel Bracket (Bush, swivel bracket)

8 шт1770 руб.
7SK43211-87JL0

   (не оригинальный аналог) Втулка поворотного механизма Skipper для Suzuki DT9,9-15/ DF9,9-DF30a

0 шт148 руб.
809160-27012-000

Шайба (27.5x47x1) - Washer (275x47x1) (Washer, 27.5x47x1)

11 шт390 руб.
943411-939L0-000

Пластина рулевого управления Регулятор - Plate, Steering Adjuster (Plate, steering adjuster)

6 шт200 руб.
1043412-93900-000

Крышка регулировки рулевой системыer - Cover, Steering Adjuster (Cover, steering adjust # ) (Крышка регулятора)

под заказ340 руб.
1043412-93901-000

   (актуальный код замены) Крышка регулировки рулевой системыer - Cover, Steering Adjuster

под заказ340 руб.
1129440-93J00-000

Пружина регулятора рулевой системы - Spring, Steering Adjuster (Пружина регулятора)

под заказ190 руб.
1209160-08082-000

Шайба (8.5x16x1.2) - Washer (85x16x12) (Шайба)

13 шт120 руб.
1309100-08232-000

Болт (8x30) - Bolt (8x30) (Bolt)

6 шт350 руб.
1443411-89LA0-000

Рычаг регулировки рулевой системы - Lever, Steering Adjuster (Lever, steering adjuster)

под заказ360 руб.
1543415-89L00-000

Пластина регулировки рулевой системы (h) - Plate, Strg Adjuster (h) (Plate, strg adj (h))

под заказ790 руб.
1543415-89L01-000

   (актуальный код замены) Пластина регулировки рулевой системы (h) - Plate, Strg Adjuster (h)

42 шт1110 руб.
1643420-89L00-000

Пластина фрикциона регулировки рулевого управления - Plate, Strg Adjuster Friction (Plate comp, strg adj friction)

1 шт800 руб.
1743425-89L00-000

Пластина регулировки рулевой системы вышеr - Plate, Strg Adjuster Upr (Plate, strg adj upper)

1 шт280 руб.
1843512-89L00-000

Резьбовой вал регулировки рулевого управления (h) - Shaft, Strg Adjuster Thread (h) (Shaft, strg adj thread (h))

1 шт230 руб.
1943515-88L00-000

Шайба фрикциона регулировки рулевой системы Пластина - Washer, Strg Adj Friction Plate (Washer, strg adj friction plate)

под заказ1820 руб.
2043516-89J00-000

Шайба регулятора рулевой системы - Washer, Steering Adjuster (Шайба регулятора)

под заказ1330 руб.
2143517-89L00-000

Проставка регулятора рулевой системы - Spacer, Steering Adjuster (Spacer, steering adjuster)

1 шт530 руб.
2209116-06225-000

Болт (6x15) - Bolt (6x15) (Bolt, 6x15)

6 шт250 руб.
2309159-08L02-000

Гайка - Nut (Гайка)

4 шт330 руб.
2409161-08019-000

Шайба (8.2x18x1.2) - Washer (82x18x12) (Washer, 8.2x18x1.2)

6 шт150 руб.
2555321-87J00-000

Защитный анод - Anode, Protection (W/TRANSOM (L) # ) (Протекторная защита)

1 шт750 руб.
2555321-87J01-000

   (актуальный код замены) Защитный анод - Anode, Protection

под заказ850 руб.
25SMO-55321-87J01-000

   (не оригинальный аналог) Защитный анод SMO-55321-87J01-000 (оригинал)

под заказ590 руб.
25SMO-55321-87J01-000

  (аналог) Защитный анод SMO-55321-87J01-000 (оригинал) - код 55321-87J01-000

 под заказ шт585 руб.
2555321-87J10-000

Анод, Magnesium - Anode, Magnesium (OPT W/TRANSOM (L) # ) (Анод)

под заказ1490 руб.
2555321-87J11-000

   (актуальный код замены) Анод (магниевый) - Anode (magnesium)

27 шт1490 руб.
2609103-06281-000

Болт (6x14) - Bolt (6x14) (Bolt, protection anode # W/TRANSOM (L) # ) (Bolt)

6 шт270 руб.


Время выполнения запроса 3.6502389907837 сек.

 
 

данный сайт носит информационный характер и не является публичной офертой

склад запчастей для водомоторной техники