| |
 |
|
 |
Вернуться к выбору узлов мотора
ДЕТАЛИРОВКА ДЛЯ МОДЕЛИ: SUZUKI DF20A/DF20AR/DF20AT/DF20ATH FROM 02002F-410001~ (P03 014)
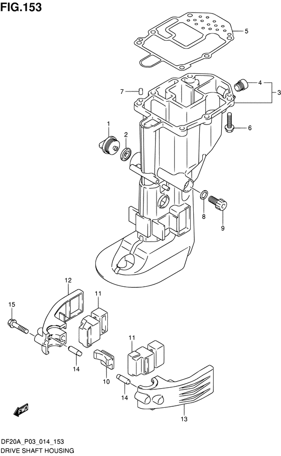
Корпус вала передачи
Код модели двигателя: DF20AS/L; DF20ARS/L; DF20ATS/L
Год выпуска двигателя: 2014
Регион: USA/Thailand ,Код региона: P03/P014
Цвет: Shadow Black Metallic
Номер на рисунке | Артикул | Наименование | QTY | Кол-во на складе | Цена |
| 1 | 17913-93J00-000 | Водяная заглушка - Plug, Water (Заглушка водная) | | 1 шт | 510 руб. |
| 2 | 17914-93J00-000 | Прокладка водяной заглушки - Gasket, Water Plug (Прокладка) | | под заказ | 280 руб. |
| 2 | 17914-93J01-000 | (актуальный код замены) Прокладка водяной заглушки - Gasket, Water Plug | | 2 шт | 470 руб. |
| 3 | 52110-89L00-0EP | Корпус вала передачи (s) (чёрный) - Housing, Drive Shaft (s) (black) (W/TRANSOM (S) # ) (Housing comp, drive shaft (s)) | | под заказ | 41000 руб. |
| 3 | 52110-89L20-0EP | (актуальный код замены) Корпус вала передачи (s) - Housing Comp, Drive Shaft (s) | | под заказ | 39280 руб. |
| 3 | 52110-89L10-0EP | Корпус вала передачи (l) - Housing, Drive Shaft (l) (W/TRANSOM (L) # ) (Housing, drive shaft (l)) | | под заказ | 34080 руб. |
| 3 | 52110-89L30-0EP | (актуальный код замены) Корпус вала передачи (l) (чёрный) - Housing, Drive Shaft (l) (black) | | под заказ | 34080 руб. |
| 4 | 43112-99E00-000 | Выхлопная труба - Pipe, Exhaust (Pipe, exhaust # ) (Труба выхлопная) | | 26 шт | 480 руб. |
| 5 | 52113-89L00-000 | Прокладка корпуса вала передачи - Gasket, Drive Shaft Housing (Gasket, drive shaft housing) | | 61 шт | 2180 руб. |
| 6 | 09116-08151-000 | Болт (8x30) - Bolt (8x30) (Bolt, 8x30) | | 1 шт | 230 руб. |
| 7 | 09202-06023-000 | Штифт (6x10) - Pin (6x10) (Pin) | | 6 шт | 290 руб. |
| 8 | 09168-12017-000 | Прокладка (12x17x1) - Gasket (12x17x1) (Gasket, drain plug # ) (Gasket (12x17x1)) | | 154 шт | 270 руб. |
| 9 | 09248-12009-000 | Заглушка (12x18.65) - Plug (12x1865) (Plug # ) (Заглушка масляного дренажа) | | 20 шт | 580 руб. |
| 10 | 54151-99J00-000 | Крепление нижнего упора - Mount, Lwr Thrust (Mount, lower thrust) | | под заказ | 1350 руб. |
| 11 | 54167-99J01-000 | Нижнее боковое крепление - Mount, Lower Side (Mount, lower side) | | 9 шт | 4280 руб. |
| 12 | 54211-99J01-0EP | Крышка нижней опоры Stbd - Cover, Lower Mount Stbd (Cover, lower mount stbd) | | 4 шт | 7180 руб. |
| 13 | 54221-99J01-0EP | Крышка нижней опоры Port - Cover, Lower Mount Port (Cover, lower mount port) | | 15 шт | 7180 руб. |
| 14 | 54213-93901-000 | Штифт, Lwr Крепление Крышка Knock - Pin, Lwr Mount Cover Knock (Pin, lower mount cover knock) | | 1 шт | 760 руб. |
| 15 | 09116-08154-000 | Болт (8x40) - Bolt (8x40) (Bolt, 8x40) | | 6 шт | 470 руб. |
Время выполнения запроса 1.488697052002 сек. |
|