| |
 |
|
 |
Вернуться к выбору узлов мотора
ДЕТАЛИРОВКА ДЛЯ МОДЕЛИ: SUZUKI DF25/DF25R/DF25Q FROM 02503F-310001~ (E01)
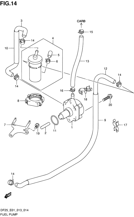
Топливный насос
Код модели двигателя: DF25S/L; DF25RS/L; DF25QS/L; DF25TS/L
Год выпуска двигателя: 2013
Регион: General Export No.1 ,Код региона: P01
Цвет: Shadow Black Metallic
Номер на рисунке | Артикул | Наименование | QTY | Кол-во на складе | Цена |
| 1 | 15100-95J03-000 | Топливный насос, в сборе - Pump Assy, Fuel (Pump assy, fuel) | | под заказ | 19010 руб. |
| 1 | 15100-95J04-000 | (актуальный код замены) Топливный насос, в сборе - Pump Assy, Fuel | | 1 шт | 19010 руб. |
| 2 | 15131-99E00-000 | Тяга топливного насоса - Rod, Fuel Pump (Штанга топливного насоса) | | 1 шт | 620 руб. |
| 3 | 15192-95J11-000 | Топливный шланг (Фильтр To Помпа) - Hose, Fuel (filter To Pump) (Hose, fuel (filter to pump)) | | под заказ | 2120 руб. |
| 4 | 15410-87J30-000 | Топливный фильтр - Filter, Fuel (Фильтр топливный) | | 167 шт | 2100 руб. |
| 5 | 15419-87J00-000 | Колпачок топливного фильтра - Cap, Fuel Filter (Стакан топливного фильтра) | | под заказ | 640 руб. |
| 6 | 09401-11423-000 | Зажим - Clip (Clip) | | 7 шт | 210 руб. |
| 7 | 15421-95J00-000 | Кронштейн топливного фильтра - Bracket, Fuel Filter (Кронштейн топливного фильтра) | | под заказ | 700 руб. |
| 8 | 15422-96J00-000 | Струбцина топливного фильтра - Clamp, Fuel Filter (Clamp, filter # ) (Струбцина фильтра) | | под заказ | 730 руб. |
| 8 | 15422-96J01-000 | (актуальный код замены) Струбцина топливного фильтра - Clamp, Fuel Filter | | под заказ | 730 руб. |
| 9 | 18498-99E10-000 | Защита топливного шланга (610) - Protector, Fuel Hose (610) (Protector, fuel hose # L:610->560 # ) (Протектор топливный) | | под заказ | 1110 руб. |
| 9 | 18498-99E11-000 | (актуальный код замены) Защита топливного шланга (610) - Protector, Fuel Hose (610) | | под заказ | 1110 руб. |
| 10 | 18498-96J20-000 | Защита топливного шланга (370) - Protector, Fuel Hose (370) (L:370->110 # ) (Protector (13.5x16.5x370)) | | под заказ | 730 руб. |
| 10 | 18498-96J21-000 | (актуальный код замены) Защита топливного шланга (370) - Protector, Fuel Hose (370) | | под заказ | 730 руб. |
| 11 | 09280-26005-000 | Уплотнительное кольцо (d: 2.4, Id: 26.2) - O Ring (d:24, Id:262) (O ring (d:2.4, id:26.2) # ) (O ring (dd:2.4, id:26.2)) | | 11 шт | 200 руб. |
| 12 | 09343-70503-00B | Шланг (7x12x2000) - Hose (7x12x2000) (L:2000->720 # ) (Hose, 7x12x2000) | | под заказ | 10370 руб. |
| 13 | 15193-95J11-000 | Топливный шланг (от насоса к карбюратору) - Hose, Fuel (pump To Carb) (Hose, fuel (pump to carb)) | | под заказ | 2250 руб. |
| 14 | 09401-11423-000 | Зажим - Clip (Clip) | | 7 шт | 210 руб. |
| 15 | 09401-10412-000 | Зажим - Clip (Clip) | | 8 шт | 190 руб. |
| 16 | 09401-12412-000 | Зажим - Clip (Clip) | | под заказ | 190 руб. |
| 17 | 09408-00069-000 | Зажим - Clip (Clip # ) (Clamp (id:16.5, id:8)) | | под заказ | 240 руб. |
| 18 | 09408-00105-000 | Струбцина - Clamp (Clamp # ) (Струбцина шланга) | | под заказ | 390 руб. |
| 19 | 01550-06127-000 | Болт - Bolt (Bolt, rect # ) (Bolt) | | 10 шт | 180 руб. |
| 20 | 01550-06257-000 | Болт - Bolt (Bolt) | | под заказ | 180 руб. |
Время выполнения запроса 1.3589370250702 сек. |
|