| |
 |
|
 |
Вернуться к выбору узлов мотора
ДЕТАЛИРОВКА ДЛЯ МОДЕЛИ: SUZUKI DF25/DF25R/DF25Q FROM 02503F-310001~ (E01)
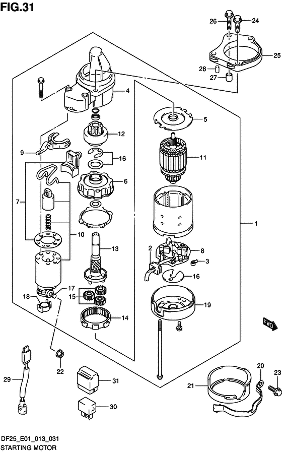
Двигатель электростартера
Код модели двигателя: DF25S/L; DF25RS/L; DF25QS/L; DF25TS/L
Год выпуска двигателя: 2013
Регион: General Export No.1 ,Код региона: P01
Цвет: Shadow Black Metallic
Номер на рисунке | Артикул | Наименование | QTY | Кол-во на складе | Цена |
| 1 | 31100-95J01-000 | Двигатель электростартера в сборе - Motor Assy, Starting (Motor assy, starting) | | под заказ | 133440 руб. |
| 1 | 31100-95J02-000 | (актуальный код замены) Двигатель электростартера в сборе - Motor Assy, Starting | | под заказ | 133440 руб. |
| 1 | PH130-0077 | (не оригинальный аналог) Электростартер двигателя Evinrude-Johnson/Suzuki PH130-0077 | | под заказ | 34240 руб. |
| 2 | 31131-94J00-000 | Щётка в сборе - Brush Assy (Набор щёток плюс) | | под заказ | 3480 руб. |
| 3 | 31135-90J00-000 | Пружина - Spring (Пружина) | | под заказ | 710 руб. |
| 4 | 31151-94J00-000 | Картер коробки передач - Case, Gear (Case, gear) | | под заказ | 15320 руб. |
| 4 | 31151-94J01-000 | (актуальный код замены) Case, Двигатель электростартера Шестерня - Case, Starting Motor Gear | | под заказ | 15320 руб. |
| 5 | 31152-90J00-000 | Пластина, Ctr - Plate, Ctr (Пластина center display circuit) | | под заказ | 1890 руб. |
| 6 | 31153-90J00-000 | Кронштейн, Шестерня - Bracket, Gear (Кронштейн шестерни) | | под заказ | 3340 руб. |
| 7 | 31171-96J00-000 | Пылезащитная крышка - Cover Kit, Dust (Крышка) | | под заказ | 1530 руб. |
| 8 | 31173-94J00-000 | Держатель щетки - Holder Assy, Brush | | под заказ | 11280 руб. |
| 8 | 31173-94J01-000 | (актуальный код замены) Держатель щетки - Holder Assy, Brush | | под заказ | 13930 руб. |
| 8 | 31173-94J01-000 | Держатель щетки - Holder Assy, Brush (HOLDER ASSY, BRUSH) | | под заказ | 13930 руб. |
| 9 | 31191-96J00-000 | Рычаг переключателя - Lever, Shift (Рукоятка переключение) | | под заказ | 1720 руб. |
| 10 | 31220-94J00-000 | Переключатель, Магнето - Switch, Magneto (Замок зажигания) | | 2 шт | 23570 руб. |
| 11 | 31310-90J00-000 | Якорь - Armature (Отсутствующе) | | под заказ | 52320 руб. |
| 12 | 31320-94J00-000 | Шестерня - Pinion (Pinion) | | под заказ | 23000 руб. |
| 13 | 31341-94J00-000 | Вал шестерни - Shaft, Pinion (Вал шестерни) | | под заказ | 11280 руб. |
| 14 | 31343-90J00-000 | Внутреняя шестерня - Internal Gear (Шестерня внутренняя) | | под заказ | 7060 руб. |
| 15 | 31344-90J00-000 | Планетарные шестерни - Gear, Planetary (Gear, planetry # ) (Шестерня) | | 1 шт | 3100 руб. |
| 16 | 31360-93J01-000 | Установочная шайба, Стопор - Washer Set, Stopper (Washer set, stopper) | | под заказ | 1260 руб. |
| 17 | 31913-93J00-000 | Клемма - Terminal (Контакт) | | под заказ | 2020 руб. |
| 18 | 31914-93J00-000 | Колпачок клеммы - Cap, Terminal (Крышка) | | под заказ | 480 руб. |
| 19 | 31170-94J00-000 | Крышка в сборе, Двигатель стартера Rr - Cover Assy, Starter Motor Rr (Cover assy, starter motor rear) | | под заказ | 4440 руб. |
| 20 | 31912-95J00-000 | Крепежная скоба двигателя электростартера - Band, Starter Motor (Лента стартера мотора) | | под заказ | 760 руб. |
| 21 | 31918-95J00-000 | Демпфер, Двигатель стартера - Damper, Starter Motor (Демпфер нижний) | | под заказ | 850 руб. |
| 21 | 31918-95J01-000 | (актуальный код замены) Демпфер, Двигатель стартера - Damper, Starter Motor | | под заказ | 850 руб. |
| 22 | 08316-10087-000 | Гайка - Nut (Nut # ) (Nut (chrome)) | | 14 шт | 170 руб. |
| 23 | 01550-08207-000 | Болт - Bolt (Bolt) | | 10 шт | 240 руб. |
| 24 | 01550-08257-000 | Болт - Bolt (Bolt) | | под заказ | 300 руб. |
| 25 | 31911-95J00-000 | Кронштейн, Двигатель стартера - Bracket, Starter Motor (Кронштейн стартера мотора) | | под заказ | 3920 руб. |
| 26 | 01550-08307-000 | Болт - Bolt (Bolt) | | 21 шт | 320 руб. |
| 27 | 04211-11129-000 | Штифт - Pin (Pin) | | 14 шт | 150 руб. |
| 28 | 04221-06129-000 | Штифт - Pin (Pin (6x12) # ) (Штифт 6X12) | | под заказ | 130 руб. |
| 29 | 36645-94J00-000 | Подводящий провод, Двигатель электростартера - Lead Wire, Starting Motor (Проводка) | | под заказ | 1470 руб. |
| 30 | 38860-76F01-000 | Реле в сборе - Relay Assy (Relay, starting motor # ) (Реле стартера) | | 7 шт | 5000 руб. |
| 31 | 38915-90J00-000 | Держатель реле - Holder, Relay (модели с электро стартером) (Держатель реле) | | 2 шт | 370 руб. |
Время выполнения запроса 2.3768410682678 сек. |
|