| |
 |
|
 |
Вернуться к выбору узлов мотора
ДЕТАЛИРОВКА ДЛЯ МОДЕЛИ: SUZUKI DF25/DF25R/DF25Q FROM 02503F-310001~ (E01)
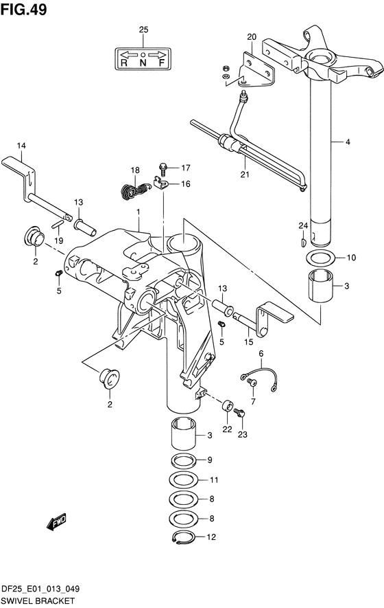
Поворотный кронштейн
Код модели двигателя: DF25S/L; DF25RS/L; DF25QS/L; DF25TS/L
Год выпуска двигателя: 2013
Регион: General Export No.1 ,Код региона: P01
Цвет: Shadow Black Metallic
Номер на рисунке | Артикул | Наименование | QTY | Кол-во на складе | Цена |
| 1 | 43111-88L61-0EP | Поворотный кронштейн - Bracket, Swivel (Bracket, swivel (l) (black)) | | под заказ | 52800 руб. |
| 2 | 43211-87J00-000 | Втулка поворотного кронштейна - Bush, Swivel Bracket (Втулка шарнирного соединения) | | 10 шт | 1020 руб. |
| 3 | 43711-89J10-000 | Втулка рулевой системы - Bush, Steering (Втулка управления) | | 23 шт | 1430 руб. |
| 4 | 43750-95J50-0EP | Кронштейн рулевого управления (l) (чёрный) - Bracket, Steering (l) (black) (Bracket, steering (l) (black)) | | под заказ | 40080 руб. |
| 5 | 22511-99011-000 | Ниппель смазки - Nipple, Grease (Ниппель) | | 9 шт | 400 руб. |
| 6 | 36894-95201-000 | Lead (l: 165) - Lead (l:165) (Lead # ) (Провод) | | под заказ | 1170 руб. |
| 7 | 09125-05050-000 | Винт (5x8) - Screw (5x8) (Screw # ) (Винт 5X8) | | под заказ | 150 руб. |
| 8 | 09160-39003-000 | Шайба (39.5x58x0.3) - Washer (395x58x03) (Шайба) | | 8 шт | 390 руб. |
| 9 | 09282-39001-000 | Сальник (39x51x5) - Seal, Oil (39x51x5) (Seal, oil # ) (Сальник 39X51X) | | 22 шт | 690 руб. |
| 10 | 43721-95J00-000 | Пластина рулевого управления вышеr - Plate, Steering Upr (Plate, steering upper (39.5x71x1) # ) (Плата верхняя (39.5X71) | | под заказ | 920 руб. |
| 11 | 09160-39002-000 | Шайба (39.5x58x1) - Washer (395x58x1) (Шайба) | | 27 шт | 390 руб. |
| 12 | 09380-38003-000 | Стопорное кольцо - Circlip (Circlip) | | 5 шт | 600 руб. |
| 13 | 41226-97E00-000 | Втулка рычаша блокировки наклона - Bush, Tilt Lock Lever (Bush, tilt lock lever # ) (Втулка ручки блокировки) | | 2 шт | 490 руб. |
| 14 | 41270-89J10-000 | Правый рычаг блокировки наклона - Lever, Tilt Lock Stbd (Lever, tilt lock stbd) | | под заказ | 4280 руб. |
| 14 | 41270-89J11-000 | (актуальный код замены) Правый рычаг блокировки наклона - Lever, Tilt Lock Stbd | | под заказ | 4280 руб. |
| 15 | 41280-89J04-000 | Левый рычаг блокировки наклона - Lever, Tilt Lock Port (Lever, tilt lock port) | | под заказ | 3630 руб. |
| 16 | 45731-96312-000 | Кронштейн, Пружина - Bracket, Spring (Bracket, spring) | | под заказ | 530 руб. |
| 17 | 09116-06236-000 | Болт (6x16) - Bolt (6x16) (Bolt, 6x16) | | под заказ | 170 руб. |
| 18 | 41230-97E10-000 | Пружина фиксатора наклона - Spring, Tilt Lock (Spring, tilt lock # ) (Пружина) | | под заказ | 2280 руб. |
| 19 | 09205-03012-000 | Стопор пружины (3x16) - Pin, Spring (3x16) (Pin, gear # ) (Штифт L:16) | | 12 шт | 190 руб. |
| 20 | 43755-95J10-000 | Соединитель рулевой системы Регулятор - Attachment, Steering Adjuster (Attachment, steering adjuster) | | под заказ | 11000 руб. |
| 21 | 43770-95J00-000 | Регулятор в сборе, Рулевая система - Adjuster Assy, Steering (Adjuster assy, steering) | | под заказ | 54720 руб. |
| 22 | 55321-87J00-000 | Защитный анод - Anode, Protection (Протекторная защита) | | 1 шт | 750 руб. |
| 22 | 55321-87J01-000 | (актуальный код замены) Защитный анод - Anode, Protection | | 30 шт | 850 руб. |
| 22 | SMO-55321-87J01-000 | (не оригинальный аналог) Защитный анод SMO-55321-87J01-000 (оригинал) | | под заказ | 590 руб. |
| 22 | SMO-55321-87J01-000 | (аналог) Защитный анод SMO-55321-87J01-000 (оригинал) - код 55321-87J01-000 | | под заказ шт | 585 руб. |
| 23 | 09103-06281-000 | Болт (6x14) - Bolt (6x14) (Bolt, protection anode # ) (Bolt) | | 6 шт | 270 руб. |
| 24 | 09420-05003-000 | Ключ - Key (Ключ) | | под заказ | 600 руб. |
| 25 | 21131-96010-000 | Маркировка переключателя сцепления - Mark, Clutch Shift (Mark, shift # ) (Маркировка) | | под заказ | 160 руб. |
| 25 | 21131-91J00-YAY | (актуальный код замены) Маркировка переключателя сцепления - Mark, Clutch Shift | | 2 шт | 160 руб. |
Время выполнения запроса 1.3093259334564 сек. |
|