| |
 |
|
 |
Вернуться к выбору узлов мотора
ДЕТАЛИРОВКА ДЛЯ МОДЕЛИ: SUZUKI DF25/DF25R/DF25Q FROM 02503F-310001~ (E03)
Опции: Фиксатор дистанционного управления
Код модели двигателя: DF25S/L; DF25RS/L; DF25QS/L; DF25TS/L
Год выпуска двигателя: 2013
Регион: USA ,Код региона: P03
Цвет: Shadow Black Metallic
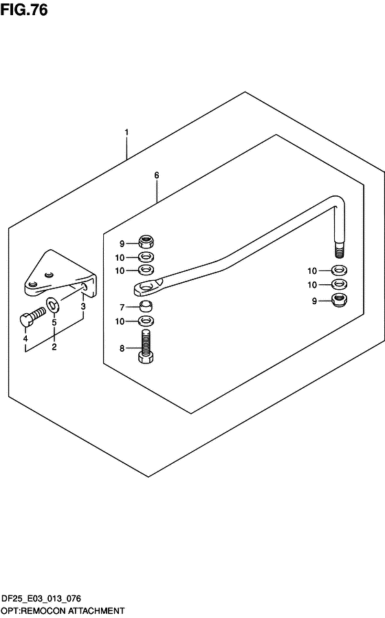
Номер на рисунке | Артикул | Наименование | QTY | Кол-во на складе | Цена |
| 1 | 67700-95J01-000 | Рулевая тяга - Link Set, Drag (Link set, drag) | | 1 шт | 8930 руб. |
| 2 | 67100-95J01-000 | Соединительный комплект рулевого кронштейна - Attachment Set, Steering Brkt (Attachment set, steering brkt) | | 1 шт | 3100 руб. |
| 3 | 43755-95J01-000 | Соединитель кронштейна рулевой системы - Attachment, Steering Bracket (Attachment, steering brkt) | | под заказ | 3410 руб. |
| 4 | 09100-10270-000 | Болт (10x25) - Bolt (10x25) (Bolt, strg brkt attachment (10x25) # ) (Bolt (10x25)) | | под заказ | 1500 руб. |
| 5 | 09162-10005-000 | Шайба с блокировкой - Washer, Lock (Lock washer # ) (Washer lock) | | под заказ | 130 руб. |
| 6 | 67701-95J00-000 | Рулевая тяга в сборе - Link Assy, Drag (Тяга рулевого управления) | | под заказ | 7780 руб. |
| 7 | 67721-89J00-000 | Проставка переключающей тяги - Spacer, Drag Link (Кольцо/шайба) | | под заказ | 1380 руб. |
| 8 | 67725-96J00-000 | Болт переключающей тяги - Bolt, Drag Link (Болт) | | 3 шт | 850 руб. |
| 9 | 67726-99E00-000 | Блокирующая гайка - Nut, Lock (Nut # ) (Гайка блокирующая) | | 3 шт | 800 руб. |
| 10 | 67728-99E00-000 | Шайба - Washer (Шайба) | | 2 шт | 260 руб. |
Время выполнения запроса 0.54864692687988 сек. |
|