| |
 |
|
 |
Вернуться к выбору узлов мотора
ДЕТАЛИРОВКА ДЛЯ МОДЕЛИ: SUZUKI DF25/DF25R/DF25Q FROM 02503F-410001~ (E01)
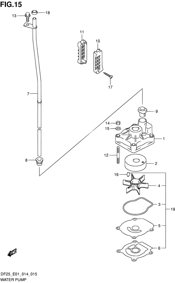
Водяной насос
Код модели двигателя: DF25S/L; DF25RS/L; DF25QS/L; DF25TS/L
Год выпуска двигателя: 2014
Регион: General Export No.1 ,Код региона: P01
Цвет: Shadow Black Metallic
Номер на рисунке | Артикул | Наименование | QTY | Кол-во на складе | Цена |
| 1 | 17410-95J00-000 | Корпус водяного насоса - Case, Water Pump (Корпус водной помпы) | | 5 шт | 4300 руб. |
| 2 | 17413-95J00-000 | Рукав корпуса водяной помпы - Sleeve, Water Pump Case (Обойма помпы) | | 9 шт | 2510 руб. |
| 2 | SK17413-95J00 | (не оригинальный аналог) Стакан крыльчатки Skipper для Suzuki DF20 V-twin- DF60AV | | 0 шт | 643 руб. |
| 3 | 17416-95J00-000 | Сальник корпуса водяного насоса - Sealing, Water Pump Case (Уплотнение корпуса) | | 13 шт | 720 руб. |
| 3 | SK17416-95J00 | (не оригинальный аналог) Прокладка корпуса помпы Skipper для Suzuki Модели техники: DF20-25 (до 14 )/DF40A-60A | | 0 шт | 178 руб. |
| 4 | 17461-96312-000 | Крыльчатка водяного насоса - Impeller, Water Pump (Крыльчатка водной помпы) | | 25 шт | 3490 руб. |
| 4 | SC-WT104 | (не оригинальный аналог) Крыльчатка помпы охлаждения двигателя Suzuki SC-WT104 | | 1 шт | 1060 руб. |
| 5 | 17471-95J01-000 | Панель в нижней части корпуса помпы - Panel, Pump Case Under (Panel, pump case under) | | 9 шт | 900 руб. |
| 6 | 17472-96303-000 | Прокладка снизу корпуса водяного насоса - Gasket, Pump Case Under (Gasket, pump case under) | | под заказ | 270 руб. |
| 6 | 17472-96304-000 | (актуальный код замены) Прокладка снизу корпуса водяного насоса - Gasket, Pump Case Under | | 26 шт | 360 руб. |
| 6 | SK17472-96303 | (не оригинальный аналог) Прокладка под пластину водяного насоса Skipper для Suzuki DT25-40, DF20-50, DF40A-60A | | 0 шт | 129 руб. |
| 7 | 17560-95J01-000 | Водяная трубка (s) - Tube, Water (s) (W/TRANSOM (S) # ) (Tube comp, water (s)) | | под заказ | 3990 руб. |
| 7 | 17560-95J11-000 | Водяная трубка (l) - Tube, Water (l) (W/TRANSOM (L) # ) (Tube, water (l)) | | под заказ | 4660 руб. |
| 8 | 17565-96300-000 | Пыльник водяной трубки Middle - Grommet, Water Tube Middle (Grommet, water tube # ) (Grommet) | | под заказ | 360 руб. |
| 8 | 17565-91L00-000 | (актуальный код замены) Пыльник водяной трубки Middle - Grommet, Water Tube Middle | | 11 шт | 360 руб. |
| 9 | 17566-96302-000 | Пыльник водяной трубки Lwr - Grommet, Water Tube Lwr (Grommet, water tube lower # ) (Grommet) | | под заказ | 290 руб. |
| 9 | 17566-96303-000 | (актуальный код замены) Пыльник водяной трубки Lwr - Grommet, Water Tube Lwr | | 27 шт | 360 руб. |
| 10 | 17631-95J00-000 | Водяной фильтр с левой стороны - Filter, Water Port Side (Сетка водозаборника) | | под заказ | 810 руб. |
| 11 | 17632-95J00-000 | Водяной фильтр с правой стороны - Filter, Water Stbd Side (Сетка водозаборника) | | 3 шт | 810 руб. |
| 12 | 09108-06146-000 | Болт под шпильку - Bolt, Stud (Болт) | | 14 шт | 540 руб. |
| 13 | 09116-06236-000 | Болт (6x16) - Bolt (6x16) (Bolt, 6x16) | | под заказ | 170 руб. |
| 14 | 29141-93J00-000 | Гайка - Nut (Гайка) | | 18 шт | 480 руб. |
| 15 | 09160-06082-000 | Шайба (6.5x13x1.0) - Washer (65x13x10) (Washer # ) (Шайба) | | 7 шт | 150 руб. |
| 16 | 09420-04006-000 | Ключ - Key (Key, impeller # ) (Ключ) | | 18 шт | 430 руб. |
| 17 | 03142-04259-000 | Винт - Screw (Болт) | | 10 шт | 190 руб. |
| 18 | 09320-08062-000 | Подушка - Cushion (Cushion) | | 34 шт | 1010 руб. |
| 19 | 17400-95J02-000 | Ремкомплект водяного насоса - Kit, Water Pump Repair (OPT # ) (Kit, water pump repair) | | 1 шт | 4730 руб. |
| 19 | 17400-95J03-000 | (актуальный код замены) Ремкомплект водяного насоса - Kit, Water Pump Repair | | 7 шт | 4730 руб. |
Время выполнения запроса 2.6054451465607 сек. |
|