| |
 |
|
 |
Вернуться к выбору узлов мотора
ДЕТАЛИРОВКА ДЛЯ МОДЕЛИ: SUZUKI DF25/DF25R/DF25Q FROM 02503F-410001~ (E01)
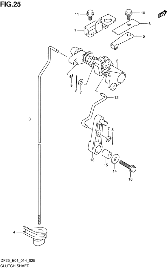
Сцепление Вал
Код модели двигателя: DF25S/L; DF25RS/L; DF25QS/L; DF25TS/L
Год выпуска двигателя: 2014
Регион: General Export No.1 ,Код региона: P01
Цвет: Shadow Black Metallic
Номер на рисунке | Артикул | Наименование | QTY | Кол-во на складе | Цена |
| 1 | 21126-95J01-000 | Держатель вала сцепления - Holder, Clutch Shaft (Holder, clutch shaft) | | под заказ | 1470 руб. |
| 2 | 21211-95J01-000 | Сцепление Вал - Shaft, Clutch (Shaft, clutch) | | 2 шт | 1990 руб. |
| 3 | 23111-95J00-000 | Тяга сцепления (s) - Rod, Clutch (s) (W/TRANSOM (S) # ) (Штанга муфты) | | под заказ | 1870 руб. |
| 3 | 23111-95J10-000 | Тяга сцепления (l / ll) - Rod, Clutch (l/ll) (W/TRANSOM (L) # ) (Штанга муфты) | | под заказ | 2060 руб. |
| 4 | 23131-95J00-000 | Башмак тяги сцепления - Boot, Clutch Rod (Колпак муфты) | | под заказ | 730 руб. |
| 5 | 23213-89J01-000 | Пружина пластины с пазом №1 - Spring, Notch Plate No1 (Spring, notch plate no.1) | | под заказ | 690 руб. |
| 6 | 23214-89J10-000 | Пружина пластины с пазом №2 - Spring, Notch Plate No2 (Пружина №2) | | под заказ | 530 руб. |
| 7 | 09160-05029-000 | Шайба (5.5x12x0.8) - Washer (55x12x08) (Washer # ) (Шайба) | | 14 шт | 130 руб. |
| 8 | 09204-01002-000 | Штифт - Pin (Cotter pin # ) (Стопор) | | 24 шт | 140 руб. |
| 9 | 09383-04002-000 | Уплотнительное кольцо - E Ring (E ring) | | 18 шт | 80 руб. |
| 10 | 01550-06127-000 | Болт - Bolt (Bolt, rect # ) (Bolt) | | 10 шт | 180 руб. |
| 11 | 01550-06127-000 | Болт - Bolt (Bolt, rect # ) (Bolt) | | 10 шт | 180 руб. |
| 12 | 21241-95J00-000 | Тяга рычага сцепления - Link, Clutch Lever (Сустав муфты) | | 2 шт | 1560 руб. |
| 13 | 23210-95J00-000 | Рычаг управления сцеплением - Lever, Clutch Control (Рукоятка муфты) | | 3 шт | 2160 руб. |
| 14 | 09160-06084-000 | Шайба (6.5x18x1.6) - Washer (65x18x16) (Washer # ) (Шайба 6.5X18X1) | | 7 шт | 130 руб. |
| 15 | 09180-06230-000 | Проставка (6.2x12.6x12.5) - Spacer (62x126x125) (Spacer, throttle lever # ) (Spacer (6.2x12x12.5)) | | 7 шт | 750 руб. |
| 16 | 01550-06257-000 | Болт - Bolt (Bolt) | | под заказ | 180 руб. |
Время выполнения запроса 0.97085094451904 сек. |
|