| |
 |
|
 |
Вернуться к выбору узлов мотора
ДЕТАЛИРОВКА ДЛЯ МОДЕЛИ: SUZUKI DF25/DF25R/DF25Q FROM 02503F-410001~ (E03)
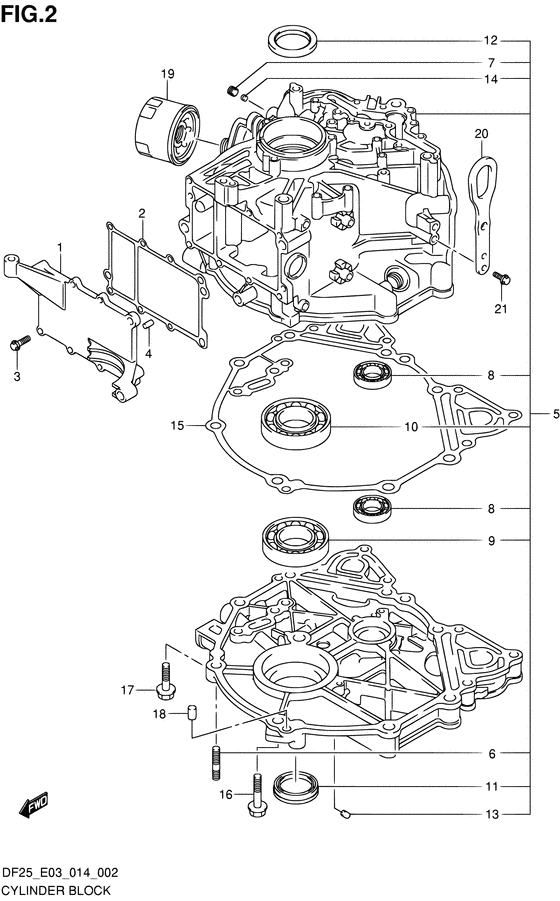
Блок цилиндра
Код модели двигателя: DF25S/L; DF25RS/L; DF25QS/L; DF25TS/L
Год выпуска двигателя: 2014
Регион: USA ,Код региона: P03
Цвет: Shadow Black Metallic
Номер на рисунке | Артикул | Наименование | QTY | Кол-во на складе | Цена |
| 1 | 11218-95J00-000 | Крышка, Блок цилиндра - Cover, Cylinder Block (Крышка блока цилиндров) | | под заказ | 6920 руб. |
| 2 | 11219-95J01-000 | Прокладка, Блок цилиндра Крышка - Gasket, Cyl Block Cover (Прокладка клышки блока) | | 2 шт | 1090 руб. |
| 3 | 01547-06207-000 | Болт - Bolt (Bolt, lower # ) (Bolt (chrome)) | | 2 шт | 160 руб. |
| 4 | 04221-06129-000 | Штифт - Pin (Pin (6x12) # ) (Штифт 6X12) | | под заказ | 130 руб. |
| 5 | 11300-95851-000 | Блок цилиндра - Block Set, Cylinder (Block set, cylinder) | | под заказ | 229920 руб. |
| 6 | 09108-08281-000 | Болт под шпильку - Bolt, Stud (Болт) | | под заказ | 430 руб. |
| 7 | 09246-05006-000 | Заглушка (1 / 8pt, H: 5.5) - Plug (1/8pt, H:55) (Plug) | | под заказ | 260 руб. |
| 8 | 09262-25145-000 | Подшипник (25x42x9) - Bearing (25x42x9) (Подшипник распредвала) | | 2 шт | 6450 руб. |
| 8 | 6905RUEFKOYO | (подбор по маркировке) Подшипник KOYO 6905RUEF(25*42*9 мм) | | 5 шт | 310 руб. |
| 9 | 09262-35067-000 | Подшипник (35x72x17) - Bearing (35x72x17) (Bearing, crankshaft lower (35x72x17) # ) (Bearing) | | под заказ | 6920 руб. |
| 10 | 08110-62080-000 | Подшипник - Bearing (Bearing, driven gear upper # ) (Подшипник шестерни, верхний) | | 5 шт | 3630 руб. |
| 11 | 09283-34014-000 | Сальник (34x46x8) - Seal, Oil (34x46x8) (Уплотнение коленвала) | | 3 шт | 4250 руб. |
| 12 | 09283-38025-000 | Сальник (38x56x7) - Seal, Oil (38x56x7) (Seal, crankshaft oil upper (38x56x7) # ) (Уплотнение коленвала) | | 4 шт | 3190 руб. |
| 13 | 11112-53A00-000 | Заглушка масляной трубки Вентури - Plug, Oil Venturi (FOR CRANKSHAFT CASE # ) (Заглушка) | | под заказ | 370 руб. |
| 14 | 09493-20012-000 | Воздушная форсунка (100) - Jet, Air (100) (FOR CYLINDER BLOCK # ) (Жиклер масляный) | | 1 шт | 1200 руб. |
| 15 | 11351-95J01-000 | Прокладка картера двигателя - Gasket, Crankcase (Прокладка картера) | | 5 шт | 3990 руб. |
| 16 | 09116-10143-000 | Болт (10x40) - Bolt (10x40) (Bolt, crankcase (10x40) # ) (Болт картера (10X40)) | | под заказ | 810 руб. |
| 17 | 09116-08128-000 | Болт (8x40) - Bolt (8x40) (Bolt (8x40)) | | под заказ | 390 руб. |
| 18 | 04221-08149-000 | Штифт - Pin (Pin # ) (Стопор) | | под заказ | 150 руб. |
| 19 | 16510-87J00-000 | Масляный фильтр - Filter Assy, Oil (Фильтр масляный) | | под заказ | 1760 руб. |
| 19 | 16510-87J01-000 | (актуальный код замены) Масляный фильтр - Filter Assy, Oil | | 48 шт | 2010 руб. |
| 20 | 11291-95J00-000 | Крюк двигателя - Hook, Engine (Крюк двигателя) | | под заказ | 1320 руб. |
| 21 | 01550-06167-000 | Болт - Bolt (Bolt) | | 9 шт | 210 руб. |
Время выполнения запроса 1.9536619186401 сек. |
|