Оригинальные запчасти на подвесной двигатель Suzuki DF25S/L; DF25RS/L; DF25QS/L; DF25TS/L модель 2014 года - Tiller handle
вконтакте

Контактный телефон: +7 (981) 121-46-93, +7 (800) 200-90-76 , Email: parts-katalog@yandex.ru, где купить

 
 

  Логин:

Пароль:

Регистрация

www.partskatalog.ru Все каталоги Запчасти Mercury Запчасти Suzuki Запчасти Tohatsu Запчасти Honda Контакты

назад Раздел:   вперёд

Вернуться к выбору узлов мотора


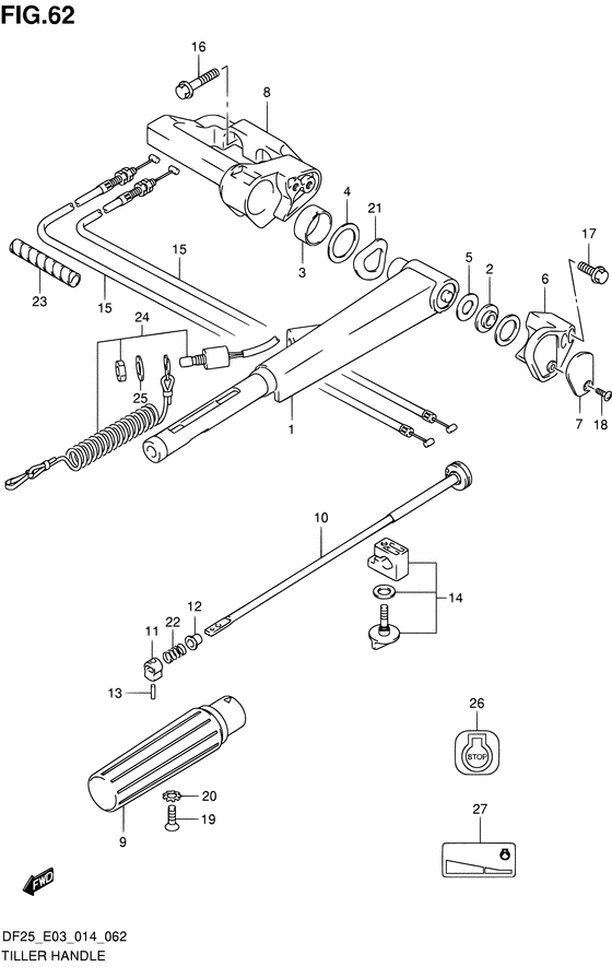
ДЕТАЛИРОВКА ДЛЯ МОДЕЛИ: SUZUKI DF25/DF25R/DF25Q FROM 02503F-410001~ (E03)

Румпель


Код модели двигателя: DF25S/L; DF25RS/L; DF25QS/L; DF25TS/L

Год выпуска двигателя: 2014

Регион: USA ,Код региона: P03

Цвет: Shadow Black Metallic

Номер на
рисунке
АртикулНаименованиеQTYКол-во
на складе
Цена
163111-95J00-0EP

Ручка румпеля (чёрный) - Handle, Tiller (black) (Рукоятка управления)

под заказ37200 руб.
263114-94300-000

Прокладка крышки румпеля - Spacer, Handle Cover (Spacer, handle cover # ) (Прокладка рукоятки)

под заказ680 руб.
263114-95L00-000

   (актуальный код замены) Прокладка крышки румпеля - Spacer, Handle Cover

7 шт800 руб.
363115-89J00-000

Втулка ручки румпеля - Bush, Tiller Handle (Втулка ручки румпеля)

под заказ910 руб.
463115-96310-000

Прокладка внутри крышки румпеля - Spacer, Handle Cover Inside (Spacer, handle cover inside # ) (Прокладка ручки)

5 шт690 руб.
563118-94300-000

Регулировочная шайба (0.3) - Shim (03) (Shim (13.2x31x0.3) # ) (Шайба рукоятки)

4 шт370 руб.
663121-95J00-0EP

Крышка румпеля - Cover, Tiller Handle (Крышка рукоятки)

1 шт28800 руб.
763122-95J00-000

Защита, Handle Крышка - Protector, Handle Cover (Протектор крышки рукоятки)

под заказ1640 руб.
863131-95J00-0EP

Кронштейн рукоятки румпеля - Bracket, Tiller Handle (Кронштейн ручки румпеля)

под заказ29760 руб.
963210-93E30-000

Рукоятка румпеля - Grip, Handle (Grip, handle # ) (Рукоятка)

1 шт3390 руб.
1063220-96320-000

Тяга румпеля - Rod, Handle (Штанга ручки)

под заказ4590 руб.
1163223-89J00-000

Стопор тяги румпеля - Stopper, Handle Rod (Стопор рукоятки)

под заказ470 руб.
1263225-93200-000

Втулка тяги румпеля - Bush, Handle Rod (Bush, handle rod # ) (Втулка)

14 шт480 руб.
1363227-93200-000

Штифт, Handle Тяга - Pin, Handle Rod (Pin, handle rod # ) (Штифт)

под заказ220 руб.
1463240-97E10-000

Регулятор Set - Adjuster Set (Adjuster set, handle grip # ) (Регулятор руля)

под заказ3240 руб.
1563610-95J01-000

Тросик дросселя, в сборе - Cable Assy, Throttle (Cable assy, throttle)

6 шт2810 руб.
1563610-95J02-000

   (актуальный код замены) Тросик дросселя - Cable, Throttle

под заказ2810 руб.
1609116-10143-000

Болт (10x40) - Bolt (10x40) (Bolt, crankcase (10x40) # ) (Болт картера (10X40))

под заказ810 руб.
1709116-08137-000

Болт (8x22) - Bolt (8x22) (Bolt (8x22) # ) (Болт (8X22))

10 шт690 руб.
1809125-05042-000

Винт (5x10) - Screw (5x10) (Screw # ) (Винт L)

под заказ150 руб.
1909126-06015-000

Винт (6x23) - Screw (6x23) (Screw # ) (Винт M6X23)

6 шт190 руб.
2009163-06001-000

Шайба с блокировкой - Washer, Lock (Шайба)

13 шт120 руб.
2109164-32005-000

Шайба - Washer (Шайба)

под заказ490 руб.
2209440-12027-000

Пружина - Spring (Spring # ) (Пружина ручки)

12 шт170 руб.
2333833-91J00-000

Трубка провода переключателя (l: 250) - Tube, Switch Lead (l:250) (Tube # ) (Труба)

под заказ610 руб.
2437830-95J02-000

Выключатель аварийной остановки двигателя - Switch Assy, Emergency & Stop

под заказ7730 руб.
2437830-95J04-000

   (актуальный код замены) Выключатель аварийной остановки двигателя - Switch Assy, Emergency & Stop

под заказ7730 руб.
2437830-95J03-000

Выключатель аварийной остановки двигателя - Switch Assy, Emergency & Stop (SWITCH ASSY, EMERGENCY & STOP)

под заказ7730 руб.
2437830-95J04-000

   (актуальный код замены) Выключатель аварийной остановки двигателя - Switch Assy, Emergency & Stop

под заказ7730 руб.
2509160-12067-000

Шайба (12.5x23x1) - Washer (125x23x1) (Washer, emergency sw # ) (Шайба)

8 шт230 руб.
2637835-95D00-000

Наклейка СТОП - Label, Stop (Label, stop # ) (Наклейка)

под заказ130 руб.
2637835-91J00-YAY

   (актуальный код замены) Наклейка СТОП - Label, Stop

под заказ130 руб.
2769714-95J00-000

Маркировка ручки румпеля - Mark, Handle Grip (Маркировка ручки)

под заказ470 руб.


Время выполнения запроса 4.2174160480499 сек.

 
 

данный сайт носит информационный характер и не является публичной офертой

склад запчастей для водомоторной техники