| |
 |
|
 |
Вернуться к выбору узлов мотора
ДЕТАЛИРОВКА ДЛЯ МОДЕЛИ: SUZUKI DF25A/DF25AR/DF25AT/DF25ATH FROM 02504F-510001~ (E01)
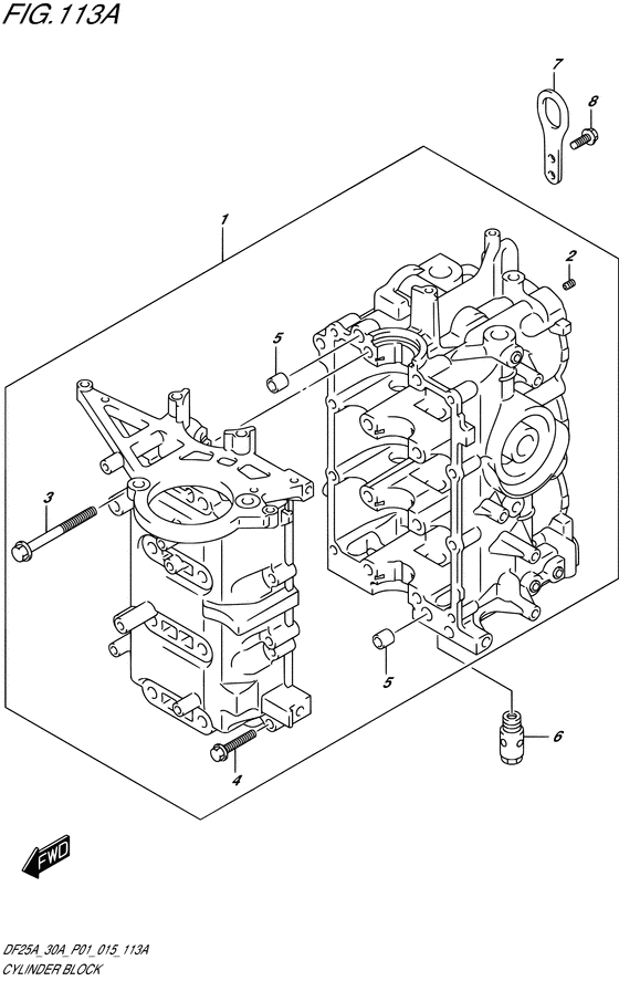
Блок цилиндра
Год выпуска двигателя: 2015
Регион: General Export No.1 (P01)
Цвет: Shadow Black Metallic (0EP)
Номер на рисунке | Артикул | Наименование | QTY | Кол-во на складе | Цена |
| 1 | 11301-94L00-000 | Блок цилиндра - Block Set, Cylinder (BLOCK SET, CYLINDER) | | под заказ | 189120 руб. |
| 1 | 11301-94L20-000 | (актуальный код замены) Блок цилиндра - Block Set, Cylinder | | под заказ | 189120 руб. |
| 2 | 11112-84400-000 | Заглушка масляной трубки Вентури - Plug, Oil Venturi (Заглушка) | | под заказ | 0 руб. |
| 3 | 09119-08L01-000 | Болт (8x77) - Bolt (8x77) (Bolt, 8x77) | | 4 шт | 480 руб. |
| 4 | 01550-06357-000 | Болт - Bolt (Bolt, throttle lever no.2 # ) (Bolt) | | 9 шт | 210 руб. |
| 5 | 04211-11129-000 | Штифт - Pin (Pin) | | 14 шт | 150 руб. |
| 6 | 16440-11D00-000 | Регулятор, Моторное масло (6.5k) - Regulator, Engine Oil (65k) (Regulator, engine oil # ) (Регулятор масла двигателя) | | под заказ | 3650 руб. |
| 7 | 11291-94L00-000 | Крюк двигателя - Hook, Engine (HOOK, ENGINE) | | под заказ | 960 руб. |
| 8 | 01550-08207-000 | Болт - Bolt (Bolt) | | 10 шт | 240 руб. |
Время выполнения запроса 0.86906814575195 сек. |
|