| |
 |
|
 |
Вернуться к выбору узлов мотора
ДЕТАЛИРОВКА ДЛЯ МОДЕЛИ: SUZUKI DF25A/DF25AR/DF25AT/DF25ATH FROM 02504F-510001~ (E01)
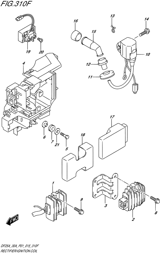
Выпрямитель / Катушка зажигания
Год выпуска двигателя: 2015
Регион: General Export No.1 (P01)
Цвет: Shadow Black Metallic (0EP)
Номер на рисунке | Артикул | Наименование | QTY | Кол-во на складе | Цена |
| 1 | 32800-94L00-000 | Выпрямитель & Регулятор в сборе - Rectifier & Regulator Assy (RECTIFIER & REGULATOR ASSY) | | под заказ | 18290 руб. |
| 1 | 32800-94L01-000 | (актуальный код замены) Выпрямитель & Регулятор в сборе - Rectifier & Regulator Assy | | под заказ | 18290 руб. |
| 2 | 32800-88L00-000 | Выпрямитель & Регулятор в сборе - Rectifier & Regulator Assy (Выпрямитель и регулятор) | | 1 шт | 21840 руб. |
| 2 | 32800-88L01-000 | (актуальный код замены) Выпрямитель & Регулятор в сборе - Rectifier & Regulator Assy | | под заказ | 21840 руб. |
| 3 | 32815-94L00-000 | Кронштейн выпрямителя - Bracket, Rectifier (BRACKET, RECTIFIER) | | под заказ | 2000 руб. |
| 3 | 32815-94L01-000 | (актуальный код замены) Кронштейн выпрямителя - Bracket, Rectifier | | 3 шт | 2000 руб. |
| 4 | 32890-94L00-000 | Держатель электрических частей - Holder, Electric Parts (HOLDER, ELECTRIC PARTS) | | под заказ | 2080 руб. |
| 5 | 01550-06207-000 | Болт - Bolt (Bolt # ) (Bolt (chrome)) | | 17 шт | 220 руб. |
| 6 | 09169-06063-000 | Шайба - Washer (Washer (6.3x17x6) # ) (Шайба) | | под заказ | 250 руб. |
| 7 | 09320-08051-000 | Подушка - Cushion (Cushion) | | 10 шт | 300 руб. |
| 7 | 09320-08515-000 | (актуальный код замены) Подушка (8.4x18x6) - Cushion (8.4x18x6) | | под заказ | 260 руб. |
| 8 | 01550-06207-000 | Болт - Bolt (Bolt # ) (Bolt (chrome)) | | 17 шт | 220 руб. |
| 9 | 01550-06257-000 | Болт - Bolt (Bolt) | | под заказ | 180 руб. |
| 10 | 33410-94L00-000 | Катушка зажигания - Coil, Ignition (COIL, IGNITION) | | под заказ | 7680 руб. |
| 11 | 33446-94L00-000 | Высоковольтная защита Cord - Protector, High Tension Cord (PROTECTOR, HIGH TENSION CORD) | | под заказ | 300 руб. |
| 12 | 33542-16H00-000 | Сальник высоковольтного провода - Seal, High Tension Cord (SEAL, HIGH TENSION CORD) | | под заказ | 360 руб. |
| 13 | 09408-00020-000 | Зажим - Clip (Clamp, lead wire # ) (Сигнал) | | под заказ | 130 руб. |
| 14 | 01550-06207-000 | Болт - Bolt (Bolt # ) (Bolt (chrome)) | | 17 шт | 220 руб. |
| 15 | 33510-16H10-000 | Колпачок свечи зажигания - Cap Assy, Spark Plug (Cap assy, spark plug) | | под заказ | 2210 руб. |
| 16 | 33541-16H00-000 | Сальник свечи зажигания - Seal, Spark Plug (SEAL, SPARK PLUG) | | под заказ | 270 руб. |
| 17 | 33920-94L10-000 | Модуль контроля зажигания - Unit, Engine Control (UNIT, ENGINE CONTROL) | | под заказ | 71520 руб. |
| 17 | 33920-94L70-000 | (актуальный код замены) Модуль контроля зажигания - Unit, Engine Control | | под заказ | 71520 руб. |
| 18 | 33925-94L00-000 | Подушка модуля управления двигателем - Cushion, Engine Control Unit (CUSHION, ENGINE CONTROL UNIT) | | под заказ | 830 руб. |
| 19 | 31800-94L00-000 | Реле двигателя электростартера - Relay Assy, Starter Motor (RELAY ASSY, STARTER MOTOR) | | под заказ | 7970 руб. |
| 19 | 31800-94L01-000 | (актуальный код замены) Реле двигателя электростартера - Relay Assy, Starter Motor | | 1 шт | 7970 руб. |
| 20 | 09128-06013-000 | Винт (6x8) - Screw (6x8) (Screw # ) (Bolt (6x8)) | | под заказ | 100 руб. |
| 21 | 08322-01067-000 | Шайба - Washer (Шайба) | | 10 шт | 160 руб. |
Время выполнения запроса 0.79752516746521 сек. |
|