Подобрать оригинальные запчасти на лодочный мотор Сузуки - Oil pump - Масляный насос
вконтакте

Контактный телефон: +7 (981) 121-46-93, +7 (800) 200-90-76 , Email: parts-katalog@yandex.ru, где купить

 
 

  Логин:

Пароль:

Регистрация

www.partskatalog.ru Все каталоги Запчасти Mercury Запчасти Suzuki Запчасти Tohatsu Запчасти Honda Контакты

назад Раздел:   вперёд

Вернуться к выбору узлов мотора


ДЕТАЛИРОВКА ДЛЯ МОДЕЛИ: SUZUKI DF25QRK2(E1) K2

Масляный насос


Год выпуска двигателя: 2002

Номер на
рисунке
АртикулНаименованиеQTYКол-во
на складе
Цена
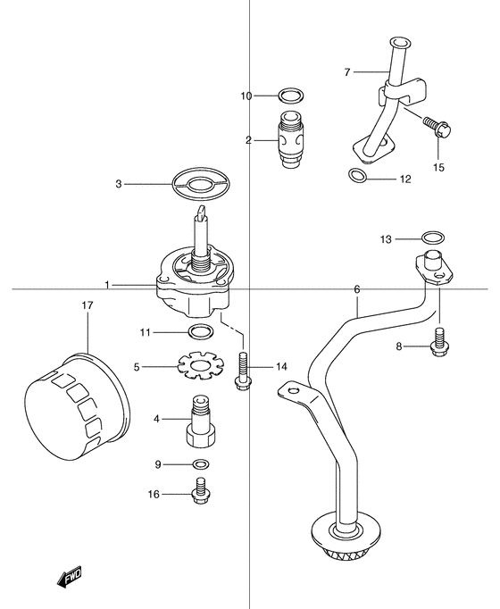
116400-89J00-000

Масляный насос в сборе - Pump Assy, Oil (Насос масляный)

под заказ0 руб.
216440-99E00-000

Клапан сброса масла - Valve Assy, Oil Relief (Клапан)

3 шт4740 руб.
216440-99E01-000

   (актуальный код замены) Клапан сброса масла - Valve Assy, Oil Relief

под заказ4300 руб.
316451-89J00-000

Уплотнительное кольцо, Масляный насос - O Ring, Oil Pump (Кольцо масляного насоса)

под заказ740 руб.
416461-99E00-000

Стопор, Масляный насос - Stopper, Oil Pump (Стопор масляного насоса)

под заказ1590 руб.
516466-99E00-000

Шайба, Масляный насос Стопор - Washer, Oil Pump Stopper (Шайба, масляная помпа, стопор)

под заказ450 руб.
616520-89J00-000

Сетчатый масляный фильтр - Strainer, Oil (Фильтр spule)

под заказ0 руб.
716930-89J02-000

Направляющая масла Рычаг Gauge - Guide, Oil Lever Gauge (Направляющая датчика уровня масла)

под заказ2290 руб.
809116-06160-000

Болт (6x16) - Bolt (6x16) (Bolt (6x16); # ) (Bolt (6x16))

под заказ280 руб.
909168-08016-000

Прокладка (8.2x14x1) - Gasket (82x14x1) (Gasket (8.2x14x1.0) # Gasket (8.2x14x1.0); # ) (Прокладка)

5 шт170 руб.
1009168-16002-000

Прокладка (16x22x2) - Gasket (16x22x2) (Washer (16x22x2.0); # ) (Gasket (16x22x2.0))

1 шт150 руб.
1109168-16003-000

Прокладка (16x22x2) - Gasket (16x22x2) (Gasket (16x22x2.0) # Gasket (16x22x2.0); # ) (Прокладка)

10 шт150 руб.
1209280-09008-000

Уплотнительное кольцо (d: 2.1, Id: 8.8) - O Ring (d:21, Id:88) (O ring (d:2.1, id:8.8) # O ring (d:2.1 id:8.8); # ) (O ring)

16 шт340 руб.
1309280-14011-000

Уплотнительное кольцо (d: 2.5, Id: 13.8) - O Ring (d:25, Id:138) (O ring (d:2.5 id:13.8) # O ring (d:2.5 id:13.8); # ) (O ring)

6 шт360 руб.
1401547-06307-000

Болт - Bolt (Bolt # ) (Bolt (6x30))

под заказ160 руб.
1501550-06127-000

Болт - Bolt (Bolt, rect # ) (Bolt)

10 шт180 руб.
1601550-08127-000

Болт - Bolt (Bolt, clamp # ) (Bolt)

под заказ210 руб.
1716510-87J00-000

Масляный фильтр - Filter Assy, Oil (Filter, oil; # ) (Фильтр масляный)

под заказ1760 руб.
1716510-87J01-000

   (актуальный код замены) Масляный фильтр - Filter Assy, Oil

46 шт2010 руб.


Время выполнения запроса 0.68474102020264 сек.

 
 

данный сайт носит информационный характер и не является публичной офертой

склад запчастей для водомоторной техники