| |
 |
|
 |
Вернуться к выбору узлов мотора
ДЕТАЛИРОВКА ДЛЯ МОДЕЛИ: SUZUKI DF25Q K2
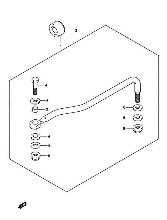
Переключающая тяга
Код модели двигателя: DF25S/L; DF25RS/L; DF25QS/L; DF25TS/L
Год выпуска двигателя: 2002
Цвет: Shadow Black Metallic
Номер на рисунке | Артикул | Наименование | QTY | Кол-во на складе | Цена |
| 1 | 41161-94400-000 | Сальник рулевого кабеля - Seal, Steering Cable (Seal, steering cable # ) (Уплотение кабеля) | | 15 шт | 1530 руб. |
| 2 | 67701-89J20-000 | Рулевая тяга в сборе - Link Assy, Drag (<-7701-89J00 # ) (Тяга рулевого управления) | | 2 шт | 6960 руб. |
| 3 | 67721-89J00-000 | Проставка переключающей тяги - Spacer, Drag Link (Кольцо/шайба) | | под заказ | 1380 руб. |
| 4 | 67725-93E00-000 | Болт крепления рулевого кронштейна - Bolt, Strg Brkt Sub (Bolt, strg brkt sub atch # ) (Bolt) | | под заказ | 680 руб. |
| 5 | 67726-99E00-000 | Блокирующая гайка - Nut, Lock (Nut # ) (Гайка блокирующая) | | 3 шт | 800 руб. |
| 6 | 67728-99E00-000 | Шайба - Washer (Шайба) | | 2 шт | 260 руб. |
Время выполнения запроса 0.61635613441467 сек. |
|