Купить комплектующие на лодочный подвесной мотор SUZUKI DF25S/L; DF25RS/L; DF25QS/L; DF25TS/L - Карбюратор
вконтакте

Контактный телефон: +7 (981) 121-46-93, +7 (800) 200-90-76 , Email: parts-katalog@yandex.ru, где купить

 
 

  Логин:

Пароль:

Регистрация

www.partskatalog.ru Все каталоги Запчасти Mercury Запчасти Suzuki Запчасти Tohatsu Запчасти Honda Контакты

назад Раздел:   вперёд

Вернуться к выбору узлов мотора


ДЕТАЛИРОВКА ДЛЯ МОДЕЛИ: SUZUKI DF25T K3

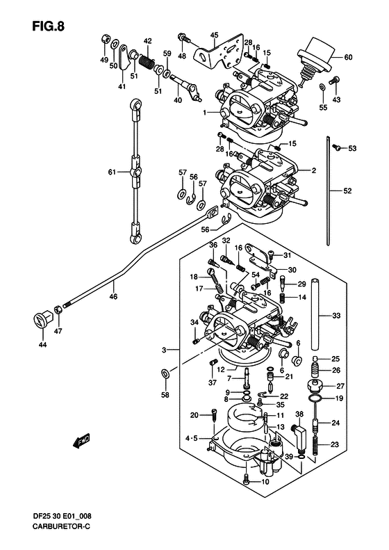
Карбюратор


Код модели двигателя: DF25S/L; DF25RS/L; DF25QS/L; DF25TS/L

Год выпуска двигателя: 2003

Цвет: Shadow Black Metallic

Номер на
рисунке
АртикулНаименованиеQTYКол-во
на складе
Цена
113201-89J40-000

Карбюратор в сборе, Top - Carburetor Assy, Top (DF25 # ) (Карбюратор верхний)

под заказ57120 руб.
113201-89J41-000

   (актуальный код замены) Карбюратор в сборе, Top - Carburetor Assy, Top

под заказ57120 руб.
113201-89J50-000

Карбюратор в сборе, Top - Carburetor Assy, Top (DF30 # ) (Карбюратор верхний)

под заказ57120 руб.
113201-89J51-000

   (актуальный код замены) Карбюратор в сборе, Top - Carburetor Assy, Top

под заказ57120 руб.
213202-89J40-000

Карбюратор в сборе, 2nd - Carburetor Assy, 2nd (DF25 # ) (Карбюратор, второй)

под заказ57120 руб.
213202-89J50-000

Карбюратор в сборе, 2nd - Carburetor Assy, 2nd (DF30 # ) (Карбюратор, второй)

под заказ57120 руб.
313203-89J40-000

Карбюратор в сборе, 3rd - Carburetor Assy, 3rd (DF25 # ) (Карбюратор, третий)

под заказ57120 руб.
313203-89J41-000

   (актуальный код замены) Карбюратор в сборе, 3rd - Carburetor Assy, 3rd

под заказ57120 руб.
313203-89J50-000

Карбюратор в сборе, 3rd - Carburetor Assy, 3rd (DF30 # ) (Карбюратор, третий)

под заказ57120 руб.
313203-89J51-000

   (актуальный код замены) Карбюратор в сборе, 3rd - Carburetor Assy, 3rd

под заказ57120 руб.
413245-89J00-000

Поплавковая камера - Chamber, Float (#1, #2 # ) (Камера плавающая)

под заказ12680 руб.
513245-89J10-000

Поплавковая камера - Chamber, Float (#3 # ) (Камера плавающая)

под заказ12680 руб.
613216-89J00-000

Кольцо - Ring (Ring)

под заказ430 руб.
713235-89J00-000

Главная форсунка - Nozzle, Main (DF25 # ) (Распылитель главный)

под заказ2790 руб.
713235-89J10-000

Главная форсунка - Nozzle, Main (DF30 # ) (Распылитель главный)

под заказ2790 руб.
813239-89J00-000

Заглушка - Plug (Plug)

под заказ650 руб.
913246-43010-000

Уплотнительное кольцо - O Ring (O ring)

под заказ340 руб.
913246-43011-000

   (актуальный код замены) Уплотнительное кольцо - O Ring

под заказ340 руб.
1013249-89J00-000

Винт - Screw (Болт)

под заказ470 руб.
1113250-89J00-000

Поплавок - Float (Поплавок)

под заказ4110 руб.
1213251-95D00-000

Прокладка поплавковой камеры - Gasket, Float Cahmber (Gasket, float chamber # ) (Прокладка камеры)

под заказ1070 руб.
1313254-98300-000

Стопор поплавка - Pin, Float (Pin, float # ) (Штифт карбюратора)

под заказ240 руб.
1413268-92910-000

Пружина - Spring (Spring # ) (Пружина)

под заказ310 руб.
1513268-96111-000

Пружина, Дроссель Винт - Spring, Throttle Screw (Spring, throttle screw # #1, #2 # ) (Пружина)

под заказ350 руб.
1613268-96111-000

Пружина, Дроссель Винт - Spring, Throttle Screw (Spring, throttle screw # #1 (3), #2 (3), #3 (2) # ) (Пружина)

под заказ350 руб.
1713268-89J00-000

Пружина - Spring (#3 # ) (Пружина)

под заказ470 руб.
1813267-89J00-000

Винт - Screw (#3 # ) (Болт)

под заказ0 руб.
1913278-47090-000

Уплотнительное кольцо - O Ring (O ring)

под заказ150 руб.
1913278-47091-000

   (актуальный код замены) Уплотнительное кольцо - O Ring

под заказ150 руб.
2013279-90000-000

Регулятор - Adjuster (Регулятор)

под заказ600 руб.
2113370-95D00-000

Игольчатый клапан, в сборе - Valve Assy, Needle (Valve assy, needle # ) (Клапан)

2 шт5960 руб.
2213373-46710-000

Пластина, Игольчатый клапан Fiting - Plate, Needle Valve Fiting (Plate # ) (Плата клапана)

под заказ390 руб.
2313441-89J00-000

Пружина - Spring (Пружина)

1 шт350 руб.
2413493-89J00-000

Плунжер - Plunger (Плунжер)

под заказ2380 руб.
2513495-09400-000

Колпачок - Cap (Cap)

под заказ250 руб.
2613495-89J00-000

Колпачок - Cap (Cap)

3 шт1090 руб.
2713496-89J00-000

Направляющая Держатель - Guide Holder (Держатель направляющей)

под заказ1630 руб.
2813534-95D00-000

Винт - Screw (#1, #2 # ) (Болт)

под заказ470 руб.
2913534-98900-000

Винт дросселя Stop - Screw, Throttle Stop (Болт)

под заказ470 руб.
3013656-89J00-000

Кронштейн - Bracket (Bracket)

под заказ0 руб.
3113657-89J00-000

Винт - Screw (Болт)

под заказ0 руб.
3213662-89J00-000

Регулятор - Adjuster (Регулятор)

под заказ1410 руб.
3309351-30503-600

Шланг (3x5x600) - Hose (3x5x600) (Hose # #3, L:600->25 # ) (Шланг)

под заказ270 руб.
3309351-30001-600

   (актуальный код замены) Шланг (3x5x600) - Hose (3x5x600)

под заказ270 руб.
3409493-70009-000

Главная форсунка Air (0.7) - Jet, Main Air (07) (Jet, main air (0.7) # ) (Жиклер главный (0.7))

под заказ1380 руб.
3502112-03063-000

Винт - Screw

под заказ120 руб.
3502112-0306B-000

   (актуальный код замены) Винт - Screw

под заказ120 руб.
3502112-0306B-000

Винт - Screw (Болт)

под заказ120 руб.
3609492-38006-000

Контрольная форсунка (38.8) - Jet, Pilot (388) (DF25 # ) (Жиклер (38.8))

под заказ1460 руб.
3609492-40011-000

Контрольная форсунка (40) - Jet, Pilot (40) (DF30 # ) (Жиклер (40))

под заказ1460 руб.
3709491-27019-000

Главная форсунка (135) - Jet, Main (135) (DF25 # ) (Жиклер главный (135))

под заказ1460 руб.
3709493-22011-000

Контрольная форсунка Air (110) - Jet, Pilot Air (110) (Jet, main (110) # DF30 # ) (Жиклер главный (110))

под заказ1380 руб.
3813497-89J00-000

Соединение, Карбюратор - Union, Carburetor (Union comp, carburetor)

1 шт1250 руб.
3913291-63C00-000

Уплотнительное кольцо - O Ring (O ring)

10 шт310 руб.
4013212-89J00-000

Вал - Shaft (Вал)

под заказ5280 руб.
4113213-89J00-000

Рычаг - Lever (Lever)

под заказ1260 руб.
4213214-89J00-000

Пружина - Spring (Пружина)

под заказ830 руб.
4313249-89J10-000

Винт - Screw (Болт)

под заказ590 руб.
4413631-93501-000

Рукоятка стартера - Knob, Starter (Knob, starter # ) (Рукоятка статера)

2 шт460 руб.
4513231-89J00-000

Защита, Карбюратор - Protector, Carburetor (Протектор карбюратора)

под заказ0 руб.
4613413-89J00-000

Тяга - Rod (Штанга)

под заказ0 руб.
4709140-04007-000

Гайка - Nut (Гайка)

под заказ170 руб.
4801550-06127-000

Болт - Bolt (Bolt, rect # ) (Bolt)

10 шт180 руб.
4913607-98300-000

Гайка - Nut (Nut # ) (Throttle lever)

под заказ0 руб.
5009162-06006-000

Шайба с блокировкой - Washer, Lock (Lock washer # <-3614-98300 # ) (Шайба)

под заказ160 руб.
5113216-89J00-000

Кольцо - Ring (Ring)

под заказ430 руб.
5213513-89J00-000

Кабели - Cable (Cable)

под заказ1060 руб.
5313614-89J00-000

Винт - Screw (Болт)

под заказ240 руб.
5413534-89J00-000

Винт - Screw (Болт)

под заказ0 руб.
5513558-09300-000

Шайба - Washer (Шайба)

под заказ0 руб.
5613415-38300-000

Уплотнительное кольцо - E Ring (E ring)

под заказ130 руб.
5713445-14A00-000

Прокладка - Gasket (Gasket # ) (Шайба)

под заказ240 руб.
5813539-89J00-000

Регулировочная шайба - Shim (Шайба)

под заказ700 руб.
5913555-87C00-000

Прокладка - Packing (Packing)

под заказ280 руб.
6013431-89J00-000

Dash Pot в сборе - Dash Pot Assy (Бак)

под заказ17280 руб.
6113510-89J00-000

Тяга управления дросселем - Rod, Throttle Control (Штанга дросселя)

2 шт2990 руб.
6213910-89J01-000

Ремкомплект карбюратора - Repair Kit, Carburetor (OPT DRAWING NOT SHOWN # ) (Ремкомплект карбюратора)

3 шт8840 руб.


Время выполнения запроса 4.0573070049286 сек.

 
 

данный сайт носит информационный характер и не является публичной офертой

склад запчастей для водомоторной техники