Купить запчасти на лодочный подвесной мотор Suzuki DF25S/L; DF25RS/L; DF25QS/L; DF25TS/L модель 2005 года - Swivel bracket
вконтакте

Контактный телефон: +7 (981) 121-46-93, +7 (800) 200-90-76 , Email: parts-katalog@yandex.ru, где купить

 
 

  Логин:

Пароль:

Регистрация

www.partskatalog.ru Все каталоги Запчасти Mercury Запчасти Suzuki Запчасти Tohatsu Запчасти Honda Контакты



УВАЖАЕМЫЕ КЛИЕНТЫ!
C 19 ДЕКАБРЯ 2025 ПО 02 МАРТА 2026 ГОДА ОТДЕЛ ЗАПЧАСТЕЙ И СЕРВИС РАБОТАТЬ НЕ БУДУТ
ПРОДАЖА ЛОДОЧНЫХ МОТОРОВ В ШТАТНОМ РЕЖИМЕ
ОБ ИЗМЕНЕНИЯХ В ГРАФИКЕ РАБОТЫ ЧИТАЙТЕ НА САЙТА



назад Раздел:   вперёд

Вернуться к выбору узлов мотора


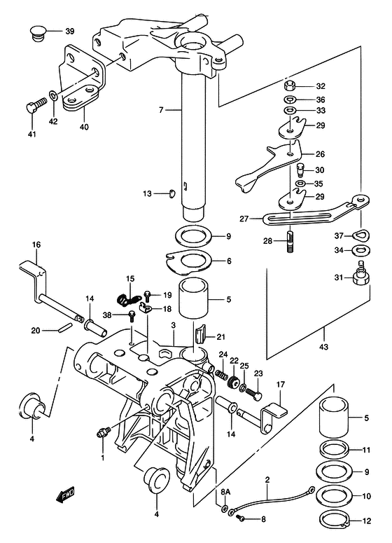
ДЕТАЛИРОВКА ДЛЯ МОДЕЛИ: SUZUKI DF25Q K5

Поворотный кронштейн


Код модели двигателя: DF25S/L; DF25RS/L; DF25QS/L; DF25TS/L

Год выпуска двигателя: 2005

Цвет: Shadow Black Metallic

Номер на
рисунке
АртикулНаименованиеQTYКол-во
на складе
Цена
122511-99010-000

Ниппель смазки - Nipple, Grease

под заказ340 руб.
122511-99011-000

   (актуальный код замены) Ниппель смазки - Nipple, Grease

9 шт400 руб.
122511-99011-000

Ниппель смазки - Nipple, Grease (Ниппель)

9 шт400 руб.
236894-94401-000

Lead (l: 195) - Lead (l:195) (Lead (l, ll) # ) (Провод)

под заказ1170 руб.
236894-95201-000

Lead (l: 165) - Lead (l:165) (Lead # ) (Провод)

под заказ1170 руб.
343110-89J10-0EP

Кронштейн Set, Swivel S - Bracket Set, Swivel S (<-3111-89J10-0EP ->3100-89810-0EP CONTENTS BRACKET, SWIVEL ADJUSTER & PLATE SET (FOR TYPE:Q) PLUG (FOR TYPE:T) # )

под заказ0 руб.
343100-89812-0EP

   (актуальный код замены) Запчасть снята с производства - The Spare Part Is Laid Off

под заказ0 руб.
343100-89812-0EP

Кронштейн Set, Swivel S - Bracket Set, Swivel S (Bracket set, swivel (s))

под заказ0 руб.
343110-89J40-0EP

Кронштейн Set, Swivel L - Bracket Set, Swivel L (<-3111-89J00-0EP ->3100-89820-0EP CONTENTS BRACKET, SWIVEL ADJUSTER & PLATE SET (FOR TYPE:Q) PLUG (FOR TYPE:T) # )

под заказ0 руб.
343100-89822-0EP

   (актуальный код замены) Запчасть снята с производства - The Spare Part Is Laid Off

под заказ0 руб.
343100-89822-0EP

Кронштейн Set, Swivel L - Bracket Set, Swivel L (Bracket set, swivel (l) (black))

под заказ0 руб.
443211-94401-000

Втулка поворотного кронштейна - Bush, Swivel Bracket

под заказ1450 руб.
443211-87JL0-000

   (актуальный код замены) Втулка поворотного кронштейна - Bush, Swivel Bracket

8 шт1770 руб.
443211-87JL0-000

Втулка поворотного кронштейна - Bush, Swivel Bracket (Bush, swivel bracket)

8 шт1770 руб.
4SK43211-87JL0

   (не оригинальный аналог) Втулка поворотного механизма Skipper для Suzuki DT9,9-15/ DF9,9-DF30a

0 шт148 руб.
543711-89J10-000

Втулка рулевой системы - Bush, Steering (<-3711-89J00 # ) (Втулка управления)

23 шт1430 руб.
643721-89J00-000

Пластина рулевого управления вышеr - Plate, Steering Upr (Плата верхняя)

под заказ700 руб.
743750-89J00-0EP

Кронштейн рулевого управления - Bracket, Steering

под заказ48480 руб.
743750-89J01-0EP

   (актуальный код замены) Кронштейн рулевого управления - Bracket, Steering

под заказ48480 руб.
743750-89J01-0EP

Кронштейн рулевого управления - Bracket, Steering (Bracket, steering (l) (black))

под заказ48480 руб.
743750-89J10-0EP

Кронштейн рулевого управления - Bracket, Steering (Bracket, steering (s) (black) # ) (Кронштейн управления (S) (чёрный))

под заказ35040 руб.
809125-05050-000

Винт (5x8) - Screw (5x8) (Screw # ) (Винт 5X8)

под заказ150 руб.
809161-05114-000

Шайба (5.2x11x1) - Washer (52x11x1) (Washer (5.2x11.0x1.0) # ~MODEL:01 # ) (Шайба)

под заказ290 руб.
909160-39002-000

Шайба (39.5x58x1) - Washer (395x58x1) (Шайба)

27 шт390 руб.
1009160-39003-000

Шайба (39.5x58x0.3) - Washer (395x58x03) (Шайба)

8 шт390 руб.
1109282-39001-000

Сальник (39x51x5) - Seal, Oil (39x51x5) (Seal, oil # ) (Сальник 39X51X)

22 шт690 руб.
1209380-38003-000

Стопорное кольцо - Circlip (Circlip)

5 шт600 руб.
1309420-05003-000

Ключ - Key (Ключ)

под заказ600 руб.
1441226-97E00-000

Втулка рычаша блокировки наклона - Bush, Tilt Lock Lever (Bush, tilt lock lever # ) (Втулка ручки блокировки)

2 шт490 руб.
1541230-97E10-000

Пружина фиксатора наклона - Spring, Tilt Lock (Spring, tilt lock # ) (Пружина)

под заказ2280 руб.
1641270-89J00-000

Набор рычагов, Tilt Lock - Lever Set, Tilt Lock (->1200-89800 # )

под заказ0 руб.
1641200-89802-000

   (актуальный код замены) Запчасть снята с производства - The Spare Part Is Laid Off

под заказ0 руб.
1641200-89802-000

Набор рычагов, Tilt Lock - Lever Set, Tilt Lock (Lever set, tilt lock)

под заказ0 руб.
1641270-89J01-000

Правый рычаг блокировки наклона - Lever, Tilt Lock Stbd (DF25:151260~ DF30:151400~ # )

под заказ4850 руб.
1641270-89J04-000

   (актуальный код замены) Правый рычаг блокировки наклона - Lever, Tilt Lock Stbd

под заказ4850 руб.
1641270-89J04-000

Правый рычаг блокировки наклона - Lever, Tilt Lock Stbd (Lever, tilt lock stbd)

под заказ4850 руб.
1741280-89J00-000

Запчасть снята с производства - The Spare Part Is Laid Off (->1200-89800 # )

под заказ0 руб.
1741280-89J01-000

Левый рычаг блокировки наклона - Lever, Tilt Lock Port (DF25:151260~ DF30:151400~ # )

под заказ3630 руб.
1741280-89J04-000

   (актуальный код замены) Левый рычаг блокировки наклона - Lever, Tilt Lock Port

под заказ3630 руб.
1741280-89J04-000

Левый рычаг блокировки наклона - Lever, Tilt Lock Port (Lever, tilt lock port)

под заказ3630 руб.
1845731-96311-000

Кронштейн, Пружина - Bracket, Spring

под заказ530 руб.
1845731-96312-000

   (актуальный код замены) Кронштейн, Пружина - Bracket, Spring

под заказ530 руб.
1845731-96312-000

Кронштейн, Пружина - Bracket, Spring (Bracket, spring)

под заказ530 руб.
1909116-06094-000

Болт (6x15) - Bolt (6x15) (Bolt (6x15) # ) (Болт 6X15)

20 шт270 руб.
2009205-03012-000

Стопор пружины (3x16) - Pin, Spring (3x16) (Pin, gear # ) (Штифт L:16)

12 шт190 руб.
2143417-89J00-000

Регулировка рулевой системы - Adjuster, Steering (Регулятор управления)

под заказ1300 руб.
2243412-93900-000

Крышка регулировки рулевой системыer - Cover, Steering Adjuster (Cover, steering adjust # ) (Крышка регулятора)

под заказ340 руб.
2243412-93901-000

   (актуальный код замены) Крышка регулировки рулевой системыer - Cover, Steering Adjuster

под заказ340 руб.
2309100-08227-000

Болт (8x27) - Bolt (8x27) (Bolt # ) (Болт)

под заказ0 руб.
2409440-11022-000

Пружина - Spring (Пружина)

под заказ160 руб.
2509160-08091-000

Шайба (8.5x14x1.0) - Washer (85x14x10) (Washer (8.5x14x1.0) # ) (Шайба)

7 шт130 руб.
2643411-89J00-000

Регулировка рулевой системы - Adjuster, Steering (TYPE:Q # )

под заказ0 руб.
2643411-89J90-000

   (актуальный код замены) Запчасть снята с производства - The Spare Part Is Laid Off

под заказ0 руб.
2643411-89J90-000

Регулировка рулевой системы - Adjuster, Steering (Adjuster, steering)

под заказ0 руб.
2743415-89J00-000

Пластина рулевого управления Регулятор - Plate, Steering Adjuster (TYPE:Q # ) (Плата регулятора)

под заказ2180 руб.
2843512-89J00-000

Вал, Рулевая система Lock - Shaft, Steering Lock (TYPE:Q # ) (Вал)

под заказ0 руб.
2843512-89J90-000

   (актуальный код замены) Запчасть снята с производства - The Spare Part Is Laid Off

под заказ0 руб.
2943514-89J00-000

Пластина рулевого управления Lock - Plate, Steering Lock (TYPE:Q # ) (Плата)

под заказ830 руб.
3009111-06064-000

Болт (6x17) - Bolt (6x17) (Bolt, clutch control arm # TYPE:Q # ) (Bolt)

15 шт860 руб.
3109111-10032-000

Болт (10x20.5) - Bolt (10x205) (TYPE:Q # )

под заказ400 руб.
3109111-10067-000

   (актуальный код замены) Болт (10x20.5) - Bolt (10x20.5)

2 шт430 руб.
3109111-10067-000

Болт (10x20.5) - Bolt (10x205) (Bolt, 10x20.4)

2 шт430 руб.
3209159-10104-000

Гайка - Nut (Nut # TYPE:Q # ) (Гайка)

под заказ0 руб.
3309160-10098-000

Шайба (10x18x1) - Washer (10x18x1) (Washer, handle brkt # TYPE:Q # ) (Шайба)

под заказ170 руб.
3409160-12067-000

Шайба (12.5x23x1) - Washer (125x23x1) (Washer, emergency sw # TYPE:Q # ) (Шайба)

8 шт230 руб.
3509160-06082-000

Шайба (6.5x13x1.0) - Washer (65x13x10) (Washer # TYPE:Q # ) (Шайба)

7 шт150 руб.
3609161-10002-000

Шайба (10.2x18x1) - Washer (102x18x1) (Lock washer (10.2x18x1.0) # TYPE:Q # ) (Шайба блокирующая (10.2X18X1.0))

под заказ130 руб.
3709164-14008-000

Шайба - Washer (Washer, wave # TYPE:Q # ) (Шайба)

10 шт190 руб.
3809116-06127-000

Болт (6x12) - Bolt (6x12) (Bolt (6x12) # TYPE:QR/T # ) (Болт 6X12)

1 шт290 руб.
3909250-09001-000

Колпачок (od: 14) - Cap (od:14) (Plug # TYPE QR/T # ) (Cap)

под заказ150 руб.
3909250-09008-000

   (актуальный код замены) Колпачок (od: 14) - Cap (od:14)

под заказ150 руб.
4043755-89J00-000

Соединитель кронштейна рулевой системы - Attachment, Steering Bracket (TYPE:QR/T # )

под заказ2790 руб.
4043755-89J01-000

   (актуальный код замены) Соединитель кронштейна рулевой системы - Attachment, Steering Bracket

под заказ2790 руб.
4043755-89J01-000

Соединитель кронштейна рулевой системы - Attachment, Steering Bracket (Attachment, steering brkt)

под заказ2790 руб.
4109100-10270-000

Болт (10x25) - Bolt (10x25) (Bolt, strg brkt attachment (10x25) # TYPE:QR/T # ) (Bolt (10x25))

под заказ1500 руб.
4209162-10005-000

Шайба с блокировкой - Washer, Lock (Lock washer # TYPE:QR/T # ) (Washer lock)

под заказ130 руб.
4343401-89J00-000

Регулятор Kit, Рулевая система - Adjuster Kit, Steering (OPT TYPE:Q REF.NO.26~37 # ) (Комплект для регулятора)

под заказ0 руб.


Время выполнения запроса 4.9509768486023 сек.

 
 

данный сайт носит информационный характер и не является публичной офертой

склад запчастей для водомоторной техники