| |
 |
|
 |
Вернуться к выбору узлов мотора
ДЕТАЛИРОВКА ДЛЯ МОДЕЛИ: SUZUKI DF25RSK6(E1) K6
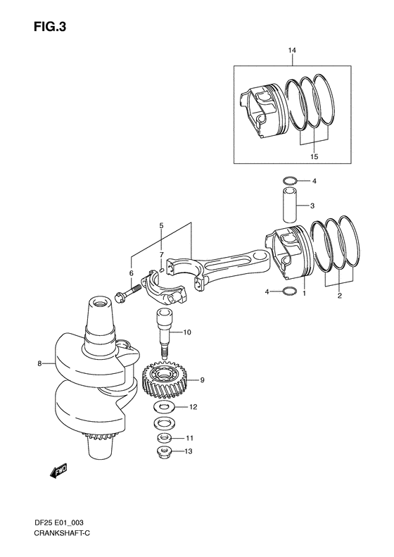
Коленвал
Код модели двигателя: DF25S/L; DF25RS/L; DF25QS/L; DF25TS/L
Год выпуска двигателя: 2006
Регион: General Export No.1 ,Код региона: P01
Цвет: Shadow Black Metallic
Номер на рисунке | Артикул | Наименование | QTY | Кол-во на складе | Цена |
| 1 | 12111-95J00-0B0 | Поршень - Piston (Piston) | | 2 шт | 7970 руб. |
| 2 | 12140-75F30-000 | Поршневые кольца - Ring Set, Piston (Кольца поршневые) | | 10 шт | 8210 руб. |
| 3 | 12151-54A50-000 | Поршневой палец - Pin, Piston (Палец поршня) | | 24 шт | 1350 руб. |
| 4 | 09381-17005-000 | Стопорное кольцо - Circlip (Circlip) | | под заказ | 160 руб. |
| 5 | 12160-95J01-0A0 | Шатун в сборе - Connecting Rod Assy (Red # ) (Шатун) | | 1 шт | 15560 руб. |
| 5 | 12160-95J01-0B0 | Шатун в сборе - Connecting Rod Assy (No paint # ) (Шатун) | | 2 шт | 16850 руб. |
| 6 | 12163-32C00-000 | Болт шатуна - Bolt, Connecting Rod (Болт) | | под заказ | 470 руб. |
| 6 | 12163-69J00-000 | Болт шатуна - Bolt, Connrod (Df25:011128~ # ) (Bolt, connrod) | | под заказ | 240 руб. |
| 7 | 04221-03059-000 | Штифт - Pin (Pin, connrod knock; # ) (Pin) | | под заказ | 120 руб. |
| 8 | 12220-95J00-0B0 | Коленвал - Crankshaft (Вал коленчатый) | | под заказ | 103680 руб. |
| 9 | 12730-95J10-000 | Шестерня в сборе, Idle - Gear Assy, Idle (Шестерня) | | под заказ | 30720 руб. |
| 10 | 12735-95J10-000 | Вал, Idle Шестерня - Shaft, Idle Gear (Вал шестерни) | | под заказ | 4300 руб. |
| 11 | 09160-08122-000 | Шайба (8.5x18x3.20) - Washer (85x18x320) (Washer, idle gear shaft no.2 (8.5x18x3.2) # Washer, idle gear shaft no.2 (8.5x18x3.2); # ) (Шайба) | | под заказ | 170 руб. |
| 12 | 09160-12067-000 | Шайба (12.5x23x1) - Washer (125x23x1) (Washer, emergency sw # Washer, idle gear shaft no.1 (12.5x23x1); # ) (Шайба) | | 8 шт | 230 руб. |
| 13 | 08316-1008A-000 | Гайка - Nut (Nut, idle gear shaft # Nut, idle gear shaft; # ) (Гайка вала) | | под заказ | 170 руб. |
| 14 | 12100-95J00-050 | Комплект поршня (os: 0.5) - Piston Set (os:05) (Piston set (os:0.50); Opt # ) (Piston set (os:0.50)) | | под заказ | 14690 руб. |
| 15 | 12140-75F30-050 | Поршневые кольца Os: 0.50 - Ring Set, Piston Os:050 (Ring set, piston (os:0.50); Opt # ) (Кольца поршневые) | | под заказ | 8210 руб. |
Время выполнения запроса 4.1451201438904 сек. |
|