УВАЖАЕМЫЕ КЛИЕНТЫ! C 19 ДЕКАБРЯ 2025 ПО 02 МАРТА 2026 ГОДА ОТДЕЛ ЗАПЧАСТЕЙ И СЕРВИС РАБОТАТЬ НЕ БУДУТ ПРОДАЖА ЛОДОЧНЫХ МОТОРОВ В ШТАТНОМ РЕЖИМЕ ОБ ИЗМЕНЕНИЯХ В ГРАФИКЕ РАБОТЫ ЧИТАЙТЕ НА САЙТА
Раздел:
Catalog preface - Каталог
Catalog preface - Каталог
Color chart - Таблица цветов
Cylinder head - Головка блока цилиндра
Cylinder block - Блок цилиндра
Crankshaft - Коленвал
Camshaft - Распределительный вал
Intake manifold - Впускной коллектор
Carburetor - Карбюратор
Magneto cover / recoil starter / silencer - Крышка магнето / Барабанный стартер / Глушитель
Fuel pump - Топливный насос
Water pump - Водяной насос
Thermostat - Термостат
Throttle control - Управление дросселем
Throttle control - Управление дросселем для Type: r
Oil pump - Масляный насос
Oil pan - Масляный поддон
Clutch shaft - Сцепление Вал
Clutch shaft - Сцепление Вал для Type: r
Clutch rod - Тяга сцепления
Drive shaft - Корпус вала передачи
Starting motor - Двигатель электростартера
Magneto - Магнето
Rectifier / ignition coil - Выпрямитель / Катушка зажигания
Sensor / switch - Датчики и переключатели
Harness - Жгут проводов
Clamp bracket - Кронштейн транца
Swivel bracket - Поворотный кронштейн
Drive shaft housing - Корпус вала передачи
Gear case - Картер коробки передач
Side cover - Боковая крышка
Engine cover - Крышка двигателя (капот) для Model: 06~09
Engine cover - Крышка двигателя (капот) для Model: 10~
Tiller handle - Румпель
Fuel tank - Топливный бак для Resin
Remocon cable - Кабель дистанционного управления для Type: r
Drag link - Переключающая тяга для Type: r
Remote control box - Дистанционное управление в сборе
Meter - Прибор для Optional;
Switch - Переключатель для Optional;
Top mount single - одинарное, монтаж сверху для Optional;
Top mount single - одинарное, монтаж сверху для Optional;
Concealed remocon - Concealed remocon для Optional;
Concealed remocon - Concealed remocon для Optional;
Remocon attachment - Фиксатор дистанционного управления для Optional;
Electrical - Электрика для Optional;
Harness - Жгут проводов для Optional;
Starting motor - Двигатель электростартера для Optional;
Remocon parts set - Установочный комплект дистанционного управления для Optional;
Gasket set - Комплект прокладок для Optional;
Вернуться к выбору узлов мотора
ДЕТАЛИРОВКА ДЛЯ МОДЕЛИ: SUZUKI DF25RSK7(E1) K7
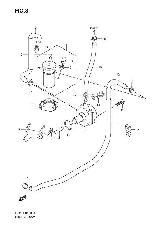
Топливный насос
Код модели двигателя: DF25S/L; DF25RS/L; DF25QS/L; DF25TS/L
Год выпуска двигателя: 2007
Регион: General Export No.1 ,Код региона: P01
Цвет: Shadow Black Metallic
Номер на рисунке Артикул Наименование QTY Кол-во на складе Цена
1 15100-95J01-000 Топливный насос, в сборе - Pump Assy, Fuel
под заказ 19010 руб.
1 15100-95J04-000 (актуальный код замены) Топливный насос, в сборе - Pump Assy, Fuel
1 шт 19010 руб.
1 15100-95J03-000 Топливный насос, в сборе - Pump Assy, Fuel (Pump assy, fuel )
под заказ 19010 руб.
1 15100-95J04-000 (актуальный код замены) Топливный насос, в сборе - Pump Assy, Fuel
1 шт 19010 руб.
2 15131-99E00-000 Тяга топливного насоса - Rod, Fuel Pump (Штанга топливного насоса )
1 шт 620 руб.
3 15192-95J11-000 Топливный шланг (Фильтр To Помпа) - Hose, Fuel (filter To Pump) (Hose, fuel (filter to pump); # ) (Hose, fuel (filter to pump) )
под заказ 2120 руб.
4 15410-87J30-000 Топливный фильтр - Filter, Fuel (Фильтр топливный )
167 шт 2100 руб.
5 15419-87J00-000 Колпачок топливного фильтра - Cap, Fuel Filter (Стакан топливного фильтра )
под заказ 640 руб.
6 09401-11423-000 Зажим - Clip (Clip )
7 шт 210 руб.
7 15421-95J00-000 Кронштейн топливного фильтра - Bracket, Fuel Filter (Кронштейн топливного фильтра )
под заказ 700 руб.
8 15422-96J00-000 Струбцина топливного фильтра - Clamp, Fuel Filter (Clamp, filter # ) (Струбцина фильтра )
под заказ 730 руб.
8 15422-96J01-000 (актуальный код замены) Струбцина топливного фильтра - Clamp, Fuel Filter
под заказ 730 руб.
9 18498-99E10-000 Защита топливного шланга (610) - Protector, Fuel Hose (610) (Protector, fuel hose # Protector, fuel hose; L:610->60 # ) (Протектор топливный )
под заказ 1110 руб.
9 18498-99E11-000 (актуальный код замены) Защита топливного шланга (610) - Protector, Fuel Hose (610)
под заказ 1110 руб.
10 18498-96J20-000 Защита топливного шланга (370) - Protector, Fuel Hose (370) (Protector, fuel hose; L:370->10 # ) (Protector (13.5x16.5x370) )
под заказ 730 руб.
10 18498-96J21-000 (актуальный код замены) Защита топливного шланга (370) - Protector, Fuel Hose (370)
под заказ 730 руб.
11 09280-26005-000 Уплотнительное кольцо (d: 2.4, Id: 26.2) - O Ring (d:24, Id:262) (O ring (d:2.4, id:26.2) # O ring, fuel pump (id:26.2, dd:2.4); # ) (O ring (dd:2.4, id:26.2) )
11 шт 200 руб.
12 09355-70129-00B Шланг (7x12x2000) - Hose (7x12x2000) (Hose (pump to separator) # Hose, fuel (conn to filter) (7x12x2000); L:2000->20 # ) (Hose (filter to pump) )
под заказ 12480 руб.
12 09343-70503-00B Шланг (7x12x2000) - Hose (7x12x2000) (Hose, fuel (conn to filter) (7x12x2000); Df25:110001~ # ) (Hose, 7x12x2000 )
под заказ 10370 руб.
13 15193-95J11-000 Топливный шланг (от насоса к карбюратору) - Hose, Fuel (pump To Carb) (Hose, fuel (pump to carb); # ) (Hose, fuel (pump to carb) )
под заказ 2250 руб.
14 09401-11423-000 Зажим - Clip (Clip )
7 шт 210 руб.
15 09401-10412-000 Зажим - Clip (Clip )
8 шт 190 руб.
16 09401-12412-000 Зажим - Clip (Clip )
под заказ 190 руб.
17 09408-00069-000 Зажим - Clip (Clip # Clamp (id:16.5, id:8); # ) (Clamp (id:16.5, id:8) )
под заказ 240 руб.
18 09408-00105-000 Струбцина - Clamp (Clamp # Clamp (id:17.5, id:11.5); # ) (Струбцина шланга )
под заказ 390 руб.
19 01550-06127-000 Болт - Bolt (Bolt, rect # Bolt, fuel filter bracket; # ) (Bolt )
10 шт 180 руб.
20 01550-06257-000 Болт - Bolt (Bolt, fuel pump; # ) (Bolt )
под заказ 180 руб.
Время выполнения запроса 1.7100691795349 сек.